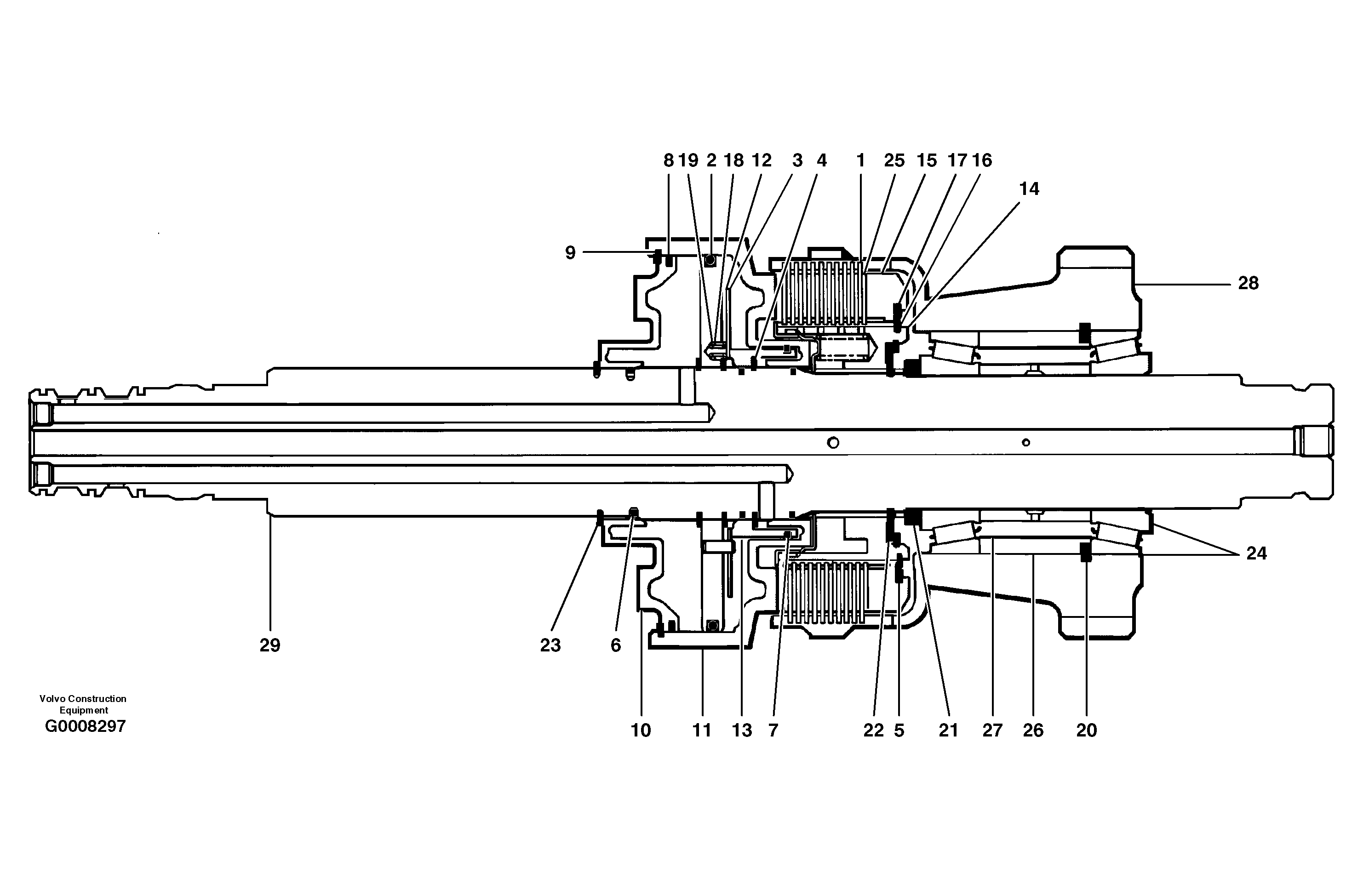
Запчасти Volvo G700B MODELS S/N 35000 - 62648 Reverse clutch and shaft

Схема запчастей Volvo G700B MODELS S/N 35000 - - 62648 Reverse clutch and shaft
FIT
1:1
100%

Артикул

Название

Примечание

Количество

CH 63166

Ремкомплект

for 68150, clutch pack

1шт.

CH 85393

Комплект подшипника

1шт.

CH 85393

Комплект подшипника

1шт.

CH 85394

Sealing Kit

1шт.

CH 68150

Clutch

CPL, INCL 1 - 29

1шт.

1

CH 11299

Пластина

Externally splined

1шт.

10

CH 37848

Поршень

Clutch

1шт.

11

CH 37849

Картер (корпус)

Piston

1шт.

12

CH 41074

Reinforcing disc

Reinforcing

1шт.

13

CH 68164

Поршень

Accelerating

1шт.

14

CH 41077

Ступица

CPL, INCL the following

1шт.

15

CH 41080

Пластина

Clutch backing

1шт.

16

CH 41081

Retaining ring

1шт.

17

CH 41082

Retaining ring

1шт.

18

CH 41084

Пружина

Outer

1шт.

19

CH 41085

Пружина

Inner

1шт.

2

CH 68148

Кольцо уплотнительное (О-кольцо)

1шт.

20

CH 41098

Retaining ring

1шт.

21

CH 41102

Вставка

1шт.

22

CH 41104

Тарелка клапана

1шт.

23

CH 41105

Retaining ring

1шт.

24

CH 41504

Подшипник

CPL

1шт.

25

CH 53950

Disc

Internally splined

1шт.

26

CH 63159

Вставка

1шт.

27

CH 63160

Вставка

1шт.

28

CH 63161

Gear

CPL

1шт.

29

CH 63164

Clutch shaft

CPL, INCL the following

1шт.

3

CH 11305

Клапан

Valve

1шт.

4

CH 11307

Retaining ring

1шт.

5

CH 11314

Retaining ring

1шт.

6

CH 11316

Piston ring

1шт.

7

CH 11319

Кольцо уплотнительное

1шт.

8

CH 11322

Сальник

1шт.

9

CH 11324

Retaining ring

1шт.

Выбрано товаров: 34