Запчасти Volvo G700B MODELS S/N 35000 - 101555 Front axle drag link

Схема запчастей Volvo G700B MODELS S/N 35000 - - 101555 Front axle drag link
FIT
1:1
100%

Артикул

Название

Примечание

Количество

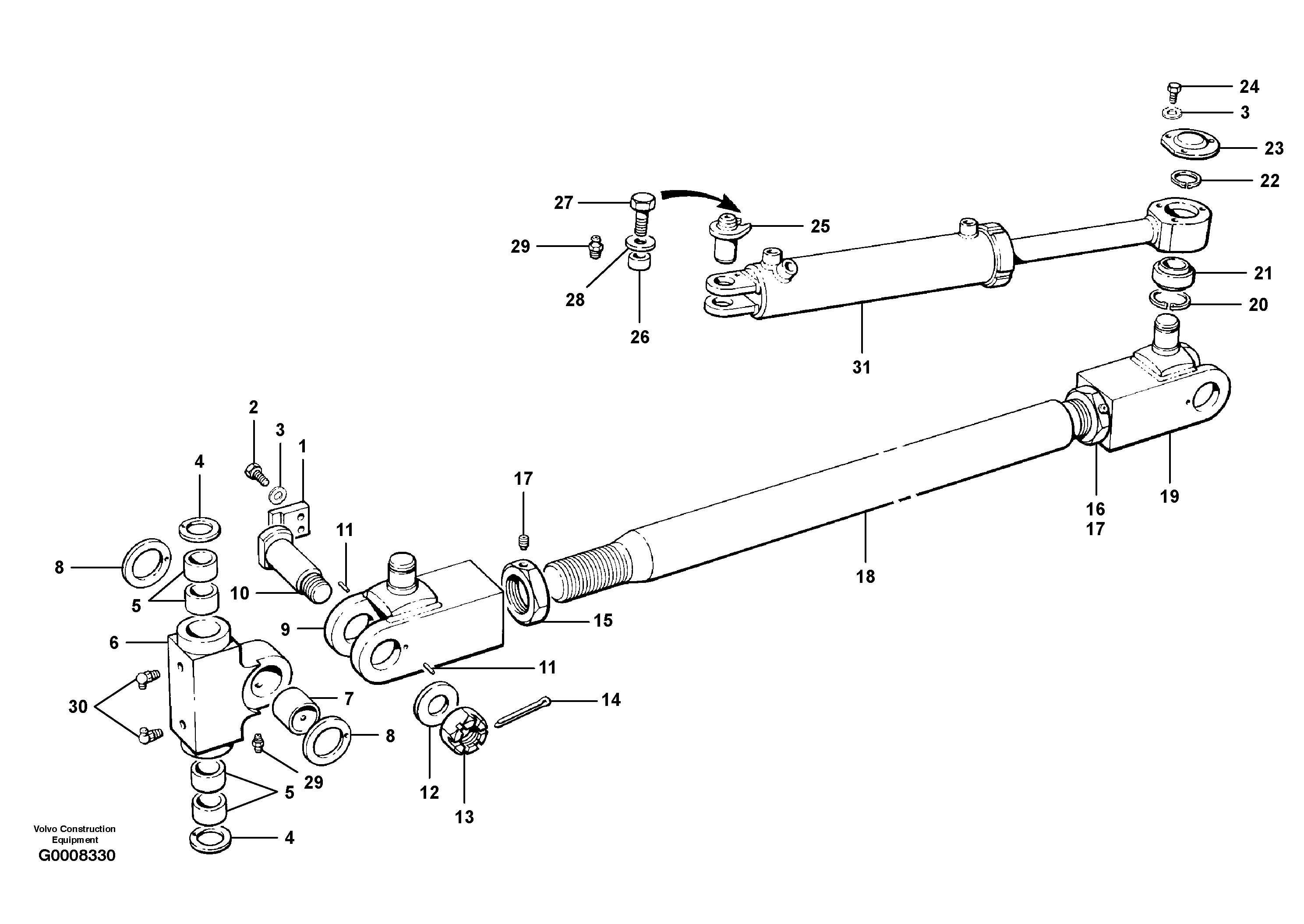
CH 62494

Nut set

CPL, INCL 15, 17

1шт.

CH 87199

Nut set

CPL, INCL 15, 17

1шт.

1

CH 87303

Tab

1шт.

1

CH 87303

Tab

1шт.

10

CH 87180

Pivot Pin

Pivot block

1шт.

11

CH 13C-0611

Spring pin

1шт.

12

CH 14C-24ZI

Шайба

1шт.

12

CH 14C-24ZI

Шайба

1шт.

13

CH 31H-24ZI

Гайка

1шт.

14

CH 13A-1248

Cotter Pin

1шт.

15

CH 87191

Гайка

L.H

1шт.

16

CH 62495

Гайка

1шт.

17

CH 62497

Setscrew

1шт.

18

VOE 12732823

Steering Rod

1шт.

19

CH 87184

Вилка

R.H

1шт.

2

CH 50A-0508ZI

Винт шестигранник

1шт.

2

CH 50A-0508ZI

Винт шестигранник

1шт.

20

CH 19B-244

Retaining ring

1шт.

21

CH 19629

Подшипник

1шт.

22

CH 19C-137

Retaining ring

1шт.

23

CH 62584

Cap

Grease retainer

1шт.

24

CH 50A-0405ZI

Винт шестигранник

1шт.

24

CH 50A-0405ZI

Винт шестигранник

1шт.

25

CH 80096

цилиндр контактный

Steering cylinder

1шт.

26

CH 80025

Втулка

1шт.

27

CH 50A-0812ZI

Винт шестигранник

1шт.

27

CH 50A-0812ZI

Винт шестигранник

1шт.

28

VOE 983337

Шайба

1шт.

28

VOE 983337

Шайба

1шт.

29

CH 29A-02

Grease Fitting

1шт.

3

VOE 983334

Шайба

1шт.

3

VOE 983334

Шайба

1шт.

30

CH 29B-02

Grease nipple

1шт.

30

CH 29B-02

Grease nipple

1шт.

4

CH 87190

Шайба упорная

1шт.

5

CH 87361

Втулка

1шт.

6

CH 87186

Корпус клапана

1шт.

7

CH 87187

Втулка

1шт.

8

CH 87188

Шайба упорная

1шт.

9

CH 87183

Вилка

L.H

1шт.

Выбрано товаров: 40