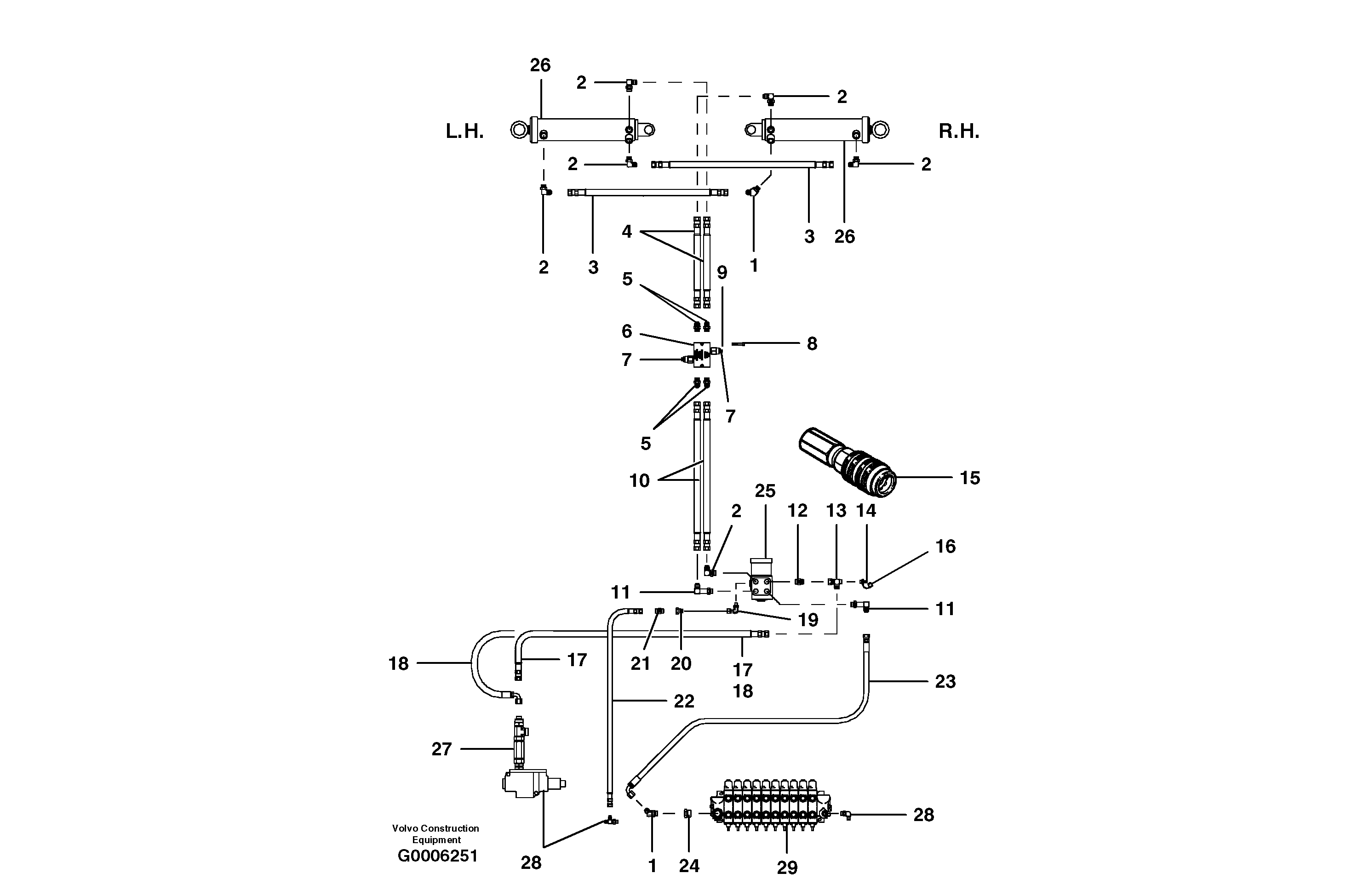
Запчасти Volvo G700B MODELS S/N 35000 - 18387 Supplemental steering circuit - main - standard

Схема запчастей Volvo G700B MODELS S/N 35000 - - 18387 Supplemental steering circuit - main - standard
FIT
1:1
100%

Артикул

Название

Примечание

Количество

CH 97860

Kit

1 per, cartridge, for

1шт.

1

CH 111A-0808

Elbow

1шт.

1

CH 111A-0808

Elbow

1шт.

10

CH 74106X154

Hose assembly

1шт.

11

CH 111Q-0808

Elbow nipple

1шт.

11

CH 111Q-0808

Elbow nipple

1шт.

12

CH 89202

Клапан

1шт.

13

VOE 12725289

Elbow

1шт.

14

CH 97712

Nipple

Male

1шт.

14

CH 97712

Nipple

Male

1шт.

15

CH 97714

Testing Nipple

1шт.

15

CH 97714

Testing Nipple

1шт.

16

CH 97744

Dust Cap

1шт.

16

CH 97744

Dust Cap

1шт.

17

VOE 12730315

Hose assembly

MODEL G710B - G740B

1шт.

18

VOE 12731383

Hose assembly

MODEL G780B

1шт.

19

VOE 12726926

Elbow

1шт.

2

CH 111B-0808

Elbow nipple

1шт.

2

CH 111B-0808

Elbow nipple

1шт.

20

VOE 935282

Reduction nipple

1шт.

20

VOE 935282

Reduction nipple

1шт.

21

VOE 12725723

Клапан обратный

1шт.

22

VOE 12725657

Hose assembly

Load sense

1шт.

22

VOE 12725657

Hose assembly

Load sense

1шт.

23

VOE 12735374

Hose assembly

1шт.

24

CH 111R-1208

Reducer

1шт.

3

CH 74106X24

Hose assembly

MODEL G710B - G740B

1шт.

3

CH 9313X25

Hose assembly

MODEL G780B

1шт.

4

CH 9313X18

Hose assembly

1шт.

5

CH 111E-0808

Соединитель

1шт.

6

CH 97769

Клапан предохранительный (разгрузочный, сброса давления)

CPL, INCL 7

1шт.

7

CH 97859

Cartridge

1шт.

8

CH 50A-0514ZI

Винт шестигранник

1шт.

8

CH 50A-0514ZI

Винт шестигранник

1шт.

9

VOE 983334

Шайба

1шт.

9

VOE 983334

Шайба

1шт.

Выбрано товаров: 36