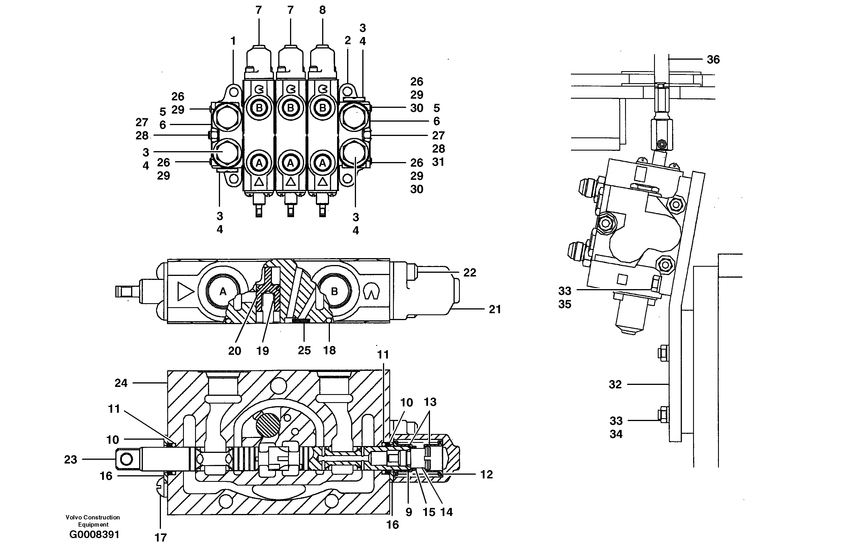
Запчасти Volvo G700B MODELS S/N 35000 - 9838 Auxiliary manifold valve - 3 bank

Схема запчастей Volvo G700B MODELS S/N 35000 - - 9838 Auxiliary manifold valve - 3 bank
FIT
1:1
100%

Артикул

Название

Примечание

Количество

CH 97874

Корпус клапана (коллектор)

CPL, INCL 1 - 31

1шт.

CH 63393

Sealing Kit

1 per, for 405083

1шт.

CH 63393

Sealing Kit

1 per, for 405083

1шт.

CH 63396

Kit

INCL 28 - 31

1шт.

1

CH 81336

Section

CPL, INCL 3 - 6, 18

1шт.

10

CH 89109

Wiper

1шт.

11

CH 49974

Кольцо уплотнительное (О-кольцо)

1шт.

11

CH 49974

Кольцо уплотнительное (О-кольцо)

1шт.

12

CH 89110

Пружина

1шт.

12

CH 89110

Пружина

1шт.

13

CH 81343

Spring Seat

Spring

1шт.

13

CH 81343

Spring Seat

Spring

1шт.

14

CH 49972

End Piece

1шт.

15

CH 81345

Золотник

Spool

1шт.

16

CH 63027

Пластина

Seal

1шт.

16

CH 63027

Пластина

Seal

1шт.

17

CH 81338

Болт

1шт.

17

CH 81338

Болт

1шт.

18

CH 49965

Кольцо уплотнительное (О-кольцо)

1шт.

18

CH 49965

Кольцо уплотнительное (О-кольцо)

1шт.

19

CH 81225

Пружина

1шт.

19

CH 81225

Пружина

1шт.

2

CH 81337

Segment

CPL, 3 - 6

1шт.

20

CH 405100

Valve stop

Compensator

1шт.

20

CH 405100

Valve stop

Compensator

1шт.

21

CH 49971

Cap

1шт.

22

CH 50D-0406

Винт шестигранник

1шт.

22

CH 50D-0406

Винт шестигранник

1шт.

25

CH 81328

Disc

1шт.

25

CH 81328

Disc

1шт.

3

CH 111H-10

Пробка (заглушка)

1шт.

32

VOE 12735322

Кронштейн

1шт.

33

VOE 983335

Шайба

1шт.

33

VOE 983335

Шайба

1шт.

34

CH 30A-06ZI

Hexagon Nut

1шт.

34

CH 30A-06ZI

Hexagon Nut

1шт.

35

CH 78378

Болт

1шт.

4

CH 81220

Кольцо уплотнительное (О-кольцо)

1шт.

4

CH 81220

Кольцо уплотнительное (О-кольцо)

1шт.

5

CH 81324

Пробка (заглушка)

1шт.

6

CH 81219

Кольцо уплотнительное (О-кольцо)

1шт.

7

CH 405083

Клапан

CPL, INCL 9 - 24

1шт.

8

CH 405084

Клапан

CPL, 9 - 24

1шт.

9

CH 49975

Кольцо уплотнительное (О-кольцо)

1шт.

9

CH 49975

Кольцо уплотнительное (О-кольцо)

1шт.

Выбрано товаров: 45