Запчасти Volvo G900 MODELS S/N 39300 - 65373 Articulation cylinders

Схема запчастей Volvo G900 MODELS S/N 39300 - - 65373 Articulation cylinders
FIT
1:1
100%

Артикул

Название

Примечание

Количество

VOE 12744475

Гидроцилиндр

4.5" CPL INCL 1 - 9

1шт.

VOE 12744476

Гидроцилиндр

5" CPL INCL 1 - 9

1шт.

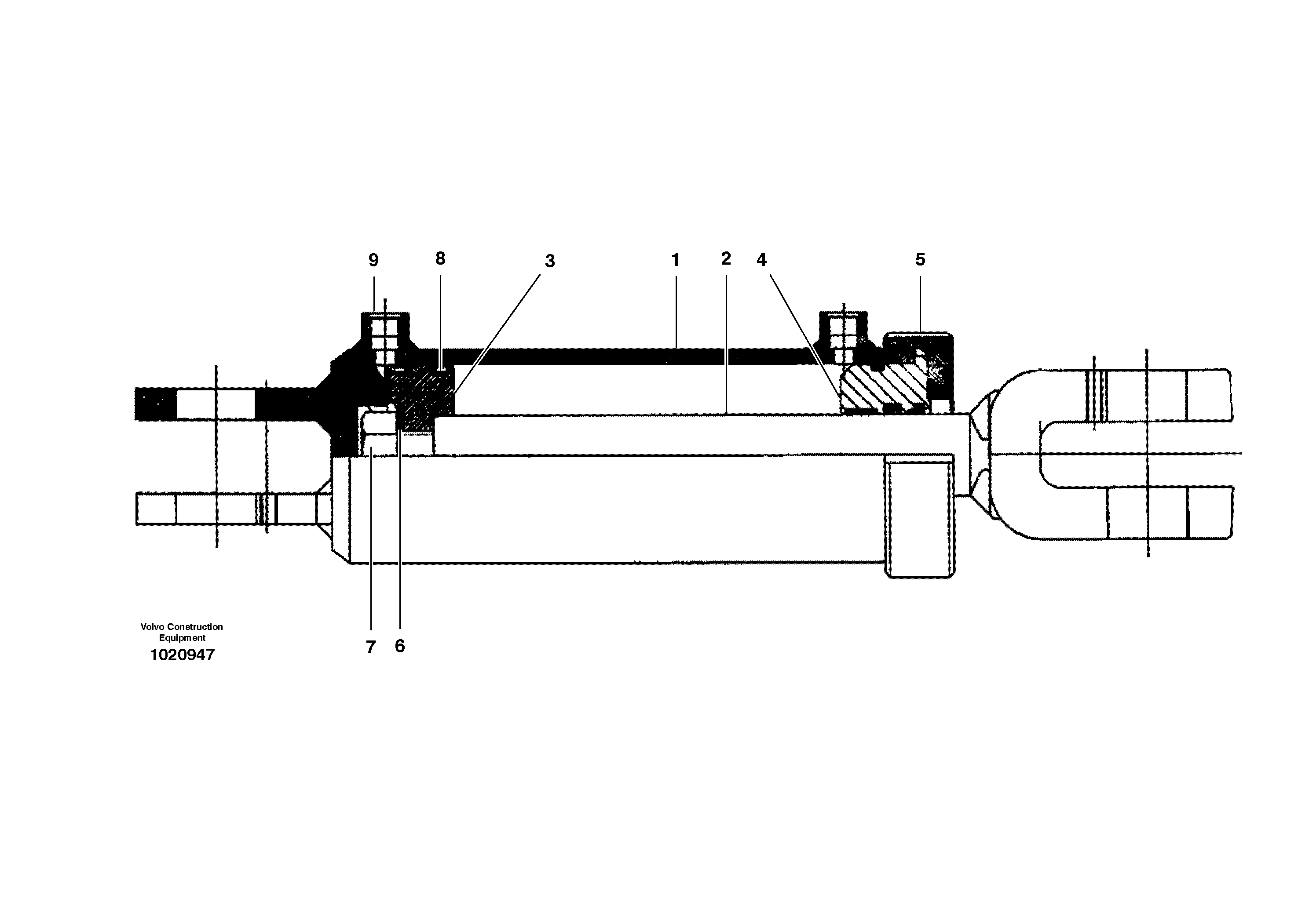
1

VOE 12743305

Cylinder tube

1шт.

1

VOE 12743413

Cylinder tube

1шт.

2

VOE 12743306

Шток поршня

1шт.

2

VOE 12743414

Шток поршня

1шт.

3

VOE 12743244

Поршень

1шт.

3

CH 59671

Поршень

1шт.

3

CH 59671

Поршень

1шт.

4

VOE 12724163

Головка блока цилиндров

1шт.

4

VOE 12724163

Головка блока цилиндров

1шт.

4

VOE 12724164

Головка блока цилиндров

1шт.

4

VOE 12724164

Головка блока цилиндров

1шт.

5

VOE 12743307

Гайка

1шт.

5

VOE 12743415

Гайка

1шт.

6

CH 49380

Шайба

1шт.

7

VOE 12743050

Винт шестигранник

1шт.

8

VOE 12743310

Sealing Kit

1шт.

8

VOE 12743418

Sealing Kit

1шт.

9

VOE 12743053

Пробка (заглушка)

1шт.

Выбрано товаров: 20