Запчасти Volvo SD100C S/N 198060 - 68393 Engine Installation

Схема запчастей Volvo SD100C S/N 198060 - - 68393 Engine Installation
FIT
1:1
100%

Артикул

Название

Примечание

Количество

RM 59106435

Alternator

65A

1шт.

RM 58875196

Соленоид (электромагнитный клапан)

1шт.

RM 58827932

Фильтр топливный

PRE-FUEL FILTER

1шт.

RM 59728170

Фильтр масляный

FILTER ELEMENT

1шт.

RM 13360516

Starter motor

1шт.

RM 43924422

Фильтр топливный

PRIMARY

1шт.

RM 58887506

Ремень

1шт.

RM 59816520

Starter motor

1шт.

RM 43911668

Фильтр топливный

INLINE

1шт.

RM 13293675

Двигатель в сборе

S/N - 173785, 4BTA 3.9

1шт.

RM 43922913

Фильтр масляный

FILTER ELEMENT

1шт.

RM 59728196

Fuel filter insert

1шт.

RM 59728196

Fuel filter insert

1шт.

RM 35374677

Фильтр топливный

PRIMARY

1шт.

RM 13852256

Alternator

1шт.

RM 59309104

Ремень вентилятора

1шт.

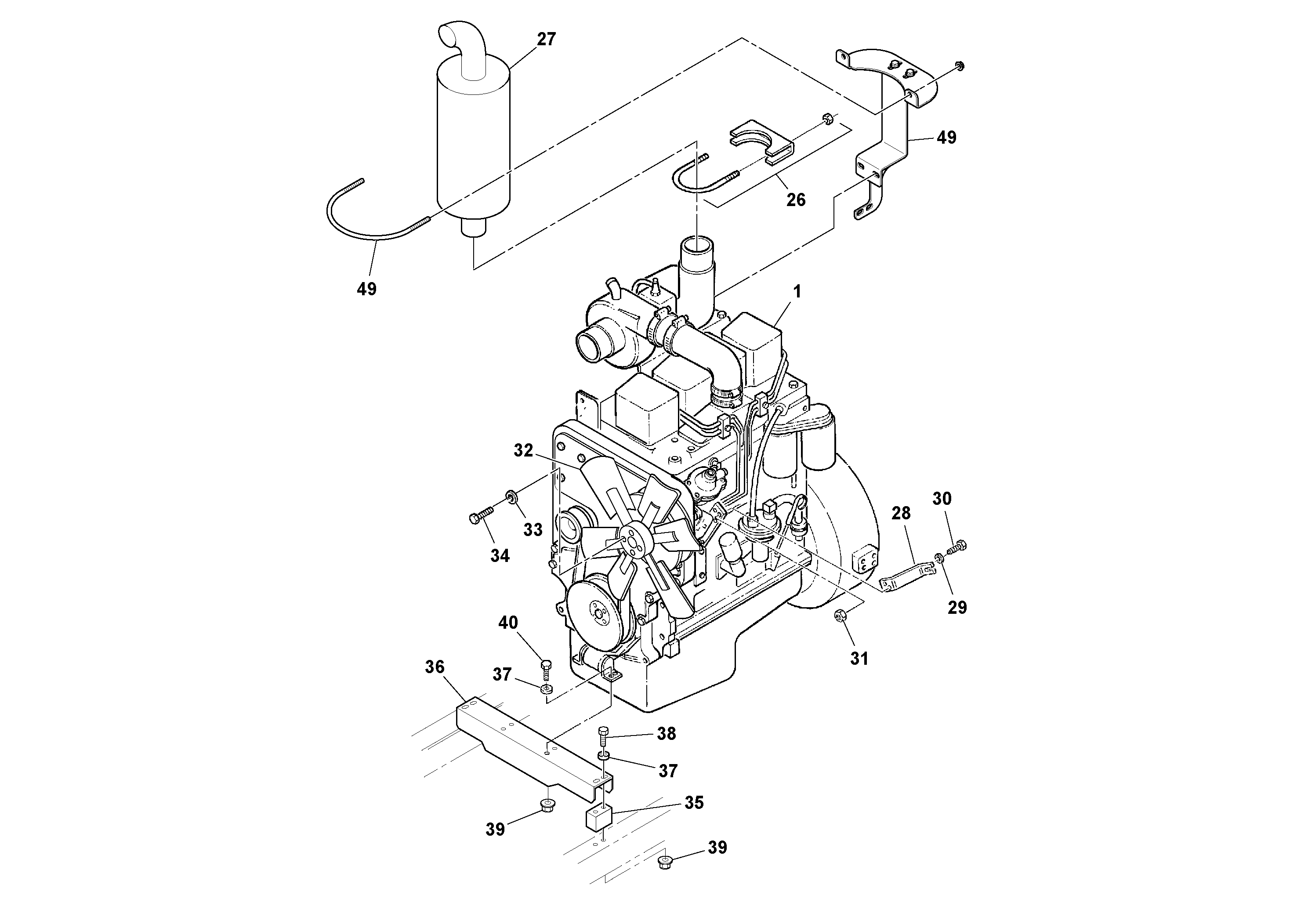
1

RM 43923283

Двигатель в сборе

S/N 173786-

1шт.

26

RM 50266972

Зажим

1шт.

27

RM 13241658

Silencer

1шт.

28

RM 13222864

Кронштейн

1шт.

29

RM 96741053

Шайба

1шт.

29

RM 96741053

Шайба

1шт.

30

RM 96704564

Винт шестигранник

1шт.

30

RM 96704564

Винт шестигранник

1шт.

32

RM 59819292

Вентилятор

1шт.

33

RM 96741038

Шайба

1шт.

33

RM 96741038

Шайба

1шт.

34

RM 96715131

Винт шестигранник

1шт.

34

RM 96715131

Винт шестигранник

1шт.

35

RM 59176917

Вставка

1шт.

36

RM 59176925

Кронштейн

1шт.

37

RM 96711833

Шайба

1шт.

37

RM 96711833

Шайба

1шт.

38

RM 96704739

Винт шестигранник

1шт.

38

RM 96704739

Винт шестигранник

1шт.

39

RM 96704846

Lock nut

1шт.

39

RM 96704846

Lock nut

1шт.

40

RM 96704556

Винт шестигранник

1шт.

40

RM 96704556

Винт шестигранник

1шт.

Выбрано товаров: 39