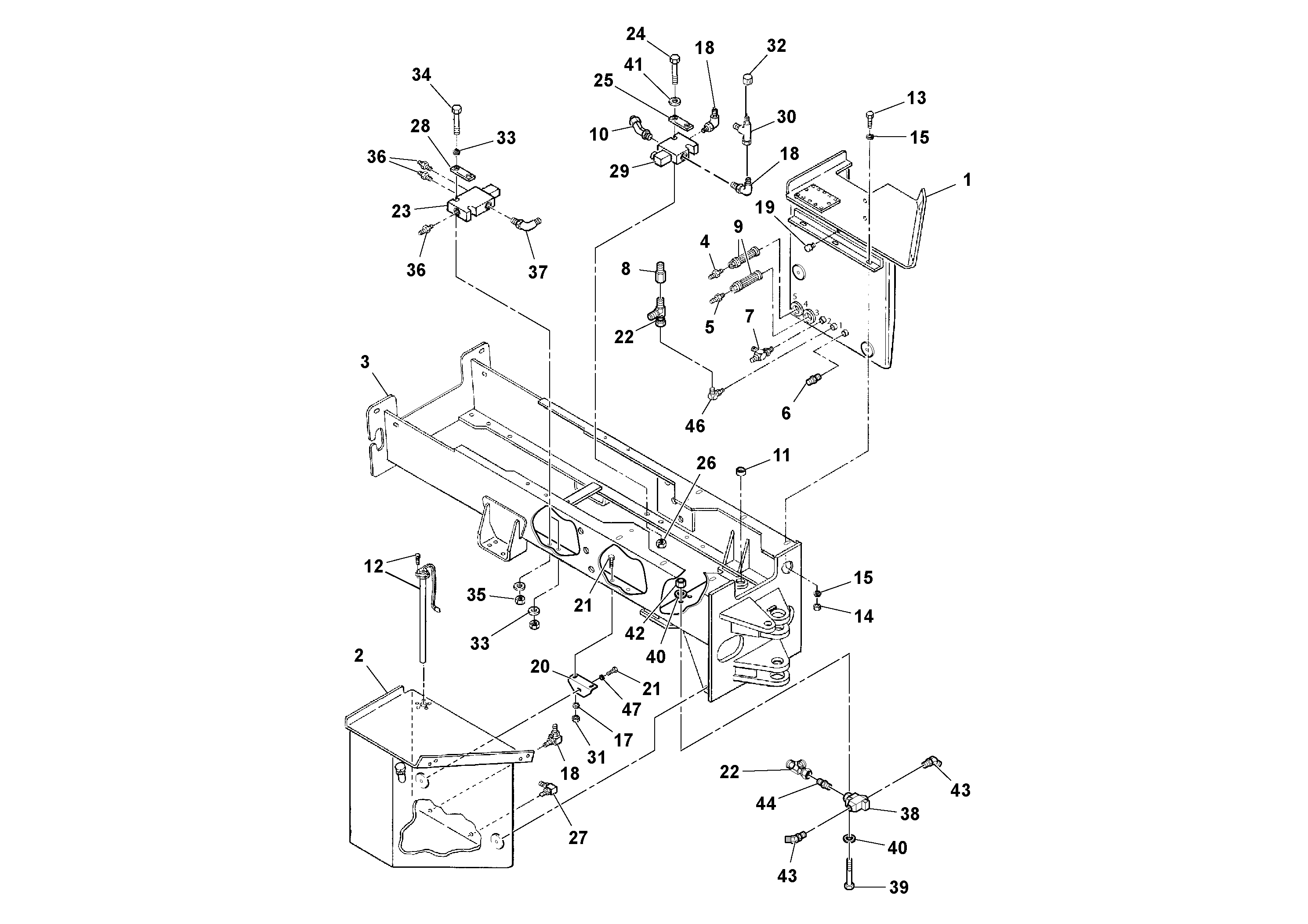
Запчасти Volvo SD100C S/N 198060 - 71669 Main Frame Installation

Схема запчастей Volvo SD100C S/N 198060 - - 71669 Main Frame Installation
FIT
1:1
100%

Артикул

Название

Примечание

Количество

RM 59024208

Lid

1шт.

RM 59991992

Gauge

1шт.

RM 13469655

Соленоид (электромагнитная катушка)

1шт.

RM 95356960

Адаптер

SD-100D/100F

1шт.

RM 95356960

Адаптер

SD-100D/100F

1шт.

RM 58911801

Соленоид (электромагнитный клапан)

1шт.

RM 13469663

Sealing kit

1шт.

RM 13493770

Sealing

1шт.

RM 13469648

Соленоид (электромагнитная катушка)

1шт.

RM 95748562

Пробка (заглушка)

1шт.

RM 58911835

Sealing kit

1шт.

RM 96721196

Болт

1шт.

RM 13469630

Valve body

1шт.

RM 13305099

Прокладка

1шт.

RM 59058057

Cap

1шт.

1

RM 13182803

Бак

1шт.

10

RM 95866687

Адаптер

1шт.

10

RM 95866687

Адаптер

1шт.

11

RM 50268127

Подшипник

1шт.

11

RM 50268127

Подшипник

1шт.

12

RM 59008482

Fuel level sensor

1шт.

13

RM 96704440

Винт шестигранник

1шт.

14

RM 96703665

Hexagon nut

1шт.

14

RM 96703665

Hexagon nut

1шт.

15

RM 96701560

Шайба

1шт.

15

RM 96701560

Шайба

1шт.

17

RM 96701545

Шайба

1шт.

18

RM 95329975

Адаптер

1шт.

18

RM 95329975

Адаптер

1шт.

19

RM 95381158

Адаптер

1шт.

2

RM 13182795

Топливный бак (бензобак)

1шт.

20

RM 13163357

Кронштейн

1шт.

21

RM 96702444

Винт шестигранник

1шт.

21

RM 96702444

Винт шестигранник

1шт.

22

RM 95739306

T-nipple

1шт.

22

RM 95739306

T-nipple

1шт.

23

RM 54445010

Встроенный клапан в сборе

1шт.

24

RM 96706817

Болт

1шт.

25

RM 59306522

Пластина

1шт.

26

RM 96704176

Hexagon nut

1шт.

27

RM 95365094

Адаптер

1шт.

28

RM 59306522

Пластина

1шт.

29

RM 58825464

Brake valve

1шт.

3

RM 13209960

Frame

1шт.

30

RM 95415667

Swivel nipple

1шт.

31

RM 96702857

Hexagon nut

1шт.

31

RM 96702857

Hexagon nut

1шт.

32

RM 95257341

Cap

1шт.

32

RM 95257341

Cap

1шт.

33

RM 96741053

Шайба

1шт.

33

RM 96741053

Шайба

1шт.

34

RM 96706825

Винт шестигранник

1шт.

35

RM 96704598

Lock nut

1шт.

35

RM 96704598

Lock nut

1шт.

36

VOE 11147716

11147716

1шт.

37

RM 95653614

Адаптер

1шт.

38

RM 59186346

Клапан

THERMAL BYPASS

1шт.

4

RM 95219770

Адаптер

1шт.

40

RM 96741046

Плоская шайба

1шт.

40

RM 96741046

Плоская шайба

1шт.

41

RM 96727581

Плоская шайба

1шт.

42

RM 96704614

Гайка

1шт.

42

RM 96704614

Гайка

1шт.

43

RM 95182705

Адаптер

1шт.

44

RM 95356978

Адаптер

1шт.

44

RM 95356978

Адаптер

1шт.

46

RM 95280186

Адаптер

1шт.

46

RM 95280186

Адаптер

1шт.

47

RM 96712237

Плоская шайба

1шт.

47

RM 96712237

Плоская шайба

1шт.

5

RM 95316956

Адаптер

1шт.

6

RM 95280541

Пробка (заглушка)

SD-100

1шт.

7

RM 95829263

T-nipple

1шт.

7

RM 95829263

T-nipple

1шт.

8

RM 59743013

Адаптер

1шт.

9

RM 58855099

Hydraulic fluid filter

1шт.

9

RM 58855099

Hydraulic fluid filter

1шт.

Выбрано товаров: 77