Запчасти Volvo SD100C S/N 198060 - 105336 Engine Installation

Схема запчастей Volvo SD100C S/N 198060 - - 105336 Engine Installation
FIT
1:1
100%

Артикул

Название

Примечание

Количество

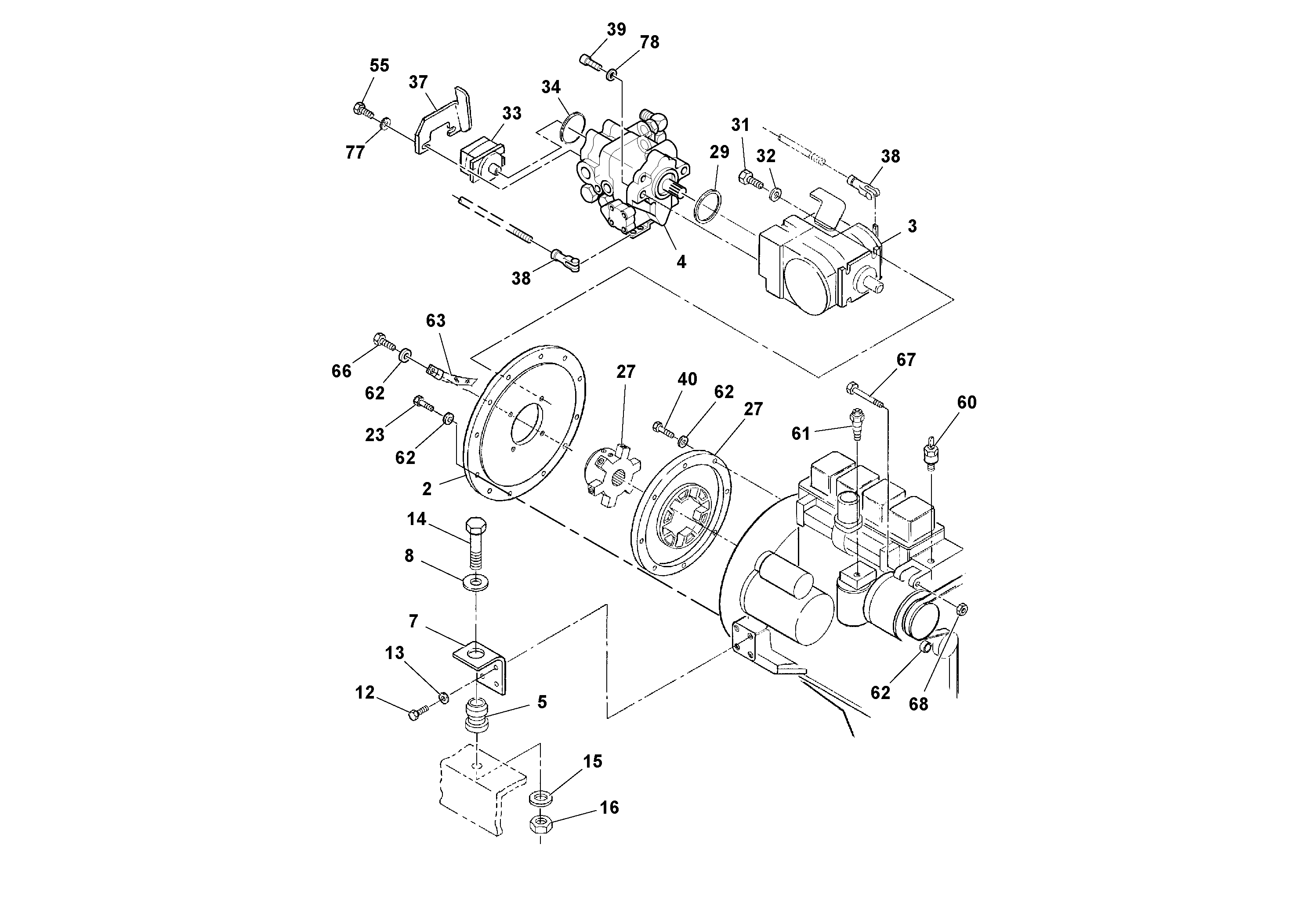
12

RM 96702667

Винт шестигранник

1шт.

13

RM 96738596

Шайба

1шт.

14

RM 96704952

Винт шестигранник

1шт.

14

RM 96704952

Винт шестигранник

1шт.

15

RM 96738612

Плоская шайба

1шт.

15

RM 96738612

Плоская шайба

1шт.

16

RM 96704630

Гайка

1шт.

2

RM 58966086

Пластина

1шт.

23

RM 96701917

Винт шестигранник

1шт.

23

RM 96701917

Винт шестигранник

1шт.

27

RM 59286336

Маховик

1шт.

29

RM 95097879

Кольцо уплотнительное (О-кольцо)

1шт.

31

RM 96702329

Винт шестигранник

1шт.

32

RM 96738596

Шайба

1шт.

34

RM 95988796

Кольцо уплотнительное (О-кольцо)

1шт.

34

RM 95988796

Кольцо уплотнительное (О-кольцо)

1шт.

37

RM 59232579

Кронштейн

1шт.

39

RM 95309829

Болт

1шт.

39

RM 95309829

Болт

1шт.

40

RM 95919254

Винт шестигранник

1шт.

5

RM 59097162

Rubber damper

1шт.

55

RM 95055265

Винт шестигранник (торцевой ключ)

1шт.

60

RM 59164251

Переключатель

WATER TEMPERATURE

1шт.

61

RM 59971457

Contact

1шт.

62

RM 96741046

Плоская шайба

1шт.

62

RM 96741046

Плоская шайба

1шт.

63

RM 59104406

Ground cable

1шт.

66

RM 96704309

Винт шестигранник

1шт.

66

RM 96704309

Винт шестигранник

1шт.

67

RM 96715602

Винт шестигранник

1шт.

68

RM 96704846

Lock nut

1шт.

68

RM 96704846

Lock nut

1шт.

7

RM 59103838

Engine anchorage

1шт.

77

RM 59731380

Шайба

1шт.

78

RM 59539569

Шайба

1шт.

8

RM 58879768

Шайба

1шт.

Выбрано товаров: 0