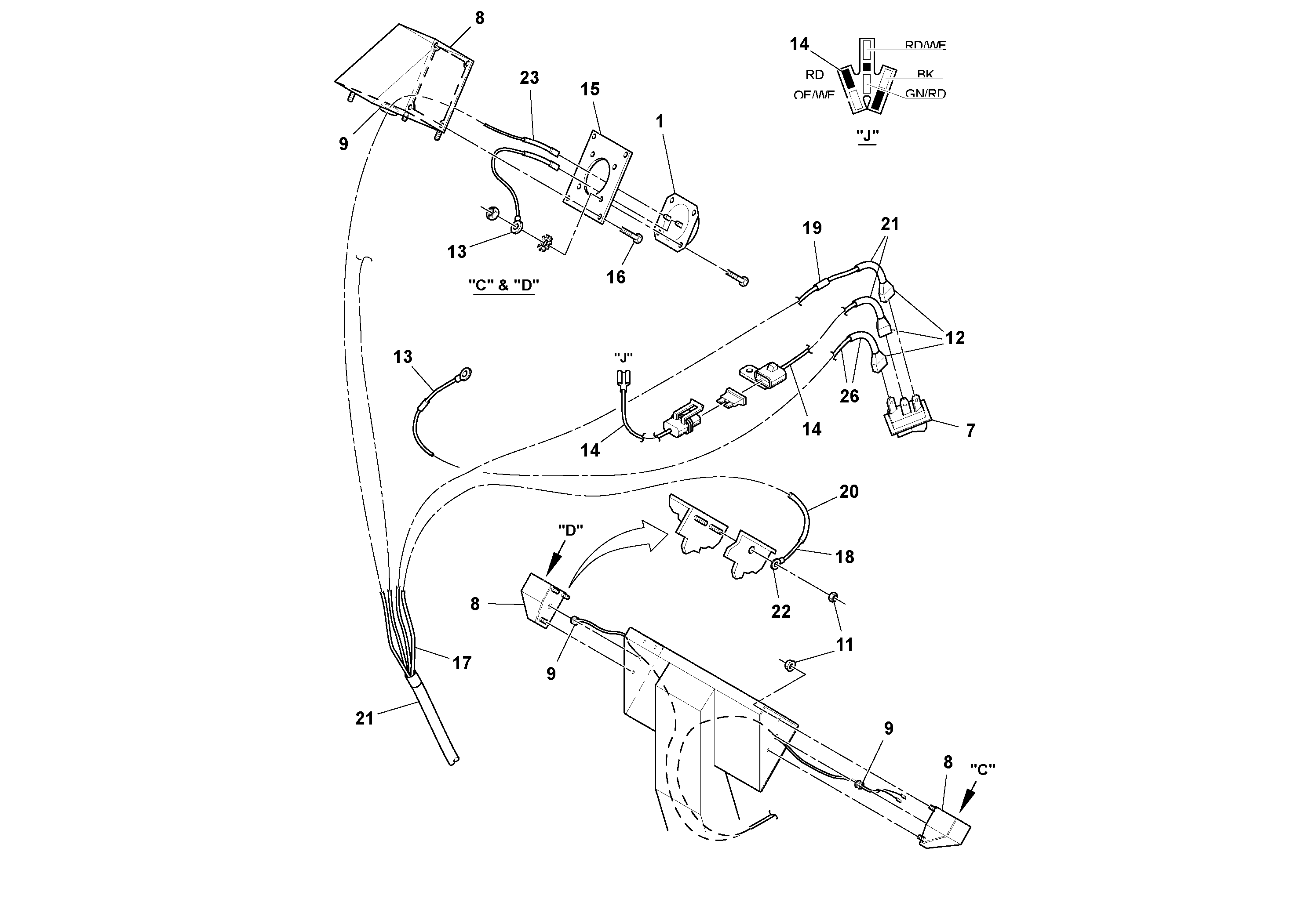
Запчасти Volvo SD100C S/N 198060 - 87011 Compactometer Installation

Схема запчастей Volvo SD100C S/N 198060 - - 87011 Compactometer Installation
FIT
1:1
100%

Артикул

Название

Примечание

Количество

1

RM 59181735

Kit

COMPACTOMETER

1шт.

11

RM 96704176

Hexagon nut

1шт.

12

RM 58869371

Receptacle

1шт.

13

RM 58880337

Cable harness

1шт.

14

RM 13301924

Cable harness

1шт.

15

RM 58874363

Пластина

1шт.

16

RM 96711965

Болт

1шт.

17

RM 58806779

Wire

1шт.

18

RM 59443663

Wire

1шт.

19

RM 59429605

Скоба (хомут)

1шт.

20

RM 59437293

Трубка

1шт.

21

RM 59483206

Heat-shrinkable tubing

1шт.

22

RM 59429639

Cable terminal

1шт.

23

RM 59434092

Heat-shrinkable tubing

1шт.

7

RM 59121798

Переключатель

COMPACTOMETER

1шт.

8

RM 58928870

Картер (корпус)

1шт.

9

RM 58820143

Уплотнительная втулка

1шт.

Выбрано товаров: 17