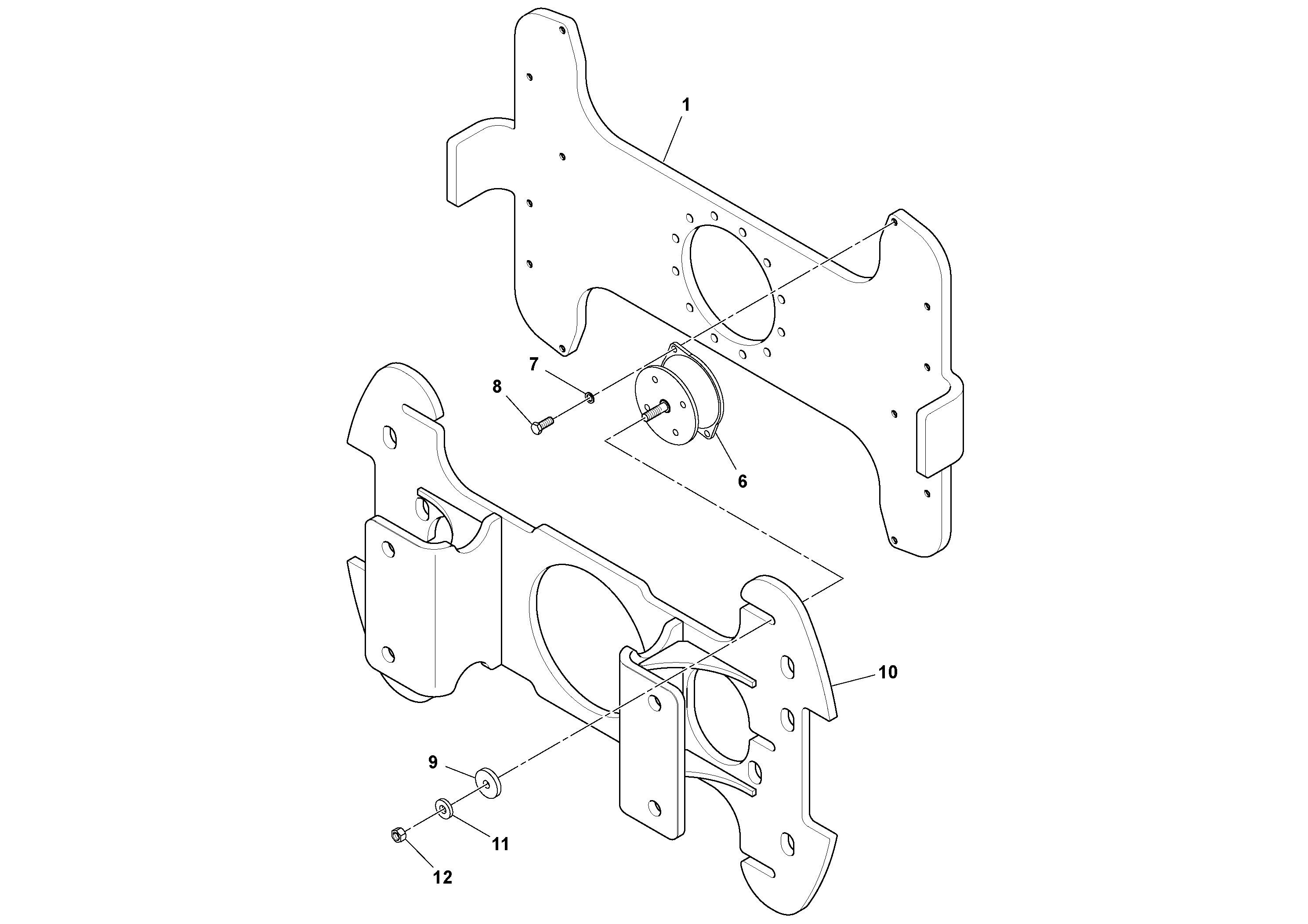
Запчасти Volvo SD100D/100F/SD105DX/105F S/N 197389 - 101043 Carrier Assembly

Схема запчастей Volvo SD100D/100F/SD105DX/105F S/N 197389 - - 101043 Carrier Assembly
FIT
1:1
100%

Артикул

Название

Примечание

Количество

1

RM 43814300

Пластина

1шт.

10

RM 43857457

Mounting plate

1шт.

11

RM 59565044

Шайба

1шт.

12

RM 96703657

Hexagon nut

1шт.

12

RM 96703657

Hexagon nut

1шт.

6

RM 13304787

Rubber damper

1шт.

7

RM 96738596

Шайба

1шт.

8

RM 96703111

Винт шестигранник

1шт.

9

RM 13351408

Шайба

1шт.

Выбрано товаров: 9