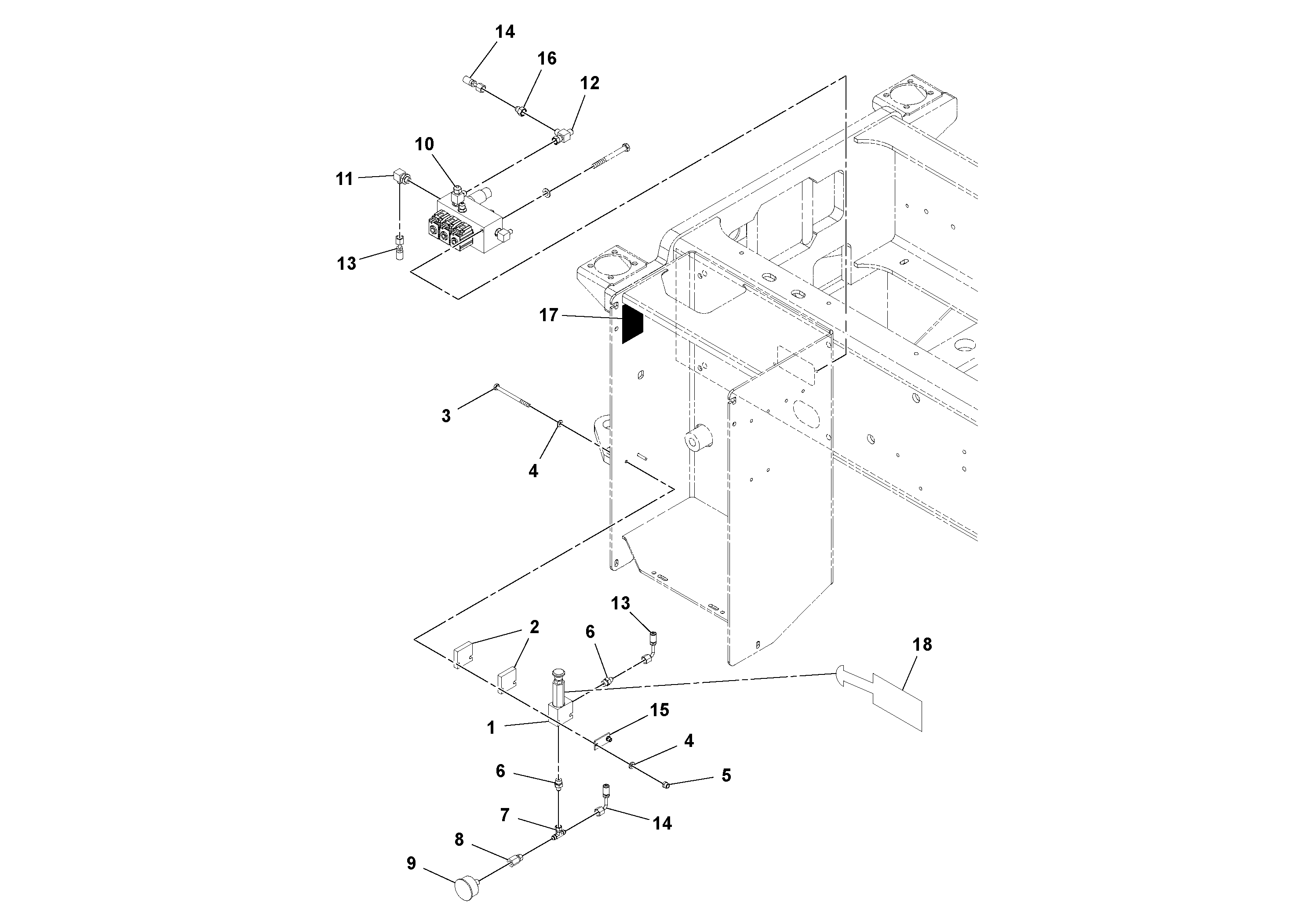
Запчасти Volvo SD100D/100F/SD105DX/105F S/N 197389 - 67101 Brake/shunt Valve Assembly

Схема запчастей Volvo SD100D/100F/SD105DX/105F S/N 197389 - - 67101 Brake/shunt Valve Assembly
FIT
1:1
100%

Артикул

Название

Примечание

Количество

RM 13304878

Клапан

SD-105DX EU

1шт.

RM 13258603

Клапан

1шт.

RM 13258611

Клапан

1шт.

RM 13269436

Sealing kit

1шт.

RM 13429782

Клапан

1шт.

RM 13258629

Соленоид (электромагнитная катушка)

1шт.

1

RM 13205513

Hand pump

1шт.

11

RM 95365094

Адаптер

1шт.

12

RM 95415667

Swivel nipple

1шт.

13

RM 59959080

Hose assembly

1шт.

14

RM 13225529

Hose assembly

1шт.

15

RM 13235320

Retaining plate

1шт.

16

RM 59742890

Reducer

1шт.

17

RM 13366075

Warning decal

1шт.

18

RM 13366067

Decal

1шт.

2

RM 13214812

Spacer plate

1шт.

3

RM 96720156

Винт шестигранник

1шт.

3

RM 96720156

Винт шестигранник

1шт.

4

RM 96741053

Шайба

1шт.

4

RM 96741053

Шайба

1шт.

5

RM 96704598

Lock nut

1шт.

5

RM 96704598

Lock nut

1шт.

6

RM 95371258

Адаптер

1шт.

7

RM 95649844

Nipple

1шт.

8

RM 59665877

Nipple

1шт.

9

RM 59197012

Pressure gauge

1шт.

Выбрано товаров: 26