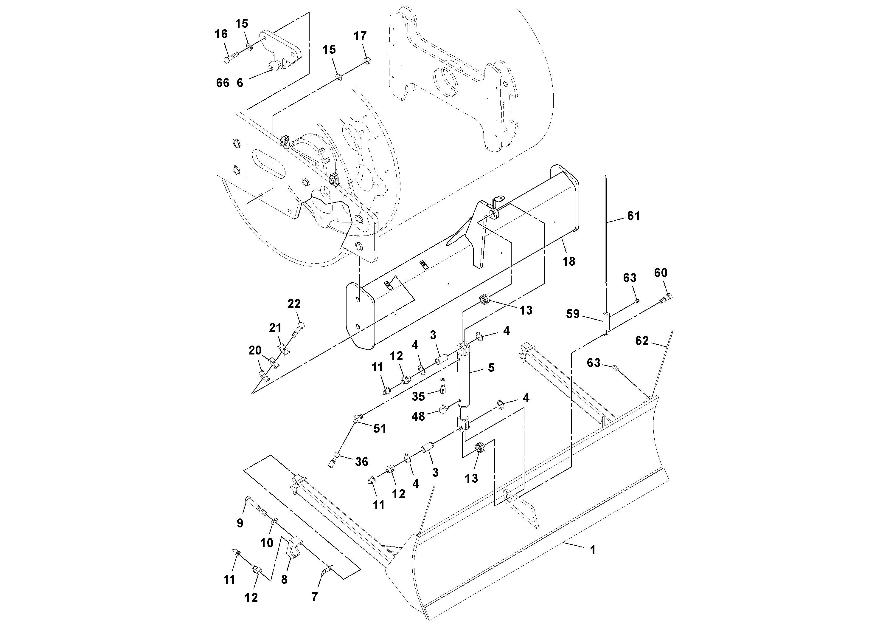
Запчасти Volvo SD100D/100F/SD105DX/105F S/N 197389 - 66276 Leveling Blade Installation

Схема запчастей Volvo SD100D/100F/SD105DX/105F S/N 197389 - - 66276 Leveling Blade Installation
FIT
1:1
100%

Артикул

Название

Примечание

Количество

RM 13515770

Sealing kit

1шт.

RM 54577838

Lock nut

1шт.

1

RM 13451299

Blade

1шт.

10

RM 59673137

Шайба

1шт.

11

RM 50270248

Cap

1шт.

11

RM 50270248

Cap

1шт.

12

RM 95201547

Фиттинг

1шт.

12

RM 95201547

Фиттинг

1шт.

13

RM 50273986

Подшипник

1шт.

15

RM 96701578

Шайба

1шт.

16

RM 96713987

Винт шестигранник

1шт.

17

RM 96703699

Hexagon nut

1шт.

18

RM 43854488

Material scraper

1шт.

20

RM 59587014

Зажим

1шт.

21

RM 59583500

Пластина

1шт.

3

RM 59683805

Pivot pin

1шт.

35

RM 43809961

Hose assembly

1шт.

36

RM 43809979

Hose assembly

1шт.

4

RM 95223384

Кольцо

1шт.

48

RM 95329975

Адаптер

1шт.

48

RM 95329975

Адаптер

1шт.

5

RM 43924059

Гидроцилиндр

1шт.

51

RM 95363339

Elbow

1шт.

51

RM 95363339

Elbow

1шт.

59

RM 13294756

Кронштейн

1шт.

6

RM 13213012

Кронштейн

1шт.

60

RM 96739388

Болт

1шт.

61

RM 13294806

Светоотражатель (отражатель) боковой

1шт.

62

RM 13296231

Светоотражатель (отражатель) боковой

1шт.

63

RM 96708722

Болт

1шт.

7

RM 58895079

Прокладка

1шт.

8

RM 59631606

Cap

1шт.

9

RM 95919643

Болт

1шт.

Выбрано товаров: 0