Запчасти Volvo SD110C/SD110 88937 Frame Installation

Схема запчастей Volvo SD110C/SD110 - 88937 Frame Installation
FIT
1:1
100%

Артикул

Название

Примечание

Количество

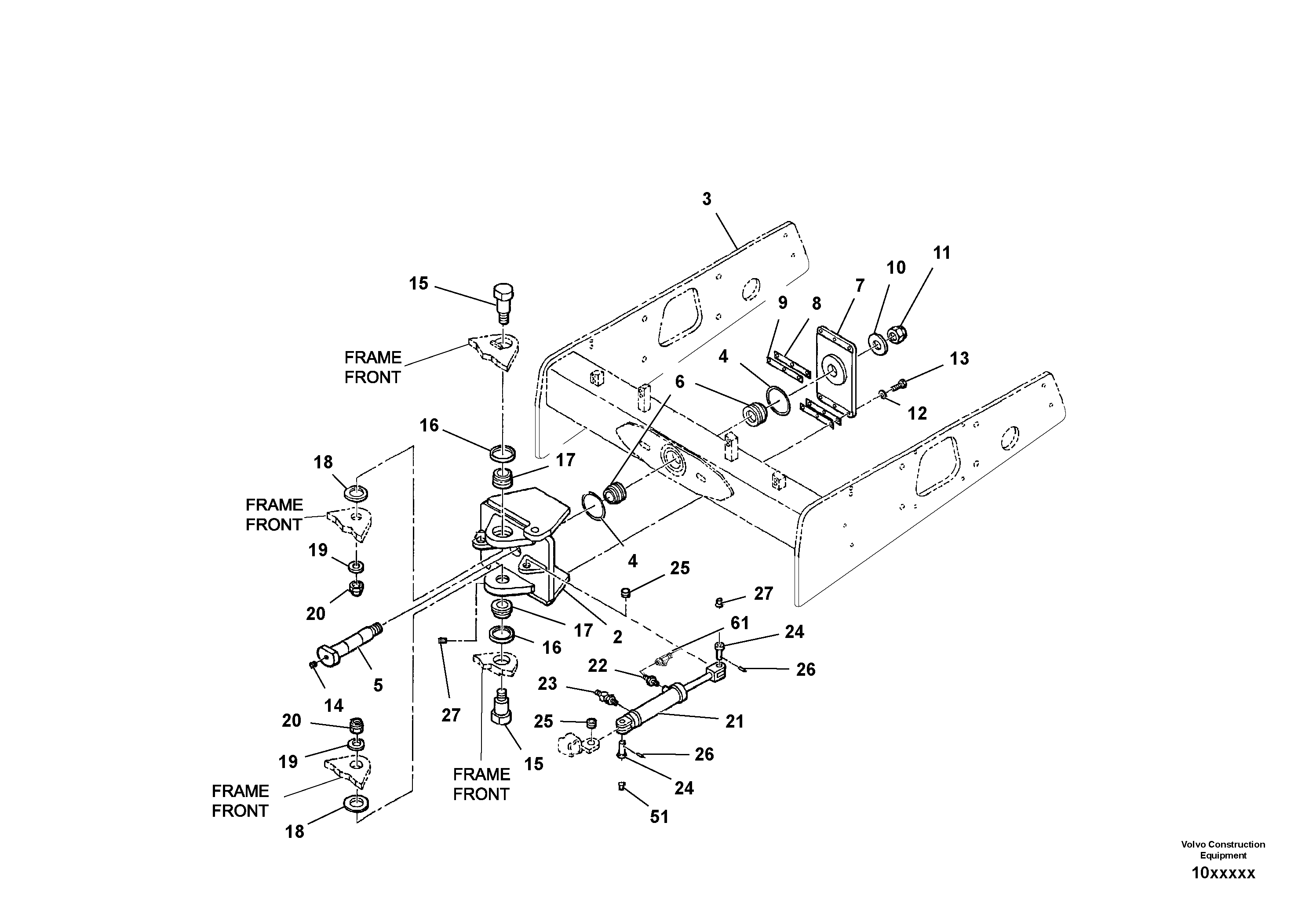
10

RM 95922217

Шайба

1шт.

11

RM 59003434

Гайка

1шт.

12

RM 96701560

Шайба

1шт.

12

RM 96701560

Шайба

1шт.

13

RM 96726658

Винт шестигранник

1шт.

14

RM 95208971

Фиттинг

1шт.

14

RM 95208971

Фиттинг

1шт.

15

RM 58977703

Палец

1шт.

16

RM 50268861

Dust cover

1шт.

17

RM 50268242

Подшипник

1шт.

18

RM 50268879

Dust cover

1шт.

19

RM 95922175

Плоская шайба

1шт.

2

RM 70059696

Frame part

1шт.

20

RM 59003442

Гайка

1шт.

21

RM 70811179

Гидроцилиндр рулевой

1шт.

21

RM 70576020

Гидроцилиндр

1шт.

22

RM 70130034

Адаптер

1шт.

23

RM 97113740

Адаптер

1шт.

24

RM 70058912

Pivot

1шт.

25

RM 50268127

Подшипник

1шт.

25

RM 50268127

Подшипник

1шт.

26

RM 70010053

Spring pin

1шт.

27

RM 94042413

Grease nipple

1шт.

3

RM 70932645

Drum Frame

1шт.

4

RM 59103804

Sealing

1шт.

5

RM 58977711

Палец

1шт.

51

RM 94036704

Grease

1шт.

6

RM 50268259

Подшипник

1шт.

61

RM 97122402

Адаптер

1шт.

61

RM 97122402

Адаптер

1шт.

7

RM 70059795

Пластина

1шт.

8

RM 70087747

Прокладка

1шт.

9

RM 70087754

Прокладка

1шт.

Выбрано товаров: 33