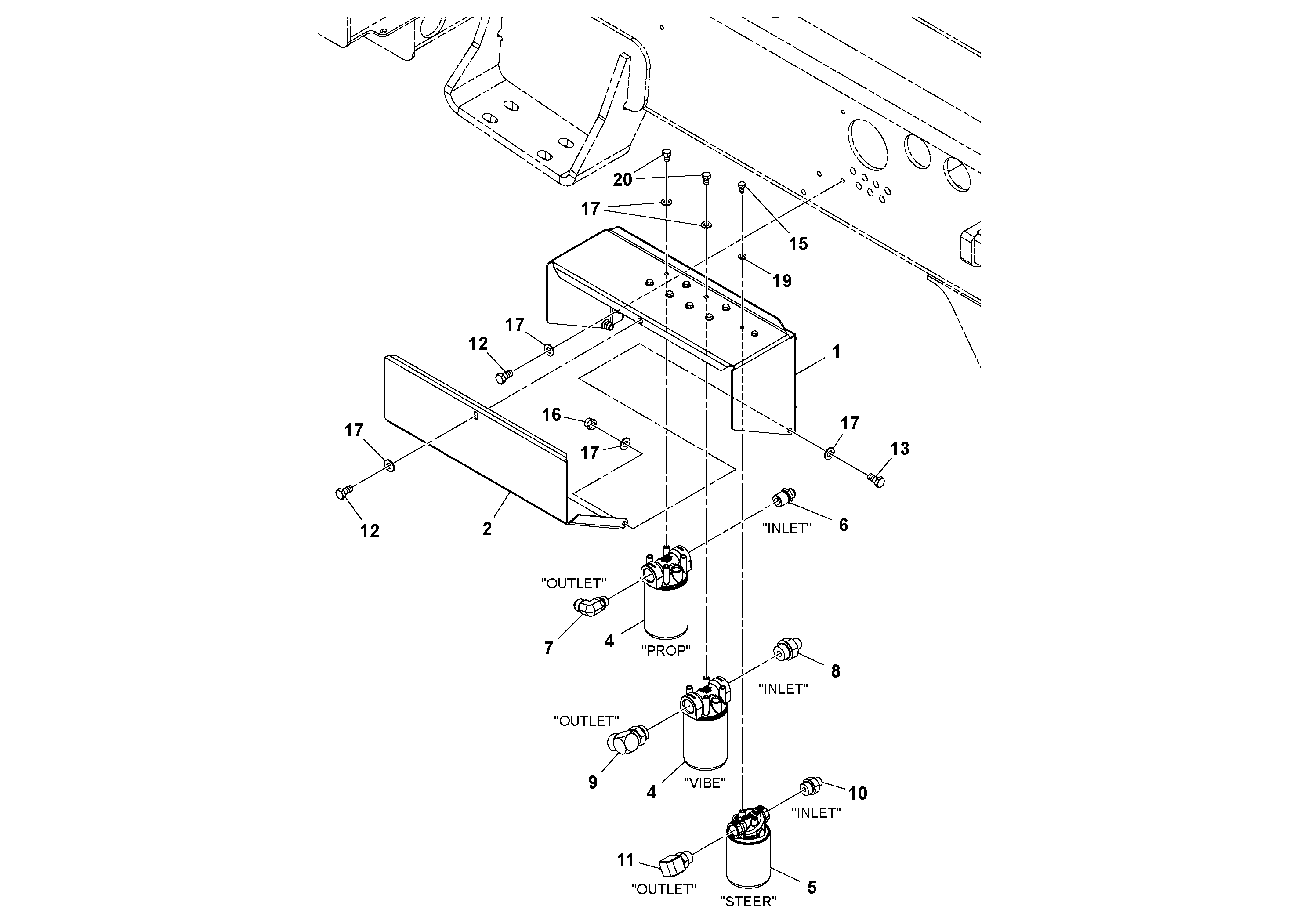
Запчасти Volvo SD115D/SD115F S/N 23273 - 74222 Hydraulic Filter Installation

Схема запчастей Volvo SD115D/SD115F S/N 23273 - - 74222 Hydraulic Filter Installation
FIT
1:1
100%

Артикул

Название

Примечание

Количество

RM 43846062

Insert

1шт.

RM 43919976

Filter insert

1шт.

1

RM 13295639

Кронштейн

1шт.

10

RM 95357570

Адаптер

1шт.

10

RM 95357570

Адаптер

1шт.

11

RM 95330692

Адаптер

1шт.

12

RM 96702279

Винт шестигранник

1шт.

12

RM 96702279

Винт шестигранник

1шт.

13

RM 96702287

Винт шестигранник

1шт.

13

RM 96702287

Винт шестигранник

1шт.

15

RM 95919528

Болт

1шт.

16

RM 96704614

Гайка

1шт.

16

RM 96704614

Гайка

1шт.

17

RM 96741046

Плоская шайба

1шт.

17

RM 96741046

Плоская шайба

1шт.

19

RM 96741053

Шайба

1шт.

19

RM 96741053

Шайба

1шт.

2

RM 13215405

Фильтр топливный

1шт.

20

RM 96701479

Винт шестигранник

1шт.

4

RM 43846054

Фильтр топливный

1шт.

5

RM 43907989

Фильтр возвратный

1шт.

6

RM 95416277

Фиттинг

1шт.

7

RM 13303805

Адаптер

1шт.

8

RM 59922526

Адаптер

1шт.

9

RM 95341673

Адаптер

1шт.

Выбрано товаров: 25