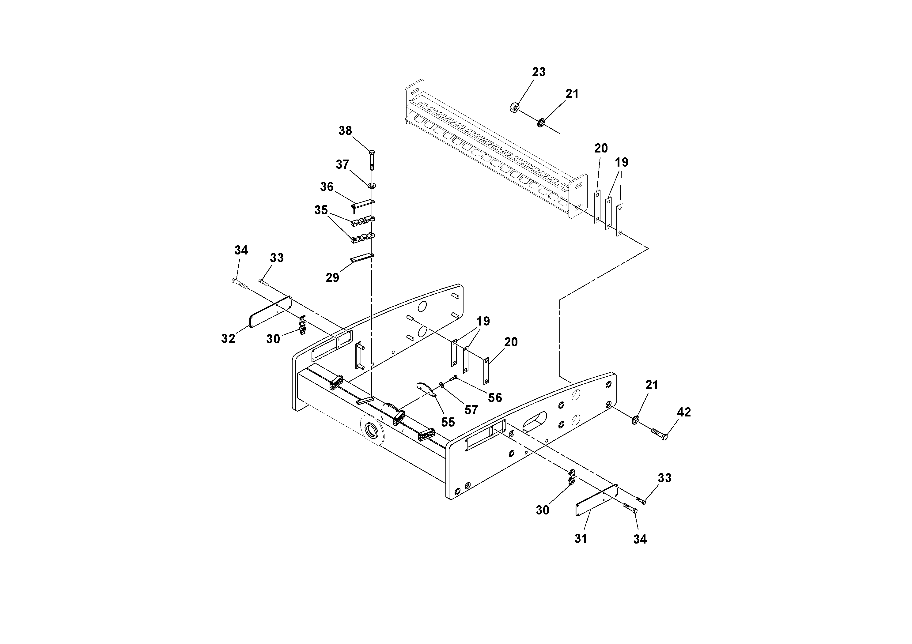
Запчасти Volvo SD115D/SD115F S/N 23273 - 74558 Front Frame Installation

Схема запчастей Volvo SD115D/SD115F S/N 23273 - - 74558 Front Frame Installation
FIT
1:1
100%

Артикул

Название

Примечание

Количество

19

RM 46635793

Прокладка

1шт.

20

RM 46635785

Прокладка

1шт.

21

RM 96701578

Шайба

1шт.

23

RM 96703699

Hexagon nut

1шт.

29

RM 13209168

Вставка

1шт.

30

RM 13209200

Hose clamp

1шт.

31

RM 13280318

Шайба

1шт.

32

RM 13280326

Шайба

1шт.

33

RM 96726898

Болт

1шт.

34

RM 96742648

Болт

1шт.

35

RM 13239967

Hose clamp

1шт.

36

RM 58880501

Пластина

1шт.

37

RM 96714399

Плоская шайба

1шт.

37

RM 96714399

Плоская шайба

1шт.

38

RM 96704739

Винт шестигранник

1шт.

38

RM 96704739

Винт шестигранник

1шт.

42

RM 96728654

Винт шестигранник

1шт.

55

RM 43813971

Крышка

1шт.

56

RM 96702824

Винт шестигранник

1шт.

56

RM 96702824

Винт шестигранник

1шт.

57

RM 96741038

Шайба

1шт.

57

RM 96741038

Шайба

1шт.

Выбрано товаров: 22