Запчасти Volvo SD116DX/SD116F S/N 197542 - 52513 Heater

Схема запчастей Volvo SD116DX/SD116F S/N 197542 - - 52513 Heater
FIT
1:1
100%

Артикул

Название

Примечание

Количество

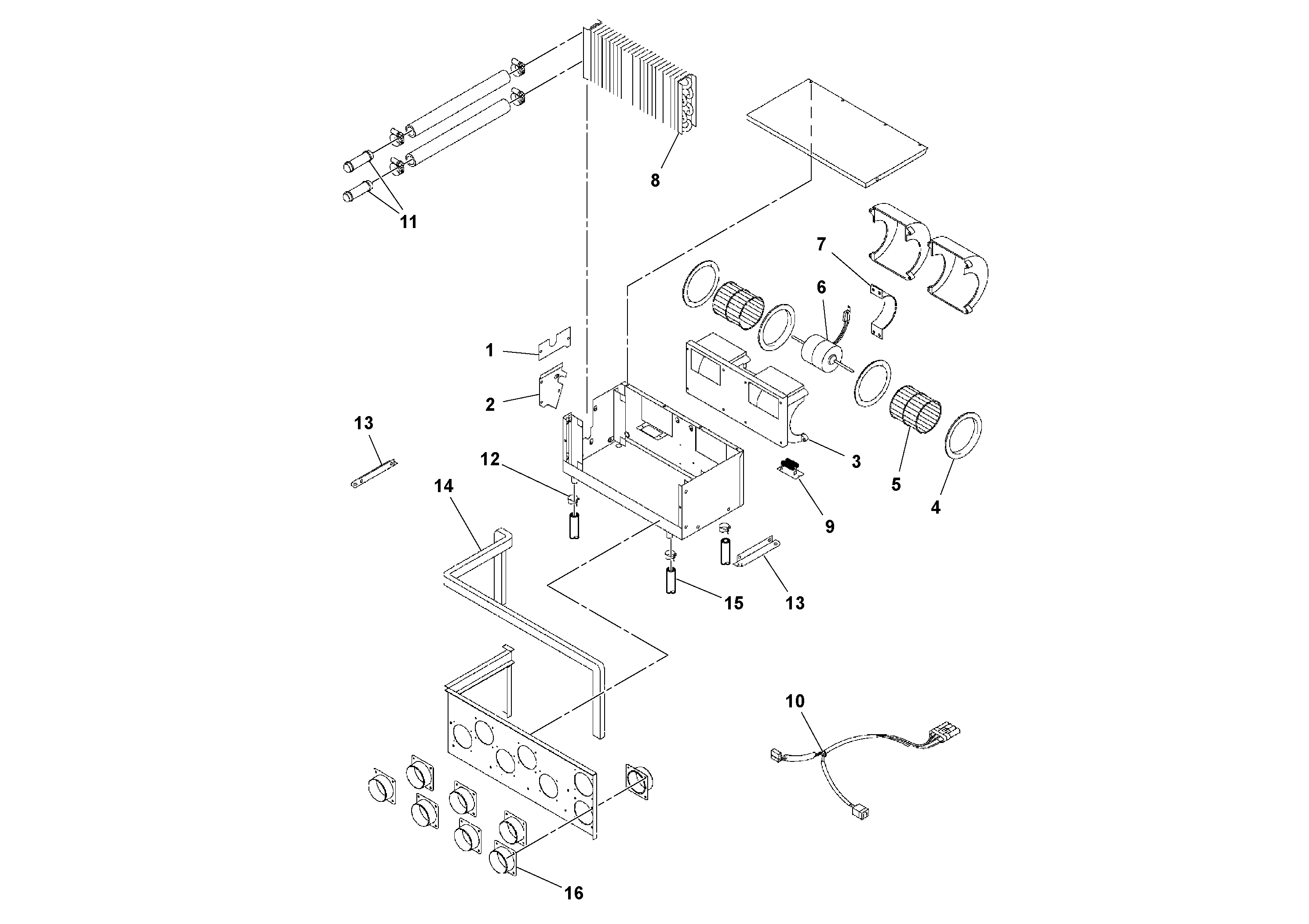
1

RM 13258702

Крышка

1шт.

10

RM 13258785

Cable harness

1шт.

11

RM 13258793

Hose assembly

1шт.

12

RM 13258801

Hose clamp

1шт.

13

RM 13258819

Кронштейн

1шт.

14

RM 13258827

Sealing

1шт.

15

RM 13258835

Drain valve

1шт.

16

RM 13258843

Адаптер

1шт.

2

RM 13258710

Крышка

1шт.

3

RM 13258728

Blower motor

1шт.

4

RM 13258694

Venturi

1шт.

5

RM 13258736

Fan wheel

1шт.

6

RM 13258744

Electric motor

1шт.

7

RM 13258751

Кронштейн

1шт.

8

RM 13258769

Heating coil

1шт.

9

RM 13258777

Resistor

12V

1шт.

Выбрано товаров: 16