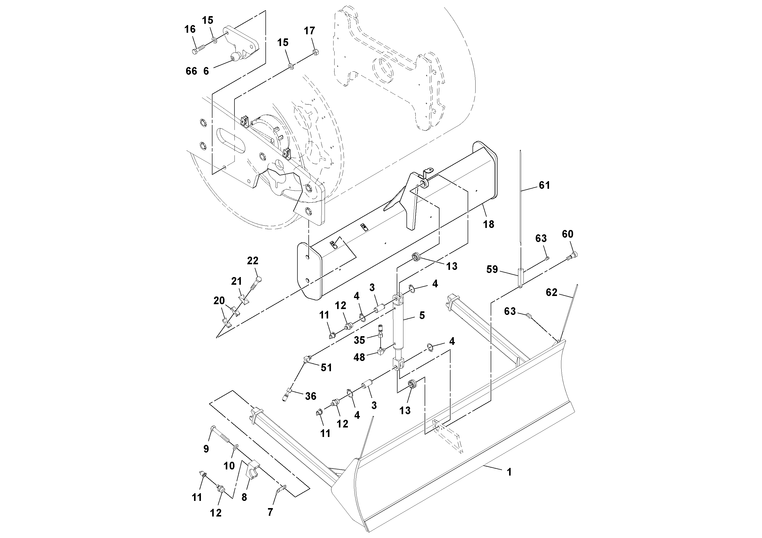
Запчасти Volvo SD116DX/SD116F S/N 197542 - 50711 Strike-off Blade Installation

Схема запчастей Volvo SD116DX/SD116F S/N 197542 - - 50711 Strike-off Blade Installation
FIT
1:1
100%

Артикул

Название

Примечание

Количество

RM 43924091

Гидроцилиндр

SD-116F

1шт.

RM 95201547

Фиттинг

SD-116F

1шт.

RM 95201547

Фиттинг

SD-116F

1шт.

RM 43955178

Material scraper

SD-116F

1шт.

RM 50270248

Cap

SD-116F

1шт.

RM 50270248

Cap

SD-116F

1шт.

1

RM 13451299

Blade

1шт.

10

RM 59673137

Шайба

1шт.

11

RM 50270248

Cap

SD-116DX

1шт.

11

RM 50270248

Cap

SD-116DX

1шт.

12

RM 95201547

Фиттинг

SD-116DX

1шт.

12

RM 95201547

Фиттинг

SD-116DX

1шт.

13

RM 50273986

Подшипник

1шт.

15

RM 96701578

Шайба

1шт.

16

RM 96713987

Винт шестигранник

1шт.

17

RM 96703699

Hexagon nut

1шт.

18

RM 43854488

Material scraper

SD-116DX

1шт.

20

RM 59587014

Зажим

1шт.

21

RM 59583500

Пластина

1шт.

22

RM 96705553

Винт шестигранник

1шт.

3

RM 59683805

Pivot pin

1шт.

35

RM 43809961

Hose assembly

1шт.

36

RM 43809979

Hose assembly

1шт.

4

RM 95223384

Кольцо

1шт.

48

RM 95329975

Адаптер

1шт.

48

RM 95329975

Адаптер

1шт.

5

RM 43924059

Гидроцилиндр

SD-116DX

1шт.

51

RM 95363339

Elbow

1шт.

51

RM 95363339

Elbow

1шт.

59

RM 13294756

Кронштейн

1шт.

6

RM 13213012

Кронштейн

1шт.

60

RM 96739388

Болт

1шт.

61

RM 13294806

Светоотражатель (отражатель) боковой

1шт.

62

RM 13296231

Светоотражатель (отражатель) боковой

1шт.

63

RM 96708722

Болт

1шт.

7

RM 58895079

Прокладка

1шт.

8

RM 59631606

Cap

1шт.

9

RM 95919643

Болт

1шт.

Выбрано товаров: 38