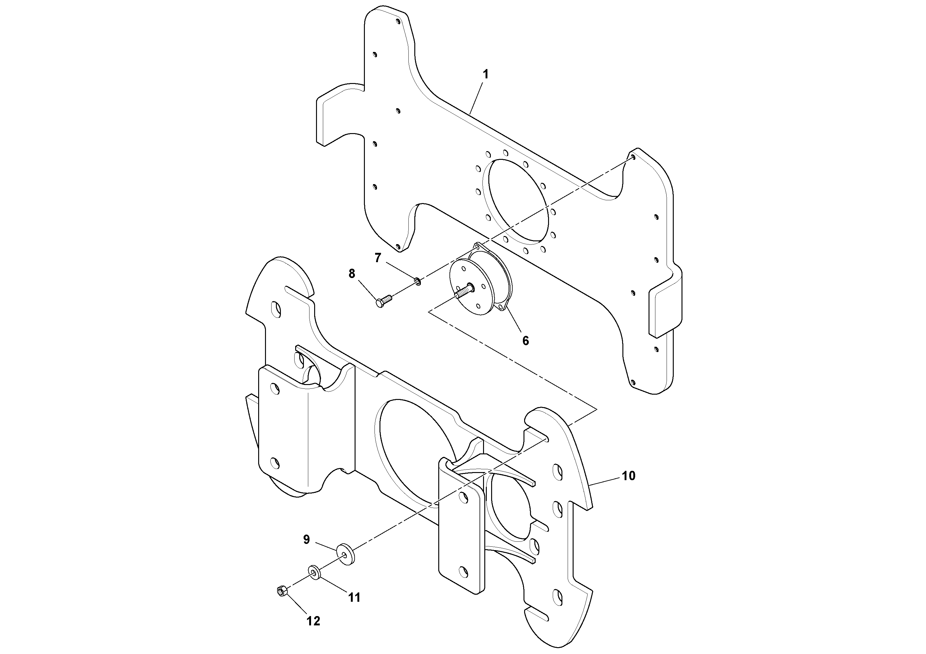
Запчасти Volvo SD122 S/N 195942 - 100411 Carrier Assembly

Схема запчастей Volvo SD122 S/N 195942 - - 100411 Carrier Assembly
FIT
1:1
100%

Артикул

Название

Примечание

Количество

RM 43814292

Пластина

1шт.

1

RM 43814300

Пластина

1шт.

10

RM 43857457

Mounting plate

1шт.

11

RM 59565044

Шайба

1шт.

12

RM 96703657

Hexagon nut

1шт.

12

RM 96703657

Hexagon nut

1шт.

6

RM 13304787

Rubber damper

1шт.

7

RM 96738596

Шайба

1шт.

8

RM 96703111

Винт шестигранник

1шт.

9

RM 13351408

Шайба

1шт.

Выбрано товаров: 10