Запчасти Volvo SD130D/DX/F S/N 600012 - 89828 Cab Assembly

Схема запчастей Volvo SD130D/DX/F S/N 600012 - - 89828 Cab Assembly
FIT
1:1
100%

Артикул

Название

Примечание

Количество

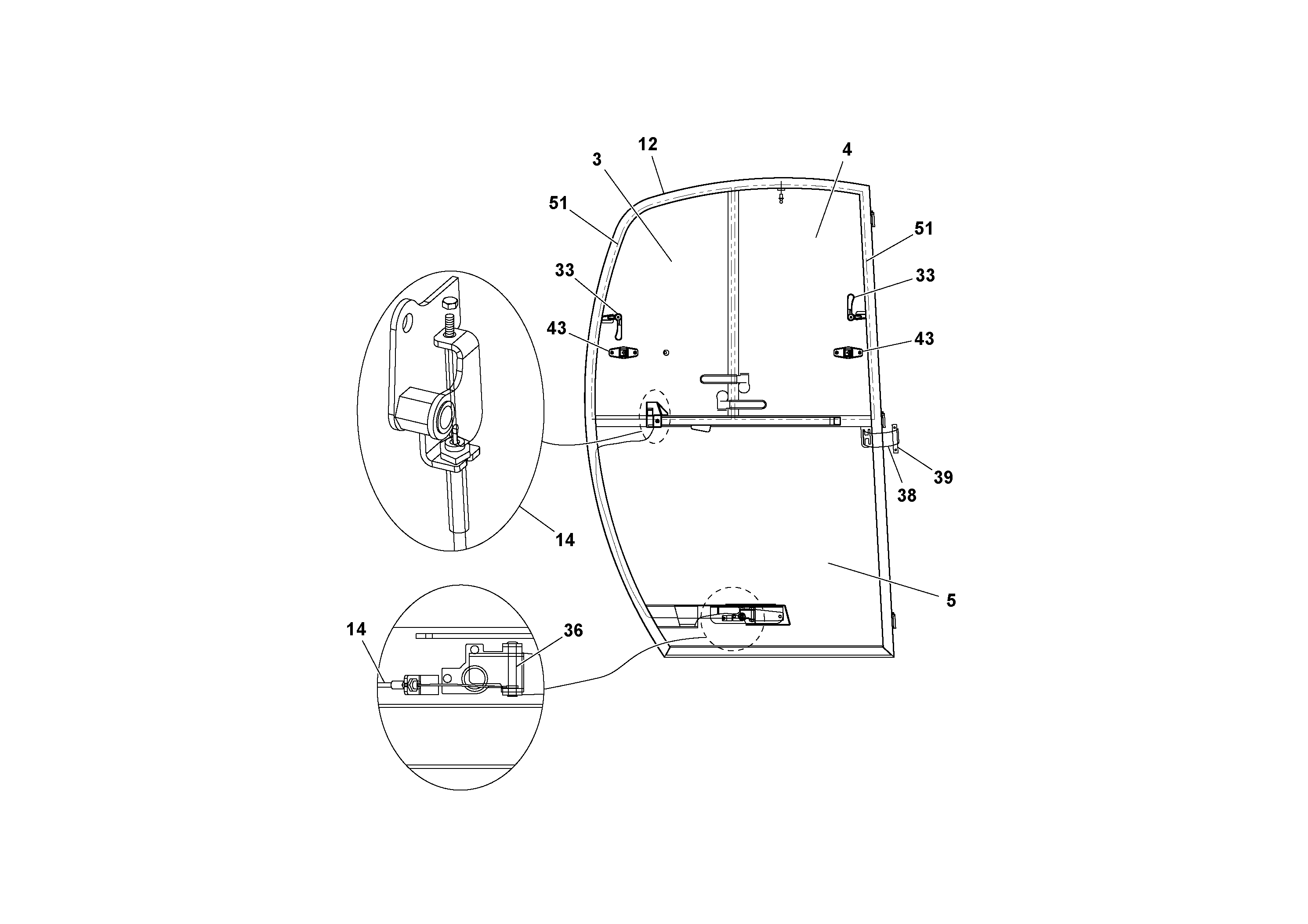
12

RM 43835206

Door

1шт.

12

RM 43835206

Door

1шт.

14

RM 13382924

Door lock kit

1шт.

14

RM 13382924

Door lock kit

1шт.

3

RM 13519350

Door window

REAR TOP

1шт.

3

RM 13519350

Door window

REAR TOP

1шт.

33

RM 13382759

Latch

1шт.

33

RM 13382759

Latch

1шт.

36

RM 13382940

Door lock kit

EXTERIOR

1шт.

36

RM 13382940

Door lock kit

EXTERIOR

1шт.

38

RM 43835297

Strap

1шт.

38

RM 43835297

Strap

1шт.

39

RM 13224332

Зажим

1шт.

39

RM 13224332

Зажим

1шт.

4

RM 13519368

Side window

FRONT TOP

1шт.

4

RM 13519368

Side window

FRONT TOP

1шт.

43

RM 13224381

Latch

1шт.

43

RM 13224381

Latch

1шт.

5

RM 13519376

Door window

BOTTOM

1шт.

5

RM 13519376

Door window

BOTTOM

1шт.

51

RM 13285440

Sealing

1шт.

51

RM 13285440

Sealing

1шт.

Выбрано товаров: 22