Запчасти Volvo SD150 S/N 0815001023 - 48808 Axle Drive Motor

Схема запчастей Volvo SD150 S/N 0815001023 - - 48808 Axle Drive Motor
FIT
1:1
100%

Артикул

Название

Примечание

Количество

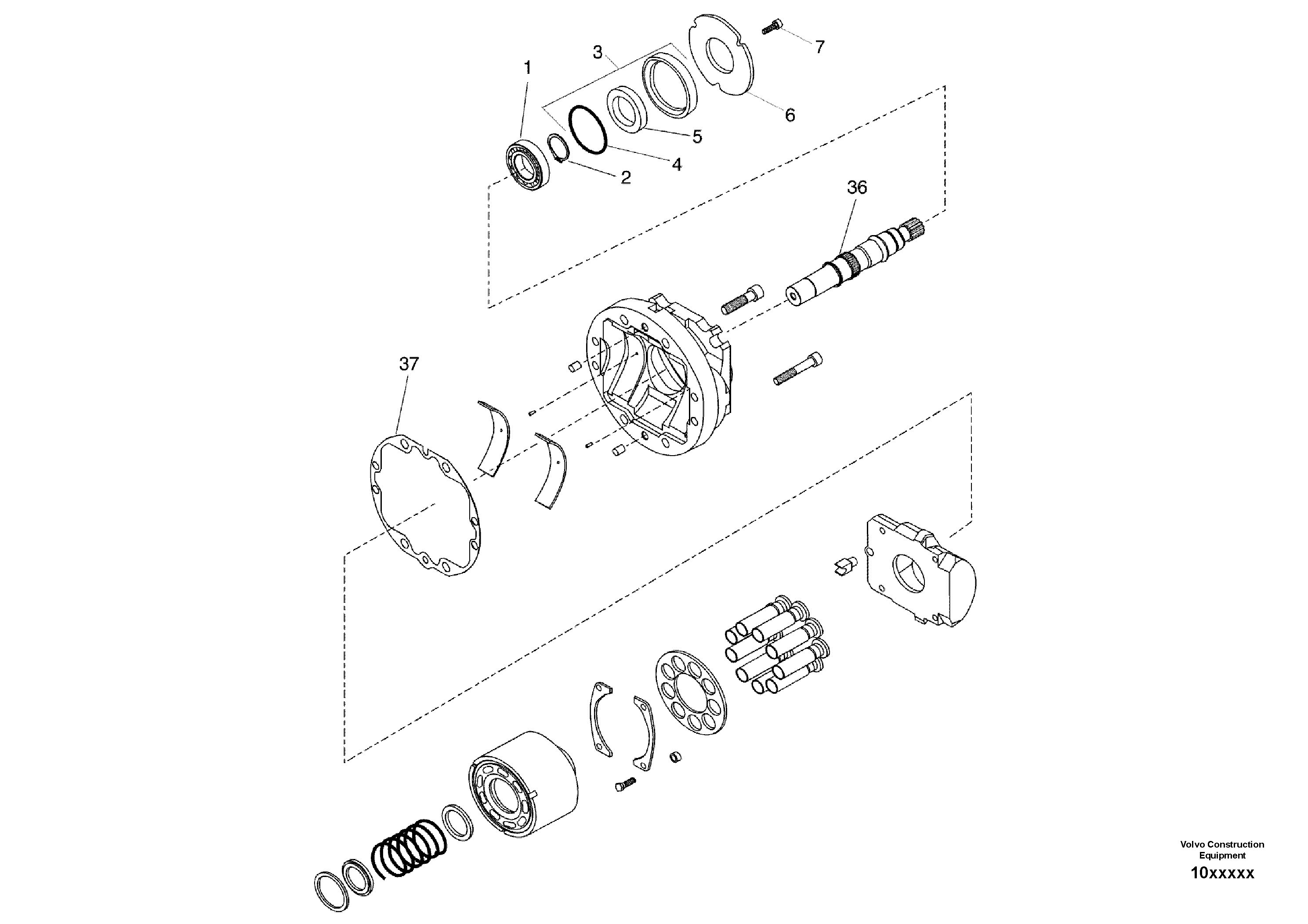
1

RM 59067538

Bearing Roller

1шт.

1

RM 59067538

Bearing Roller

1шт.

2

RM 59785519

Кольцо

1шт.

2

RM 59785519

Кольцо

1шт.

3

RM 59155192

Sealing Kit

1шт.

3

RM 59155192

Sealing Kit

1шт.

36

RM 58891805

Вал

14 TOOTH

1шт.

36

RM 58891805

Вал

14 TOOTH

1шт.

37

RM 58891755

Прокладка

1шт.

37

RM 58891755

Прокладка

1шт.

4

RM 59368845

Кольцо уплотнительное (О-кольцо)

1шт.

4

RM 59368845

Кольцо уплотнительное (О-кольцо)

1шт.

5

RM 59368837

Lip seal

1шт.

5

RM 59368837

Lip seal

1шт.

6

RM 59368852

Пластина

1шт.

7

RM 58815564

Болт

1шт.

7

RM 58815564

Болт

1шт.

Выбрано товаров: 17