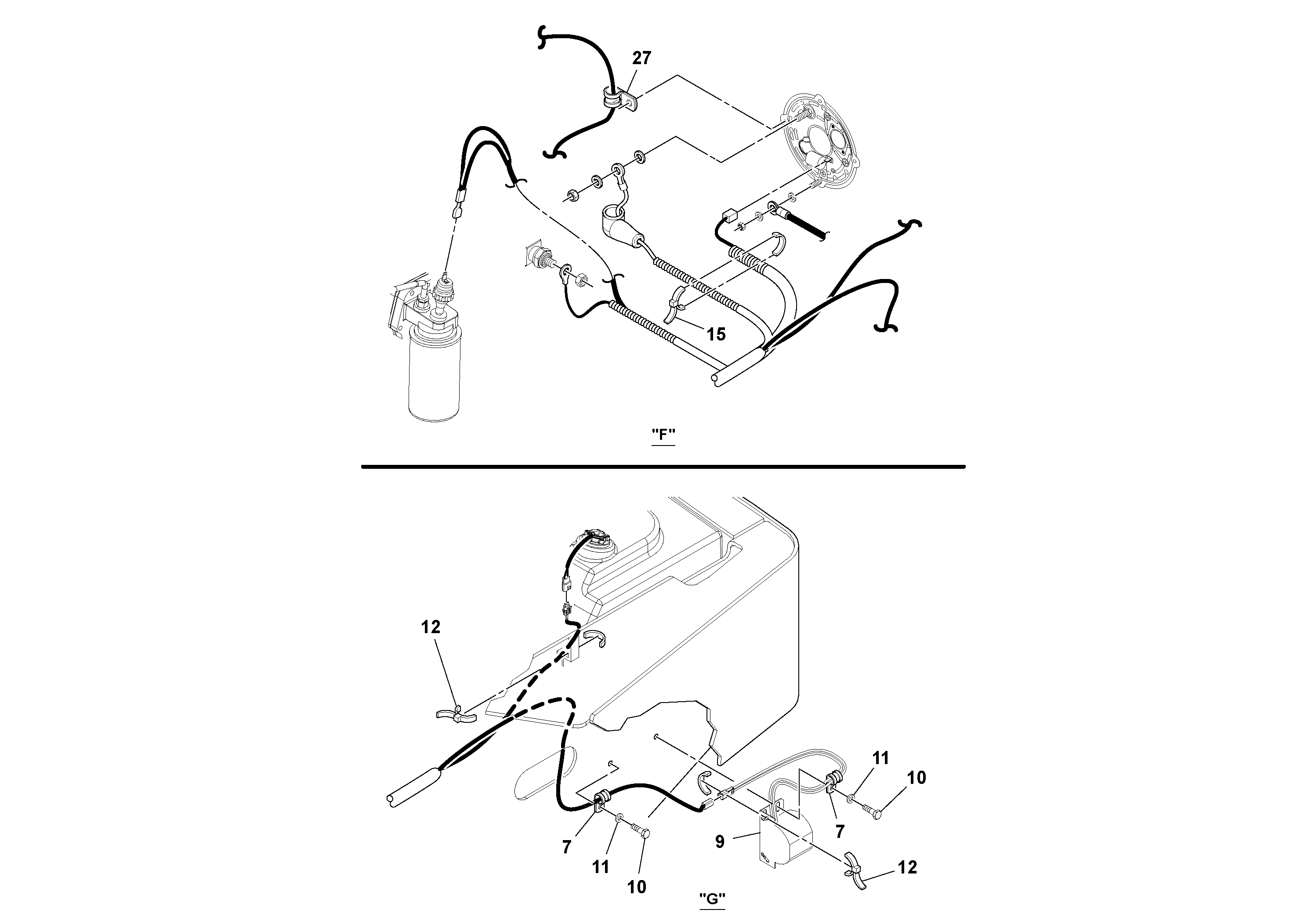
Запчасти Volvo SD160DX/SD190/SD200 S/N 197386 - 16124 Electrical Installation

Схема запчастей Volvo SD160DX/SD190/SD200 S/N 197386 - - 16124 Electrical Installation
FIT
1:1
100%

Артикул

Название

Примечание

Количество

RM 59436865

Receptacle

1шт.

10

RM 96702824

Винт шестигранник

1шт.

10

RM 96702824

Винт шестигранник

1шт.

11

RM 96712674

Шайба

1шт.

11

RM 96712674

Шайба

1шт.

12

RM 95373973

Locking wire

1шт.

12

RM 95373973

Locking wire

1шт.

15

RM 95424586

Cable tie

1шт.

15

RM 95424586

Cable tie

1шт.

27

RM 59852533

Зажим

1шт.

7

RM 59117317

Зажим

1шт.

7

RM 59117317

Зажим

1шт.

9

RM 13236203

Reversing warning unit

1шт.

Выбрано товаров: 13