Запчасти Volvo SD160DX/SD190/SD200 S/N 197386 - 20427 Electrical Installation

Схема запчастей Volvo SD160DX/SD190/SD200 S/N 197386 - - 20427 Electrical Installation
FIT
1:1
100%

Артикул

Название

Примечание

Количество

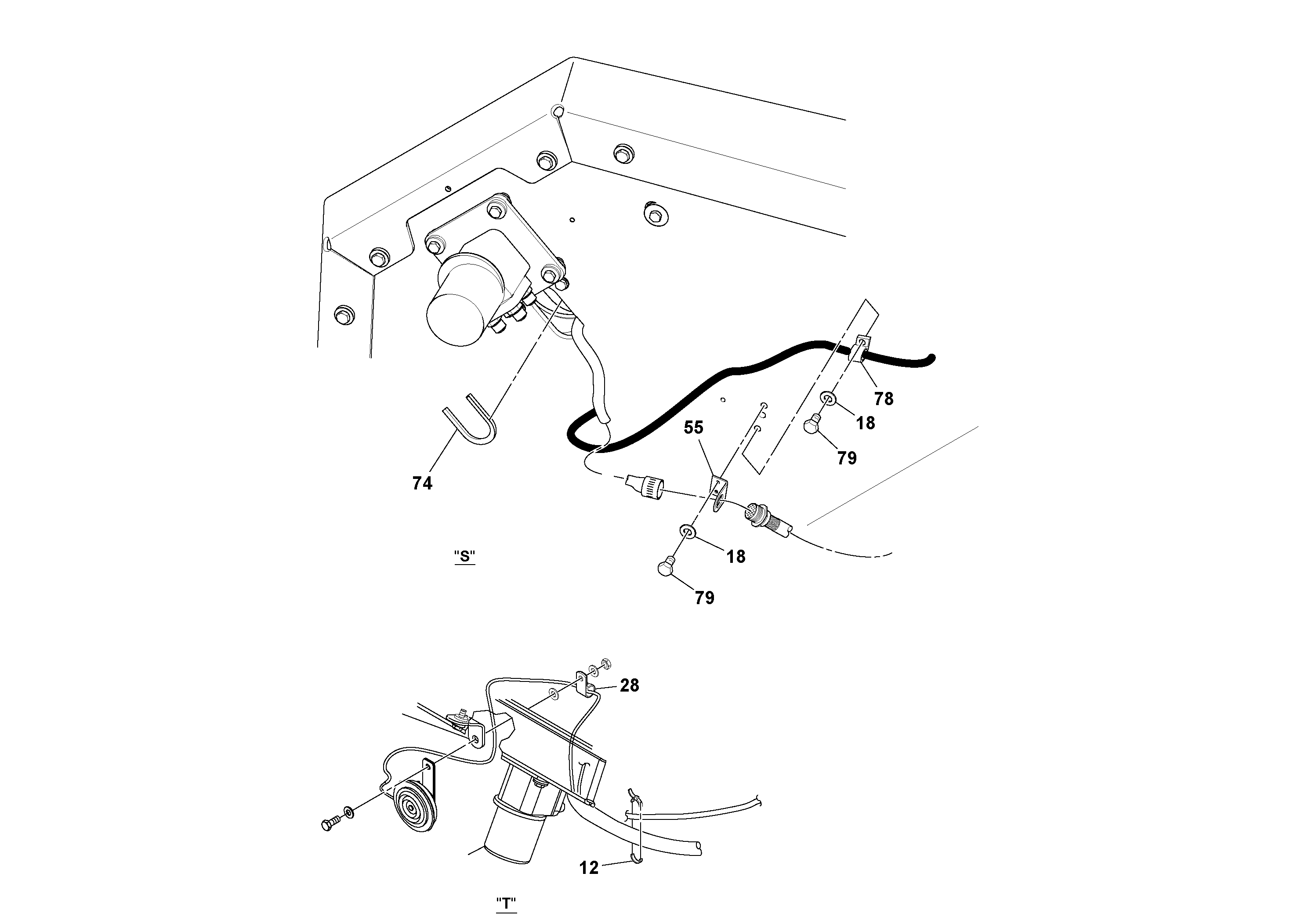
12

RM 95373973

Locking wire

1шт.

12

RM 95373973

Locking wire

1шт.

18

RM 96741038

Шайба

1шт.

18

RM 96741038

Шайба

1шт.

28

RM 59117309

Зажим

1шт.

28

RM 59117309

Зажим

1шт.

55

RM 43927680

Кронштейн

1шт.

55

RM 43927680

Кронштейн

1шт.

74

RM 50829662

Скоба (хомут)

1шт.

78

RM 59117333

Зажим

1шт.

79

RM 96705041

Винт шестигранник

1шт.

79

RM 96705041

Винт шестигранник

1шт.

Выбрано товаров: 12