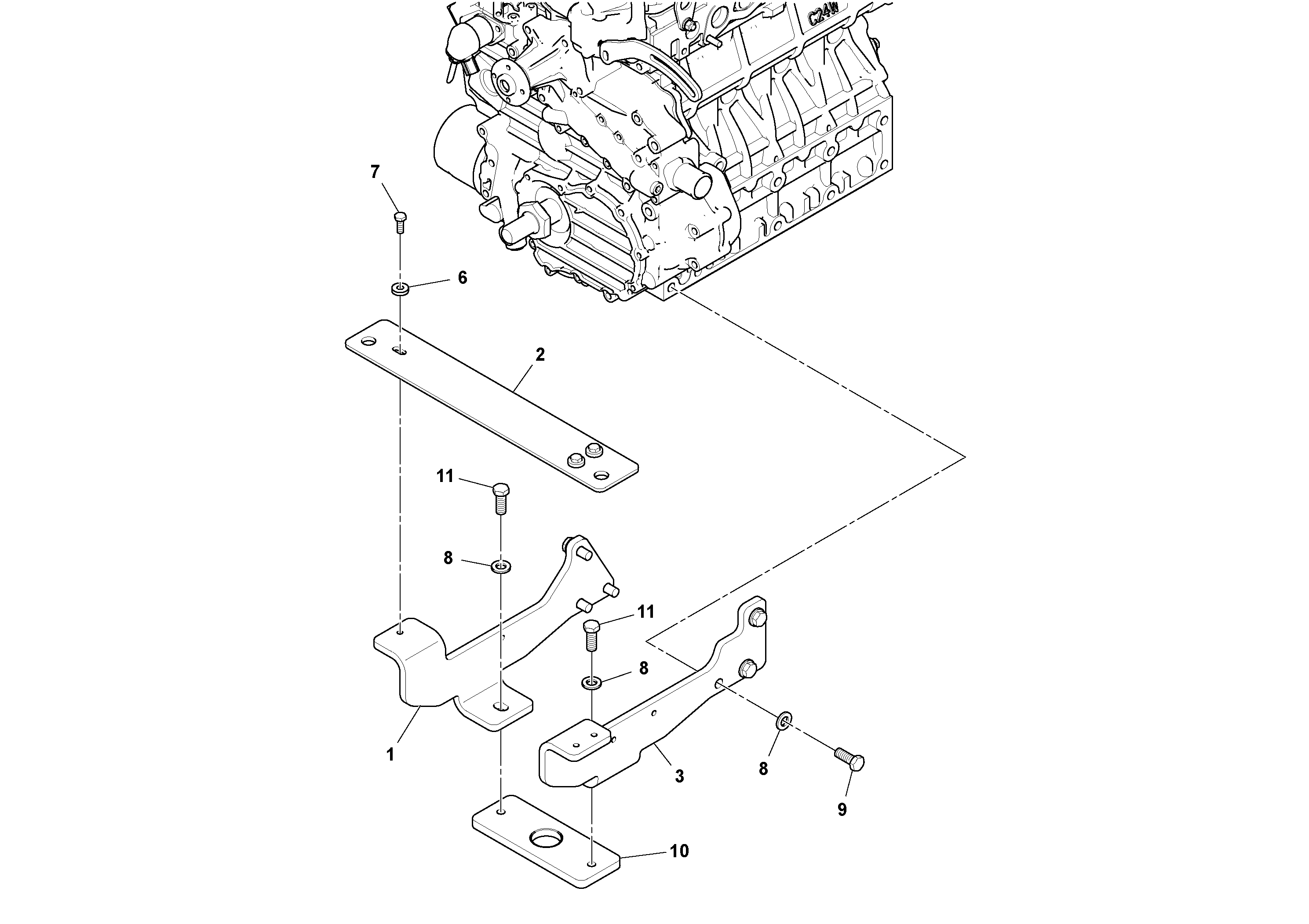
Запчасти Volvo SD25D/SD25F S/N 197379 - 106732 Radiator/Engine Mounts Installation

Схема запчастей Volvo SD25D/SD25F S/N 197379 - - 106732 Radiator/Engine Mounts Installation
FIT
1:1
100%

Артикул

Название

Примечание

Количество

1

RM 13325246

Пластина

RH

1шт.

10

RM 59256552

Mounting plate

FRONT

1шт.

11

RM 96702311

Винт шестигранник

1шт.

11

RM 96702311

Винт шестигранник

1шт.

2

RM 59226399

Mounting plate

TOP

1шт.

3

RM 13325238

Пластина

LH

1шт.

6

RM 96712674

Шайба

1шт.

6

RM 96712674

Шайба

1шт.

7

RM 96702824

Винт шестигранник

1шт.

7

RM 96702824

Винт шестигранник

1шт.

8

RM 96738596

Шайба

1шт.

9

RM 96729595

Винт шестигранник

1шт.

9

RM 96729595

Винт шестигранник

1шт.

Выбрано товаров: 13