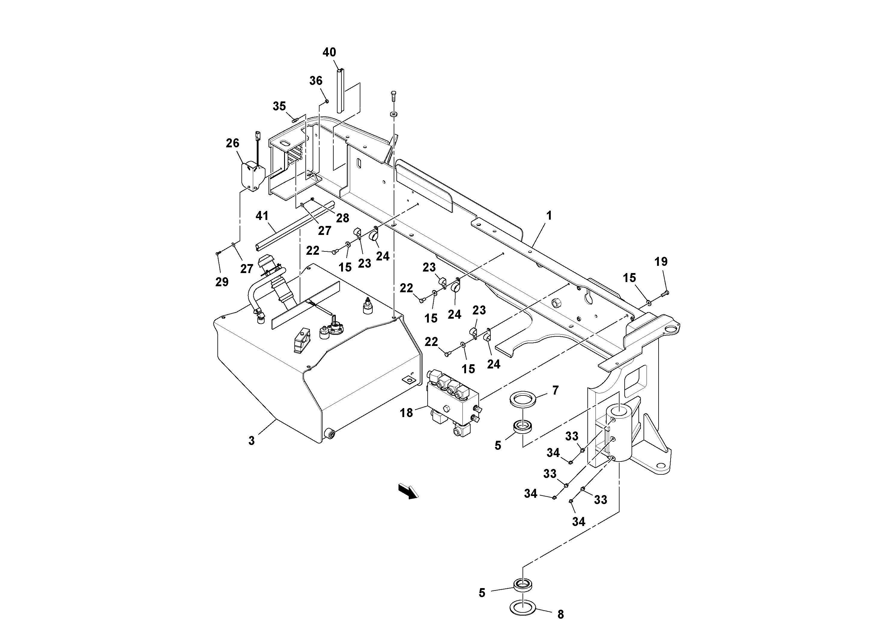
Запчасти Volvo SD45D/SD45F S/N 197409 - 94006 Rear Frame Installation

Схема запчастей Volvo SD45D/SD45F S/N 197409 - - 94006 Rear Frame Installation
FIT
1:1
100%

Артикул

Название

Примечание

Количество

RM 43979350

Frame

S/N -200769

1шт.

1

RM 46641353

Frame

S/N 200769-

1шт.

15

RM 96711833

Шайба

1шт.

15

RM 96711833

Шайба

1шт.

19

RM 96701917

Винт шестигранник

1шт.

19

RM 96701917

Винт шестигранник

1шт.

22

RM 96702287

Винт шестигранник

1шт.

22

RM 96702287

Винт шестигранник

1шт.

23

RM 59442046

Зажим

1шт.

24

RM 95457586

Зажим

1шт.

26

RM 13295605

Alarm kit

1шт.

27

RM 96704663

Шайба

1шт.

27

RM 96704663

Шайба

1шт.

28

RM 96702873

Гайка

1шт.

28

RM 96702873

Гайка

1шт.

29

RM 96704564

Винт шестигранник

1шт.

29

RM 96704564

Винт шестигранник

1шт.

33

RM 95201547

Фиттинг

1шт.

33

RM 95201547

Фиттинг

1шт.

34

RM 50270248

Cap

1шт.

34

RM 50270248

Cap

1шт.

35

RM 59475202

Ball stud

1шт.

36

RM 95929782

Hexagon nut

1шт.

36

RM 95929782

Hexagon nut

1шт.

40

RM 43854975

Sealing

S/N 200769-

1шт.

41

RM 43854967

Sealing

S/N 200769-

1шт.

5

RM 13187877

Подшипник

1шт.

7

RM 13187968

Кольцо уплотнительное

1шт.

8

RM 13187976

Кольцо уплотнительное

1шт.

Выбрано товаров: 29