Запчасти Volvo SD45D/SD45F S/N 197409 - 47747 Fuel Tank Assembly

Схема запчастей Volvo SD45D/SD45F S/N 197409 - - 47747 Fuel Tank Assembly
FIT
1:1
100%

Артикул

Название

Примечание

Количество

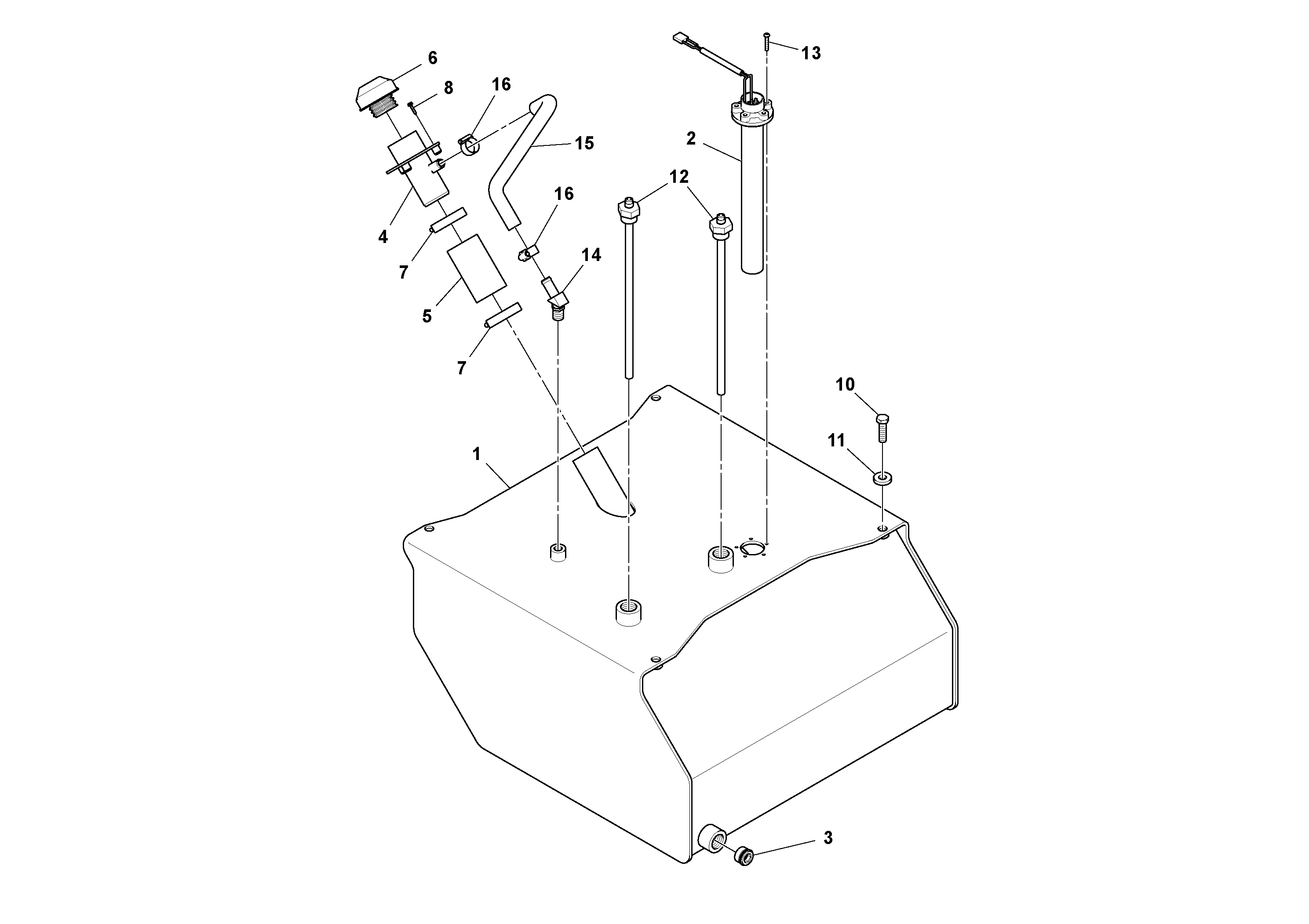
1

RM 13320353

Топливный бак (бензобак)

1шт.

10

RM 96702444

Винт шестигранник

1шт.

10

RM 96702444

Винт шестигранник

1шт.

11

RM 96712237

Плоская шайба

1шт.

11

RM 96712237

Плоская шайба

1шт.

12

RM 13235189

Fuel pipe

1шт.

13

RM 96740436

Болт

1шт.

14

RM 13321062

Фиттинг

1шт.

15

RM 13307491

Шланг топливный

1шт.

16

RM 95671285

Hose clamp

1шт.

2

RM 13276787

Fuel level sensor

1шт.

3

RM 59144428

Пробка магнитная

1шт.

3

RM 59144428

Пробка магнитная

1шт.

4

RM 59212936

Feed pipe

1шт.

5

RM 13270228

Шланг топливный

1шт.

6

RM 59212951

Fuel filler cap

1шт.

7

RM 95302683

Hose clamp

1шт.

8

RM 95988093

Болт

1шт.

8

RM 95988093

Болт

1шт.

Выбрано товаров: 19