Запчасти Volvo SD70D/SD70F/SD77DX/SD77F S/N 197387- 96914 Work lights Installation

Схема запчастей Volvo SD70D/SD70F/SD77DX/SD77F S/N 197387- - 96914 Work lights Installation
FIT
1:1
100%

Артикул

Название

Примечание

Количество

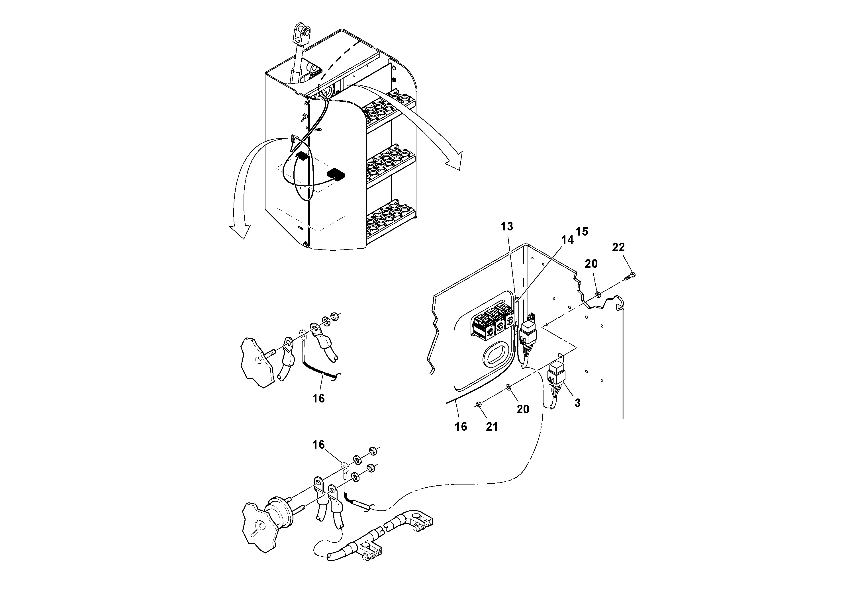
13

RM 13322060

Terminal block

1шт.

14

RM 96705165

Плоская шайба

1шт.

14

RM 96705165

Плоская шайба

1шт.

15

RM 96705173

Винт шестигранник

1шт.

15

RM 96705173

Винт шестигранник

1шт.

16

RM 13307749

Ground cable

1шт.

20

RM 96738554

Плоская шайба

1шт.

20

RM 96738554

Плоская шайба

1шт.

21

RM 96704580

Lock nut

1шт.

21

RM 96704580

Lock nut

1шт.

22

RM 96705728

Винт шестигранник

1шт.

22

RM 96705728

Винт шестигранник

1шт.

3

RM 13492665

Cable

WORKLIGHT ROPS

1шт.

Выбрано товаров: 13