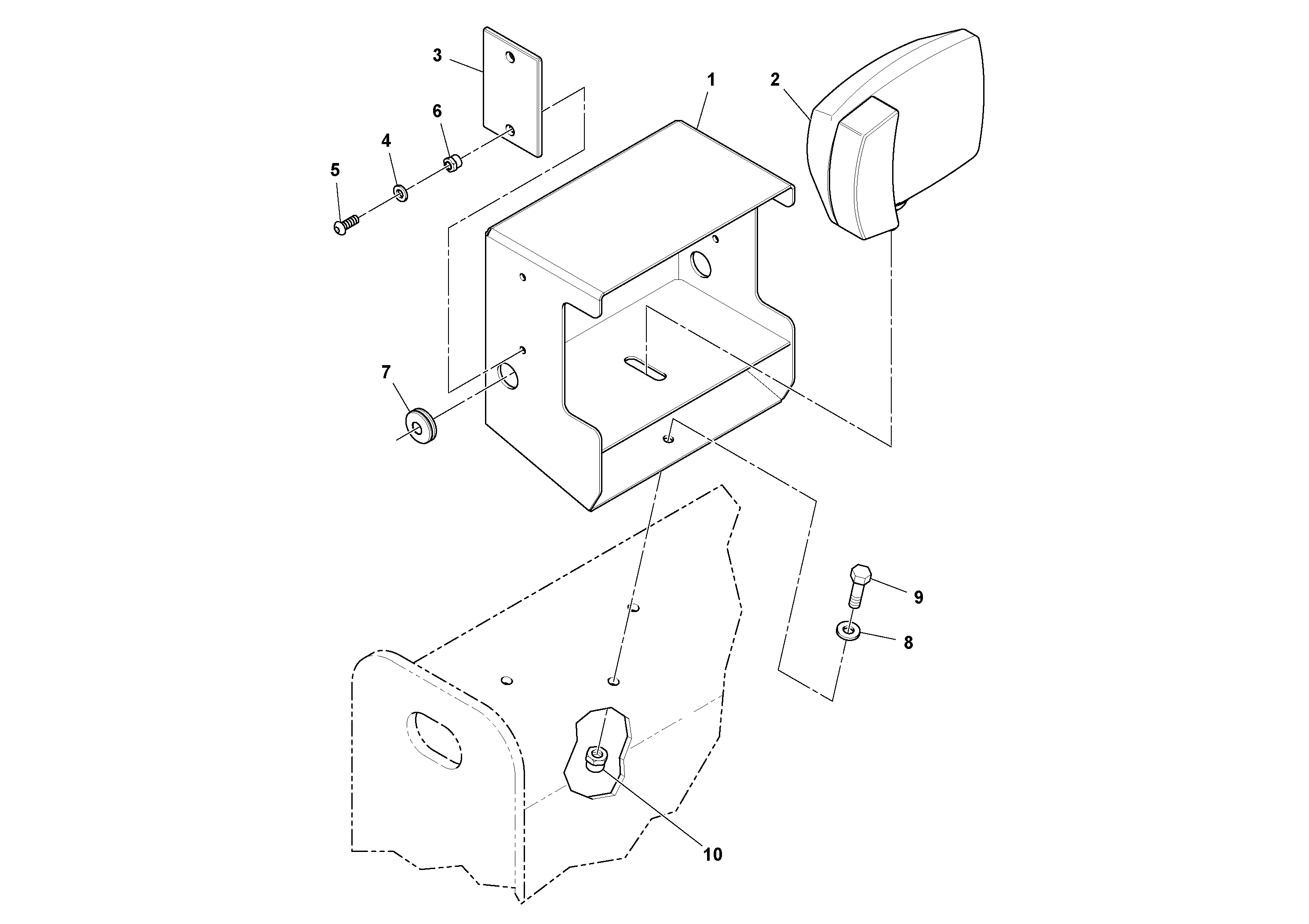
Запчасти Volvo SD70D/SD70F/SD77DX/SD77F S/N 197387- 99946 Right Front Headlight Assembly

Схема запчастей Volvo SD70D/SD70F/SD77DX/SD77F S/N 197387- - 99946 Right Front Headlight Assembly
FIT
1:1
100%

Артикул

Название

Примечание

Количество

1

RM 13389127

Картер (корпус)

1шт.

10

RM 96704606

Lock nut

1шт.

10

RM 96704606

Lock nut

1шт.

2

RM 13352174

Additional light

RH

1шт.

3

RM 59291070

Светоотражатель (отражатель)

AMBER

1шт.

4

RM 96741053

Шайба

1шт.

4

RM 96741053

Шайба

1шт.

5

RM 96727987

Болт

1шт.

6

RM 96704598

Lock nut

1шт.

6

RM 96704598

Lock nut

1шт.

7

RM 58893108

Уплотнительная втулка

1шт.

8

RM 96741038

Шайба

1шт.

8

RM 96741038

Шайба

1шт.

9

RM 96719786

Винт шестигранник

1шт.

9

RM 96719786

Винт шестигранник

1шт.

Выбрано товаров: 15