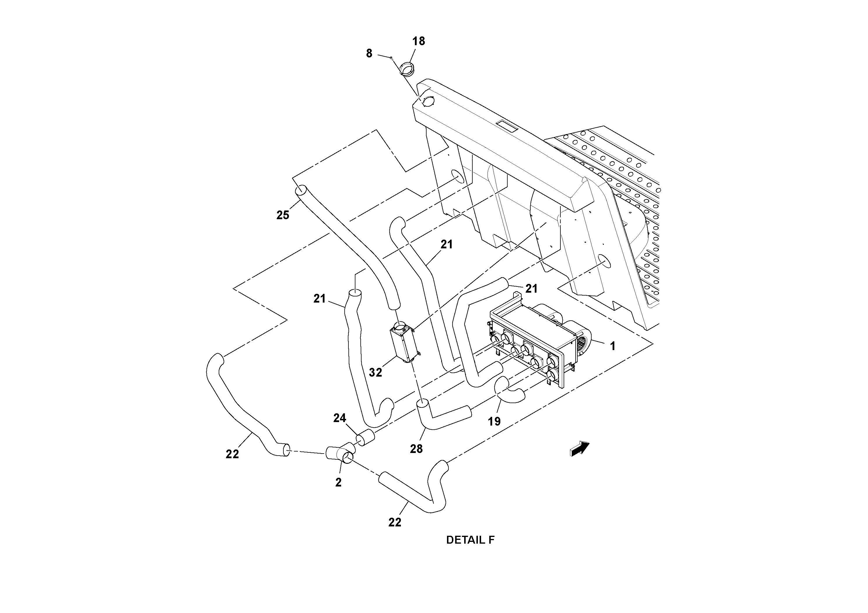
Запчасти Volvo SD77DA S/N 197788- 106015 Cab Heater Assembly

Схема запчастей Volvo SD77DA S/N 197788- - 106015 Cab Heater Assembly
FIT
1:1
100%

Артикул

Название

Примечание

Количество

RM 13262464

Air filter insert

1шт.

1

RM 13237888

Heater

1шт.

18

RM 13161732

Адаптер

1шт.

19

RM 13176508

Шланг

BOTTOM

1шт.

2

RM 13162094

Splice

1шт.

21

RM 13295712

Шланг

UPPER SIDE

1шт.

22

RM 13176516

Шланг

LOWER SIDE

1шт.

24

RM 59290742

Connecting hose

1шт.

25

RM 59290734

Шланг

TOP

1шт.

28

RM 59290783

Шланг

BOTTOM

1шт.

32

RM 59290767

Фильтр воздушный

FRESH AIR

1шт.

8

RM 96728548

Болт

1шт.

Выбрано товаров: 12