Запчасти Volvo SD77DA S/N 197788- 65069 Drum Assembly

Схема запчастей Volvo SD77DA S/N 197788- - 65069 Drum Assembly
FIT
1:1
100%

Артикул

Название

Примечание

Количество

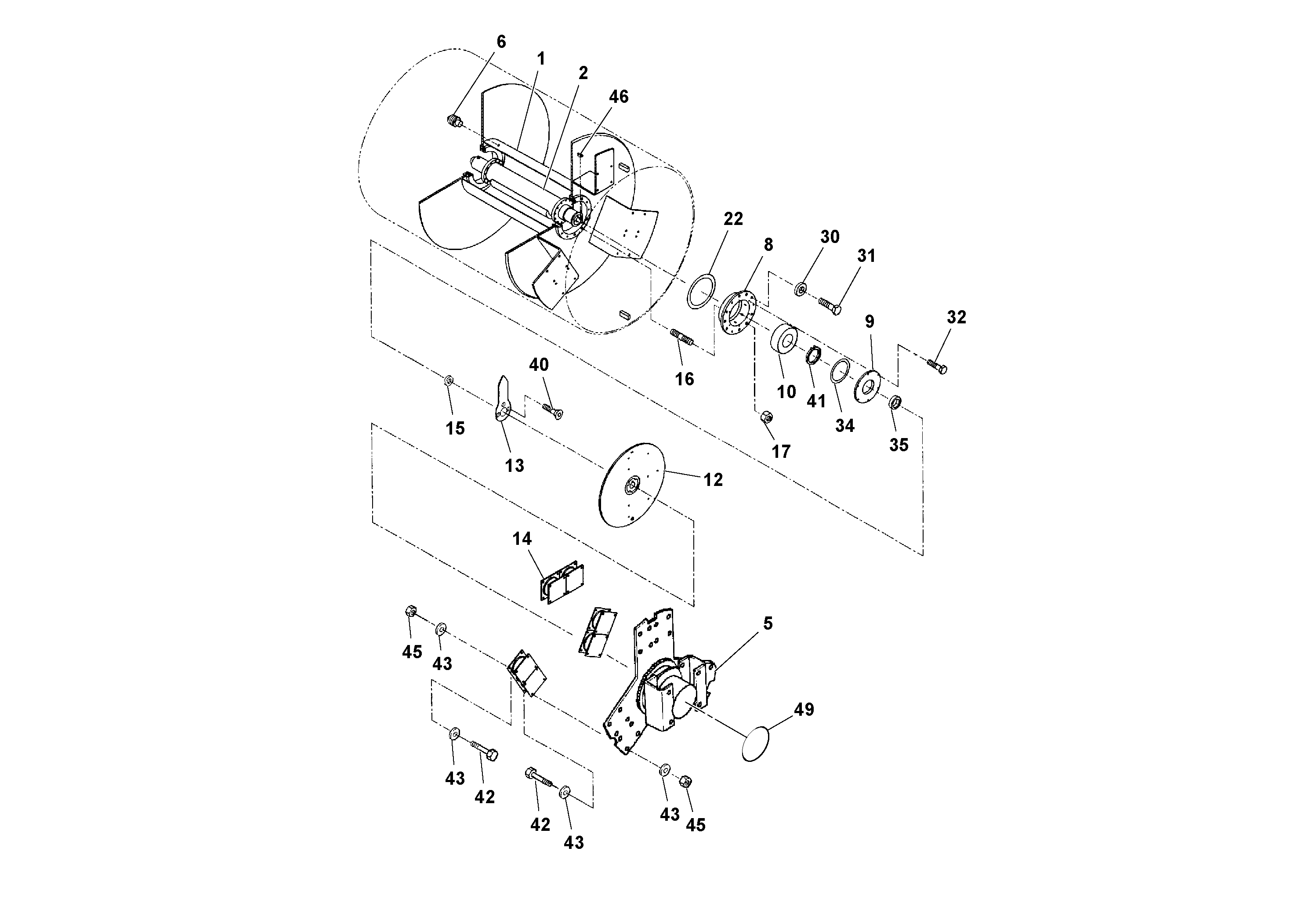
1

RM 59166694

Drum

1шт.

10

RM 58880360

Подшипник

1шт.

10

RM 58880360

Подшипник

1шт.

13

RM 59298331

Indicator

1шт.

14

RM 59900696

Rubber damper

1шт.

14

RM 59900696

Rubber damper

1шт.

15

RM 59090712

Кольцо уплотнительное

1шт.

16

RM 58796038

Шпилька

1шт.

17

RM 59582239

Wheel nut

1шт.

22

RM 95989059

Кольцо уплотнительное (О-кольцо)

1шт.

22

RM 95989059

Кольцо уплотнительное (О-кольцо)

1шт.

30

RM 59565044

Шайба

1шт.

31

RM 95373585

Винт шестигранник

1шт.

32

RM 95738779

Винт шестигранник

1шт.

34

RM 95988952

Кольцо уплотнительное (О-кольцо)

1шт.

35

RM 54610696

Кольцо уплотнительное

1шт.

40

RM 96702394

Винт шестигранник

1шт.

40

RM 96702394

Винт шестигранник

1шт.

41

RM 95428520

Retaining ring

1шт.

42

RM 95919585

Винт шестигранник

1шт.

42

RM 95919585

Винт шестигранник

1шт.

43

RM 95922399

Шайба

1шт.

43

RM 95922399

Шайба

1шт.

45

RM 95922902

Hexagon nut

1шт.

45

RM 95922902

Hexagon nut

1шт.

46

RM 95531703

Key

1шт.

49

RM 13160957

Крышка

1шт.

6

RM 59600593

Tube plug

1шт.

6

RM 59600593

Tube plug

1шт.

8

RM 59209361

Bearing housing

1шт.

9

RM 59277178

Bearing cover

1шт.

Выбрано товаров: 31