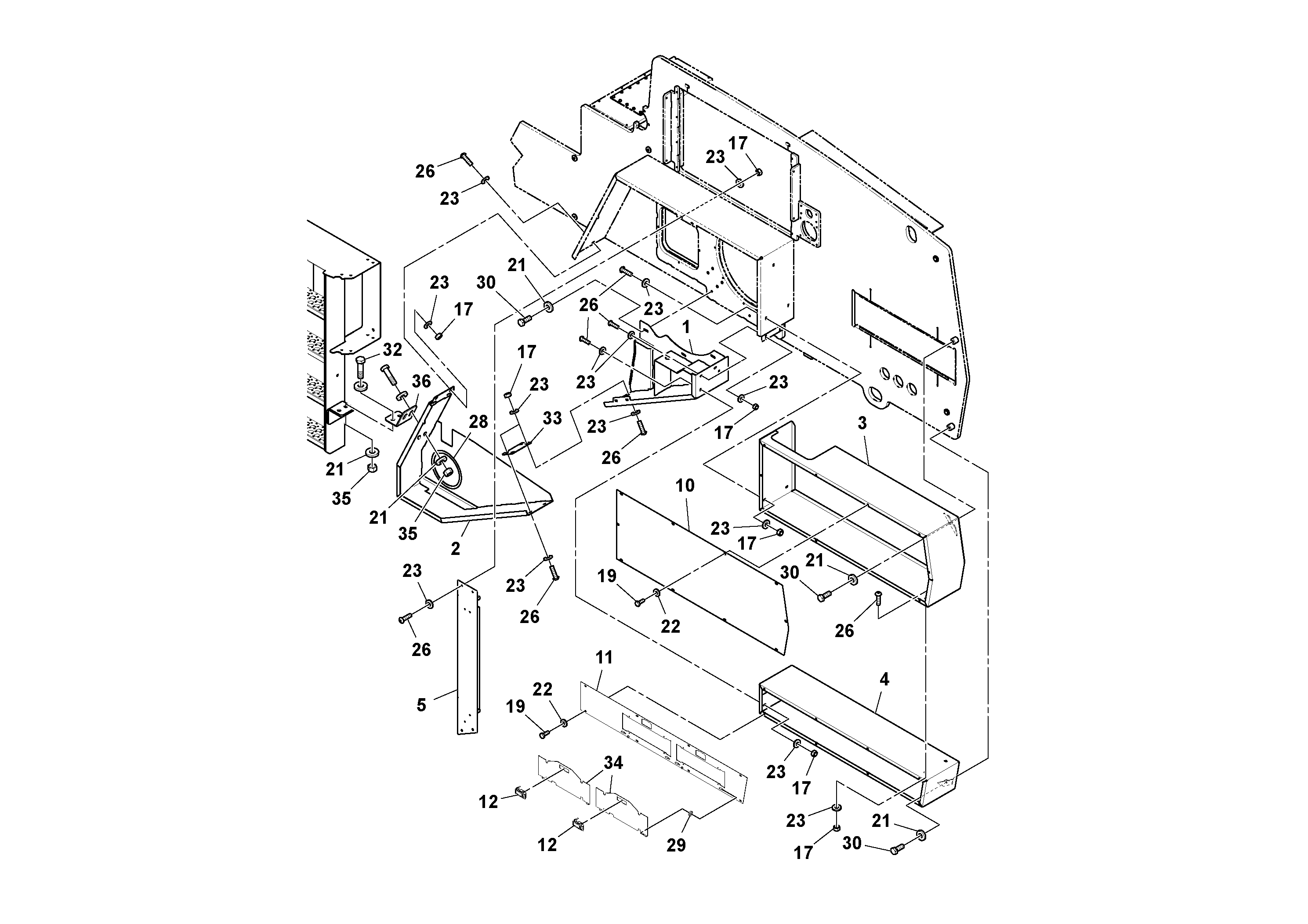
Запчасти Volvo MT2000 S/N 197282,198000- 80879 Conveyor Guards Installation

Схема запчастей Volvo MT2000 S/N 197282,198000- - 80879 Conveyor Guards Installation
FIT
1:1
100%

Артикул

Название

Примечание

Количество

1

RM 43897289

Belt protector

1шт.

10

RM 19293570

Panel

1шт.

11

RM 46645883

Door panel

1шт.

12

RM 19297449

Latch

1шт.

17

RM 96704812

Hexagon nut

1шт.

17

RM 96704812

Hexagon nut

1шт.

19

RM 96702824

Винт шестигранник

1шт.

19

RM 96702824

Винт шестигранник

1шт.

2

RM 43991066

Belt protector

1шт.

21

RM 96712237

Плоская шайба

1шт.

21

RM 96712237

Плоская шайба

1шт.

22

RM 96712674

Шайба

1шт.

22

RM 96712674

Шайба

1шт.

23

RM 96711833

Шайба

1шт.

23

RM 96711833

Шайба

1шт.

26

RM 96704309

Винт шестигранник

1шт.

26

RM 96704309

Винт шестигранник

1шт.

28

RM 43992262

Прокладка стекла

1шт.

29

RM 19297746

Втулка

1шт.

3

RM 43890631

Silencer

1шт.

30

RM 96702311

Винт шестигранник

1шт.

30

RM 96702311

Винт шестигранник

1шт.

32

RM 96715081

Винт шестигранник

1шт.

33

RM 43806884

Соединитель

1шт.

34

RM 43916170

Vandal protection

1шт.

35

RM 96719174

Hexagon nut

1шт.

35

RM 96719174

Hexagon nut

1шт.

36

RM 43991124

Кронштейн

1шт.

4

RM 43869478

Box

1шт.

5

RM 18003871

Distributor

1шт.

Выбрано товаров: 30