Запчасти Volvo MT2000 S/N 197282,198000- 92929 Moba Sensors

Схема запчастей Volvo MT2000 S/N 197282,198000- - 92929 Moba Sensors
FIT
1:1
100%

Артикул

Название

Примечание

Количество

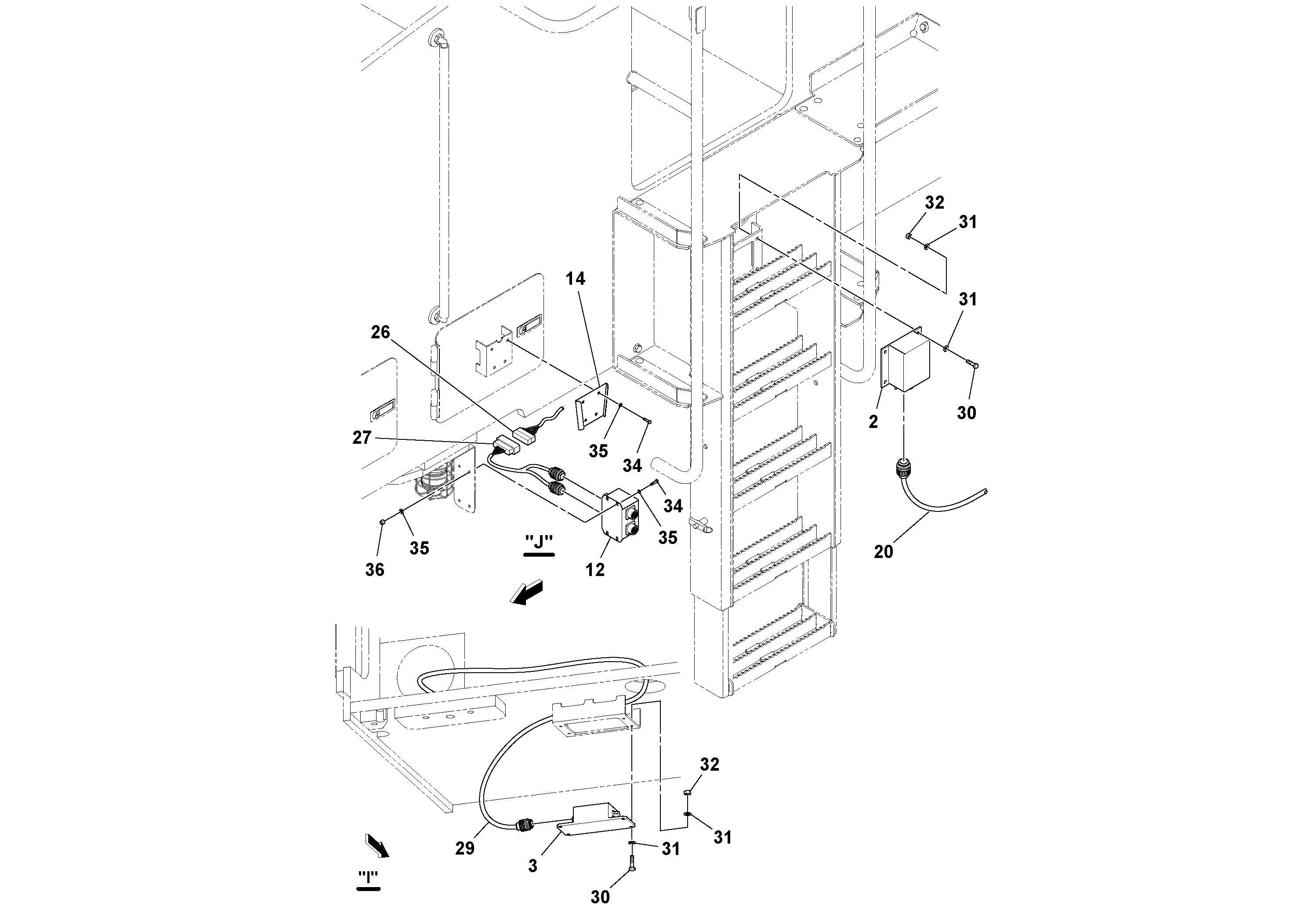
12

RM 19291988

Junction box

1шт.

14

RM 43860402

Кронштейн

1шт.

2

RM 18007120

Sensor

1шт.

20

RM 43943398

Cable

1шт.

26

RM 43878321

Cable harness

1шт.

27

RM 43878347

Cable harness

1шт.

29

RM 43943380

Cable harness

1шт.

3

RM 18007138

Sensor

1шт.

30

RM 96705587

Винт шестигранник

1шт.

30

RM 96705587

Винт шестигранник

1шт.

31

RM 96741038

Шайба

1шт.

31

RM 96741038

Шайба

1шт.

32

RM 96701370

Гайка

1шт.

32

RM 96701370

Гайка

1шт.

32

RM 96701370

Nut

1шт.

34

RM 96705736

Винт шестигранник

1шт.

34

RM 96705736

Винт шестигранник

1шт.

35

RM 96714415

Плоская шайба

1шт.

36

RM 96704580

Lock nut

1шт.

36

RM 96704580

Lock nut

1шт.

Выбрано товаров: 20