Запчасти Volvo EC14 TYPE 246, 271 23849 Engine acceleration control

Схема запчастей Volvo EC14 TYPE 246, 271 - 23849 Engine acceleration control
FIT
1:1
100%

Артикул

Название

Примечание

Количество

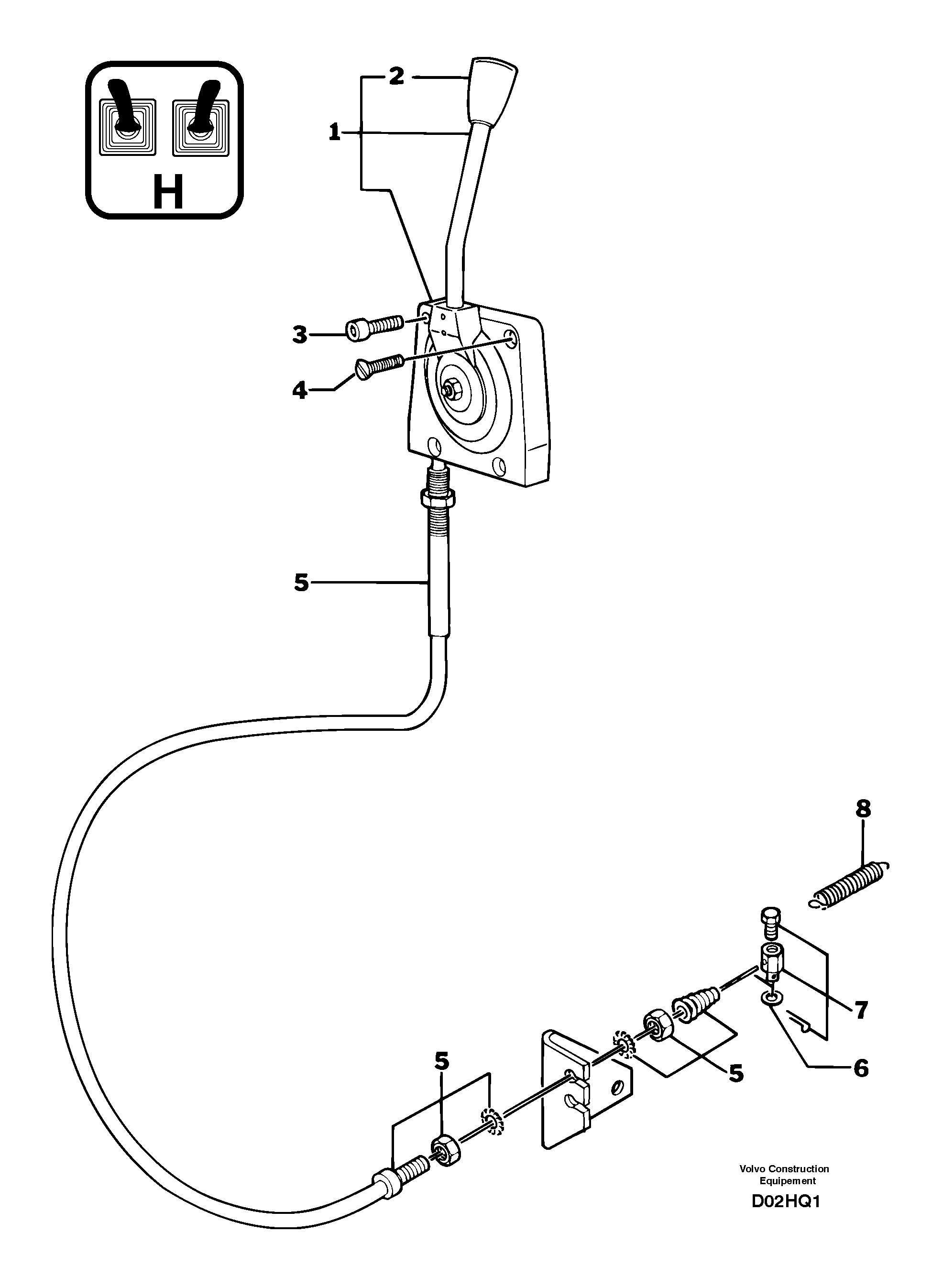
1

PJ 7411051

Handle

1шт.

2

PJ 7412182

Lever Knob

1шт.

3

PJ 4290007

Болт

CHc M6X20

1шт.

4

PJ 4240003

Болт

F/90 M6X20

1шт.

5

PJ 7413000

Wire rope

1шт.

6

PJ 4490004

Шайба

1шт.

7

PJ 3780028

Stub

1шт.

8

PJ 4800017

Пружина

1шт.

Выбрано товаров: 8