Запчасти Volvo EC14 TYPE 246, 271 24348 Pistons / connecting rods / crankshaft / flywheel

Схема запчастей Volvo EC14 TYPE 246, 271 - 24348 Pistons / connecting rods / crankshaft / flywheel
FIT
1:1
100%

Артикул

Название

Примечание

Количество

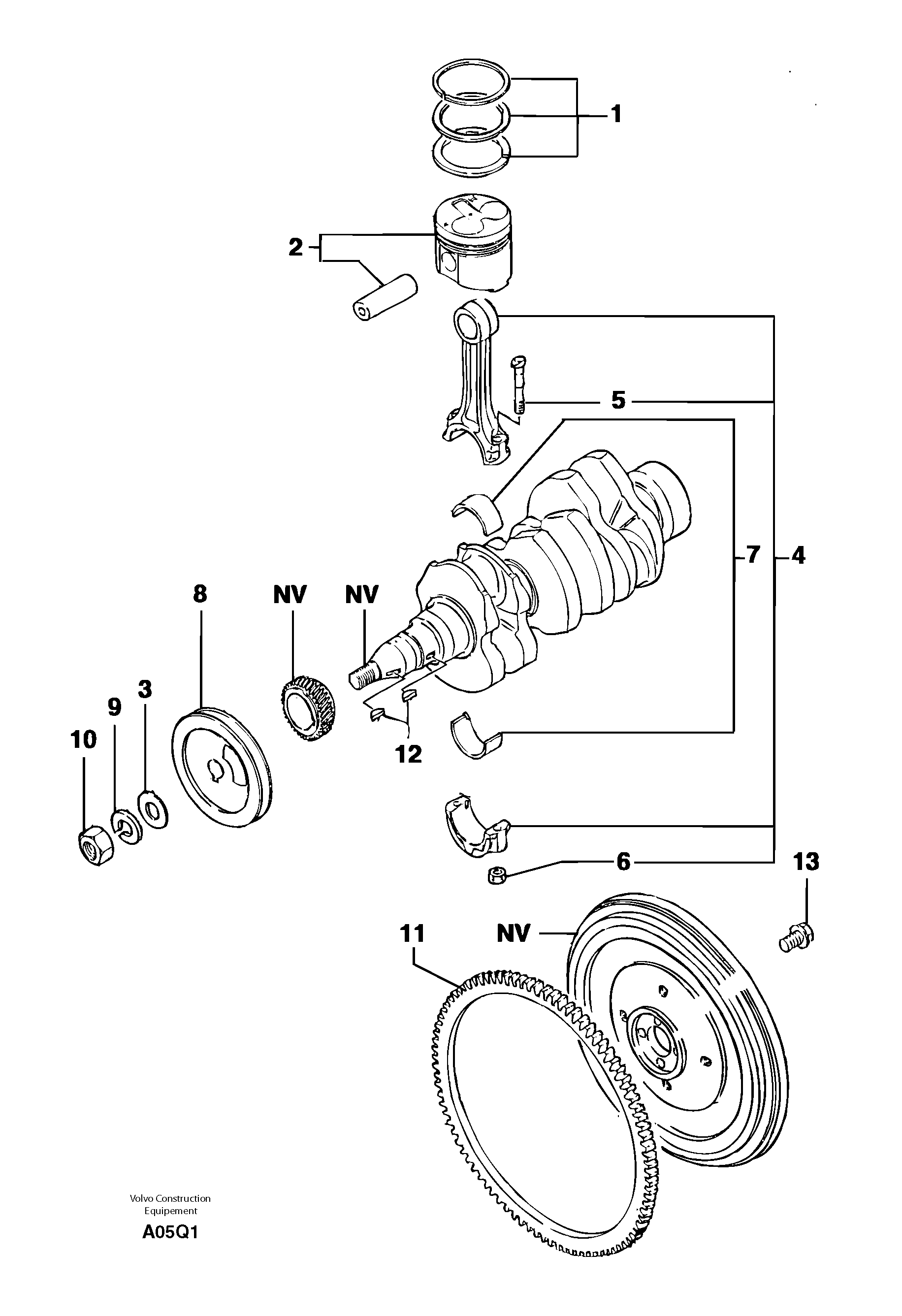
1

PJ 7410666

Piston rings (kit)

STD SZ

1шт.

1

PJ 7411183

Piston rings (kit)

0,50mm/0.0197in

1шт.

1

PJ 7411182

Piston rings (kit)

0,25mm/0.0098in

1шт.

10

PJ 7410598

Гайка

1шт.

11

PJ 7410588

Tooth Wheel

1шт.

12

PJ 7410602

Key

1шт.

13

PJ 7410589

Болт

1шт.

2

PJ 7415182

Поршень

STD SZ

1шт.

2

PJ 7415742

Поршень

0,25mm/0.0098in

1шт.

2

PJ 7415743

Поршень

0,50mm/0.0197in

1шт.

3

PJ 7410600

Шайба

1шт.

4

PJ 7415744

Шток поршня

1шт.

5

PJ 7415819

Болт

1шт.

6

PJ 7410045

Гайка

1шт.

7

PJ 7413019

Bearings (kit)

0,50mm/0.0197in

1шт.

7

PJ 7413018

Bearings (kit)

0,25mm/0.0098in

1шт.

7

PJ 7413017

Bearings (kit)

STD SZ

1шт.

8

PJ 7415745

Шкив

1шт.

9

PJ 7410601

Стопорная шайба (кольцо)

1шт.

Выбрано товаров: 19