Запчасти Volvo EC14 TYPE 246, 271 102401 Control levers : travelling

Схема запчастей Volvo EC14 TYPE 246, 271 - 102401 Control levers : travelling
FIT
1:1
100%

Артикул

Название

Примечание

Количество

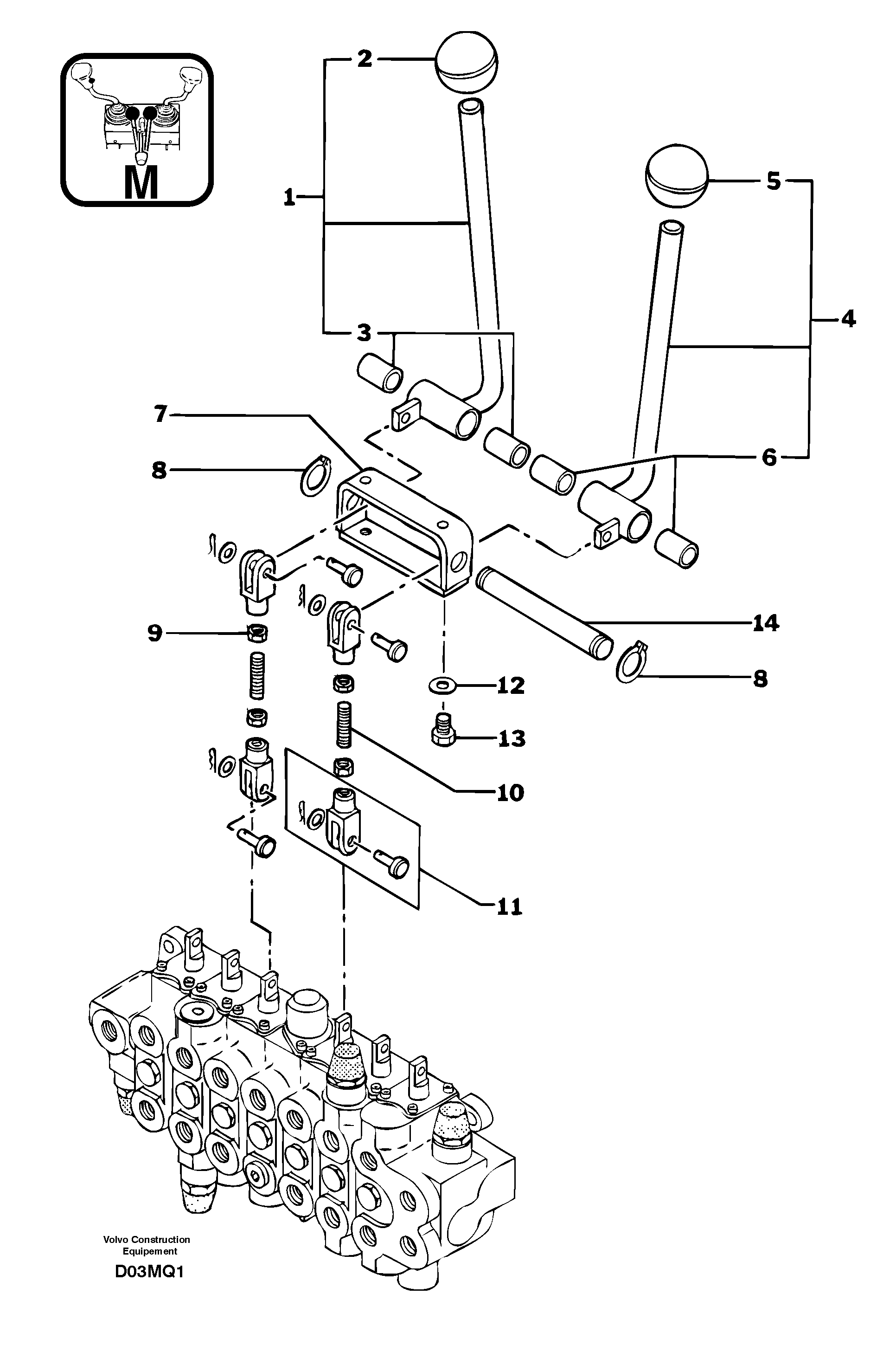
1

PJ 7450061

Lever

RH

1шт.

10

PJ 4400001

Щуп

1шт.

11

PJ 5010060

Вилка

1шт.

12

VOE 13955894

Шайба

MU8

1шт.

12

VOE 13955894

Шайба

MU8

1шт.

13

PJ 4380037

Болт

HM8X12

1шт.

14

PJ 3780013

Stub Axle

1шт.

2

PJ 5270011

Lever Knob

1шт.

3

PJ 4590005

Втулка

1шт.

4

PJ 7450062

Lever

LH

1шт.

5

PJ 5270011

Lever Knob

1шт.

6

PJ 4590005

Втулка

1шт.

7

PJ 5270014

Опора

1шт.

8

VOE 914450

Retaining ring

1шт.

8

VOE 914450

Кольцо стопорное

1шт.

9

PJ 4410013

Гайка

HM6

1шт.

Выбрано товаров: 16