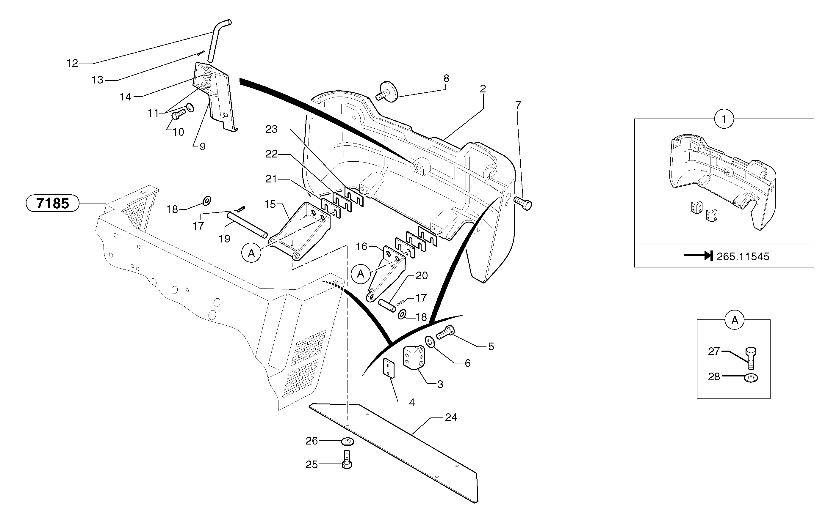
Запчасти Volvo EC15 104639 Противовес EC15 TYPE 265 XR

Схема запчастей Volvo EC15 - 104639 Противовес EC15 TYPE 265 XR
FIT
1:1
100%

Артикул

Название

Примечание

Количество

1

PJ 6860227

Ремкомплект

S/N - 265.11545

1шт.

10

PJ 4380067

Болт

HM12X25

1шт.

11

VOE 983336

Шайба

MU12

1шт.

11

VOE 983336

Шайба

MU12

1шт.

12

VOE 11805802

Палец

1шт.

13

PJ 4550067

Палец

1шт.

14

PJ 4810045

Пружина

1шт.

15

PJ 3560577

Опора

1шт.

16

PJ 3560578

Опора

1шт.

17

PJ 4570061

Палец

1шт.

18

VOE 955900

Шайба

MU16

1шт.

18

VOE 955900

Шайба

MU16

1шт.

19

VOE 11805516

Палец

1шт.

2

PJ 2380052

Противовес

S/N 265.11546 -

1шт.

20

VOE 11805520

Палец

1шт.

21

VOE 11804930

Вставка

5 mm, 0.1969 in

1шт.

22

VOE 11804931

Вставка

3 mm, 0.1181 in

1шт.

23

VOE 11804932

Вставка

1 mm, 0.0394 in

1шт.

24

VOE 11804980

Пластина

1шт.

25

PJ 4380043

Болт

HM8X20

1шт.

26

VOE 13955894

Шайба

MU8

1шт.

26

VOE 13955894

Шайба

MU8

1шт.

27

PJ 4380055

Болт

HM10X30

1шт.

28

VOE 11803008

Шайба

3 mm, 0.1181 in

1шт.

3

VOE 11805671

Attachment

S/N 265.11546 - ,LH

1шт.

3

VOE 11805670

Attachment

S/N 265.11546 - ,RH

1шт.

4

VOE 11804967

Пластина

1шт.

5

VOE 983244

Винт шестигранник

HM8X30

1шт.

5

VOE 983244

Винт шестигранник

HM8X30

1шт.

6

VOE 13955894

Шайба

MU8

1шт.

6

VOE 13955894

Шайба

MU8

1шт.

7

PJ 4380067

Болт

HM12X25

1шт.

8

PJ 5170060

Светоотражатель (отражатель)

1шт.

9

PJ 3630391

Опора

1шт.

Выбрано товаров: 34