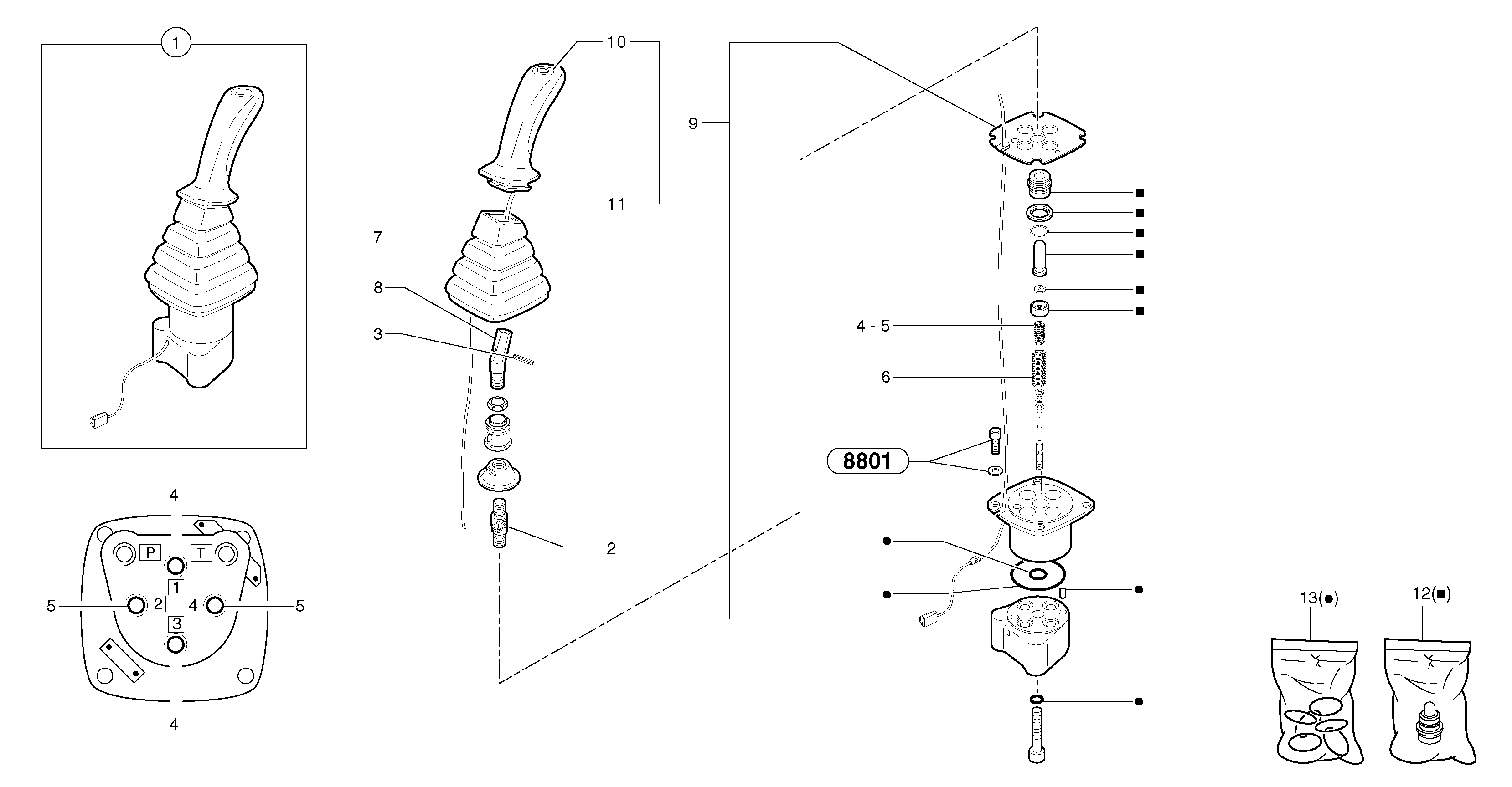
Запчасти Volvo EC15 5975 Control lever : boom / bucket ( right ) EC15 TYPE 261 XT/XTV

Схема запчастей Volvo EC15 - 5975 Control lever : boom / bucket ( right ) EC15 TYPE 261 XT/XTV
FIT
1:1
100%

Артикул

Название

Примечание

Количество

1

PJ 5360261

Joy stick

1шт.

10

PJ 7416695

Cowl kit

1шт.

12

PJ 7418233

Plunger guide

1шт.

13

PJ 7417112

Ремкомплект

1шт.

2

PJ 7410956

Universal joint

1шт.

3

PJ 7415653

Палец

1шт.

4

PJ 7417111

Пружина

1шт.

5

PJ 7417111

Пружина

1шт.

6

VOE 11712226

Комплект пружин

1шт.

7

PJ 7415656

Bellow

1шт.

8

PJ 7417129

Bellcrank

1шт.

9

PJ 6860221

Joy stick

1шт.

Выбрано товаров: 0