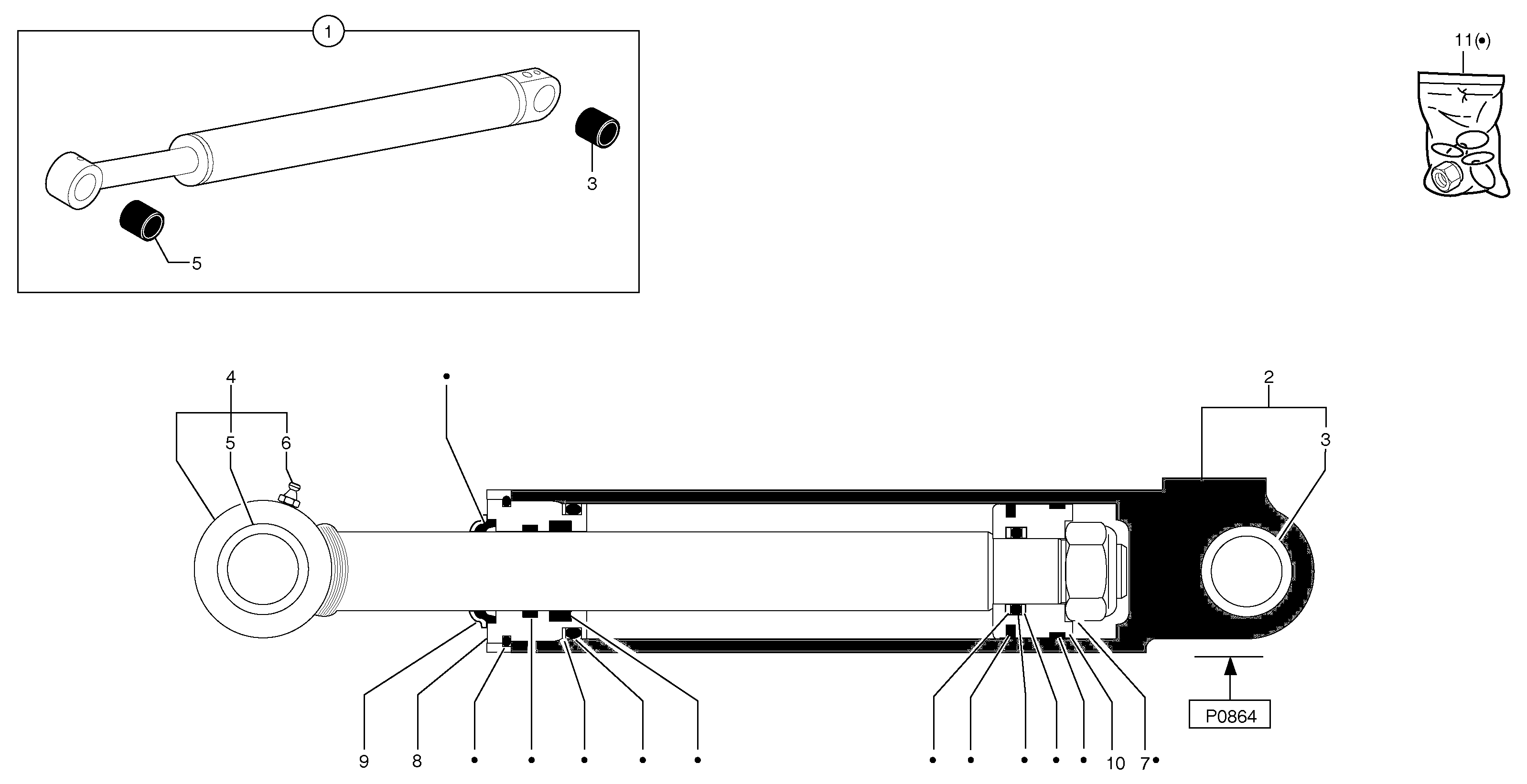
Запчасти Volvo EC15B 39569 Boom offset cylinder EC15B TYPE 272 XT/XTV

Схема запчастей Volvo EC15B - 39569 Boom offset cylinder EC15B TYPE 272 XT/XTV
FIT
1:1
100%

Артикул

Название

Примечание

Количество

1

PJ 5670864

Гидроцилиндр

1шт.

10

PJ 5950171

Поршень

1шт.

11

PJ 5960105

Sealing kit

1шт.

2

PJ 5930266

Cylinder housing

1шт.

3

PJ 3870119

Втулка

1шт.

4

PJ 5940343

цилиндр

1шт.

5

PJ 3870119

Втулка

1шт.

6

VOE 983718

Lubricating nipple

M8X1

1шт.

6

VOE 983718

Lubricating nipple

M8X1

1шт.

7

PJ 4450063

Гайка

Nylstop M24

1шт.

8

PJ 5950068

Сальник

1шт.

9

PJ 4740173

Protection

1шт.

Выбрано товаров: 12