Запчасти Volvo EC18C 67543 Boom offset cylinder EC18C

Схема запчастей Volvo EC18C - 67543 Boom offset cylinder EC18C
FIT
1:1
100%

Артикул

Название

Примечание

Количество

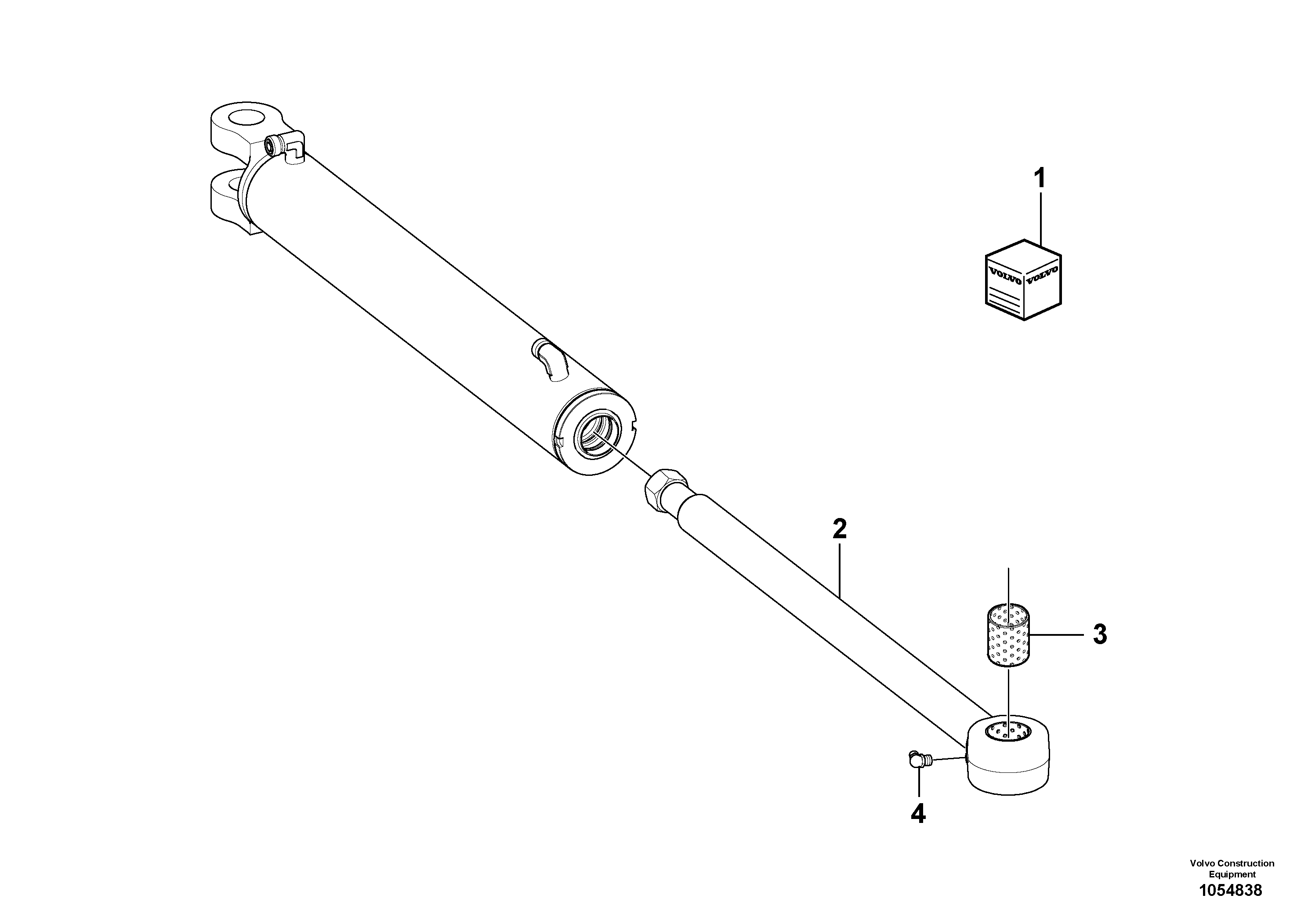
VOE 15618744

Гидроцилиндр

1шт.

1

VOE 15163186

Sealing kit

1шт.

2

VOE 15163187

Щуп

1шт.

3

VOE 11988467

Втулка

1шт.

4

VOE 11988877

Lubricating nipple

1шт.

4

VOE 11988877

Lubricating nipple

1шт.

Выбрано товаров: 6