Запчасти Volvo EC20 TYPE 263 XT/XTV 15018 Boom offset cylinder

Схема запчастей Volvo EC20 TYPE 263 XT/XTV - 15018 Boom offset cylinder
FIT
1:1
100%

Артикул

Название

Примечание

Количество

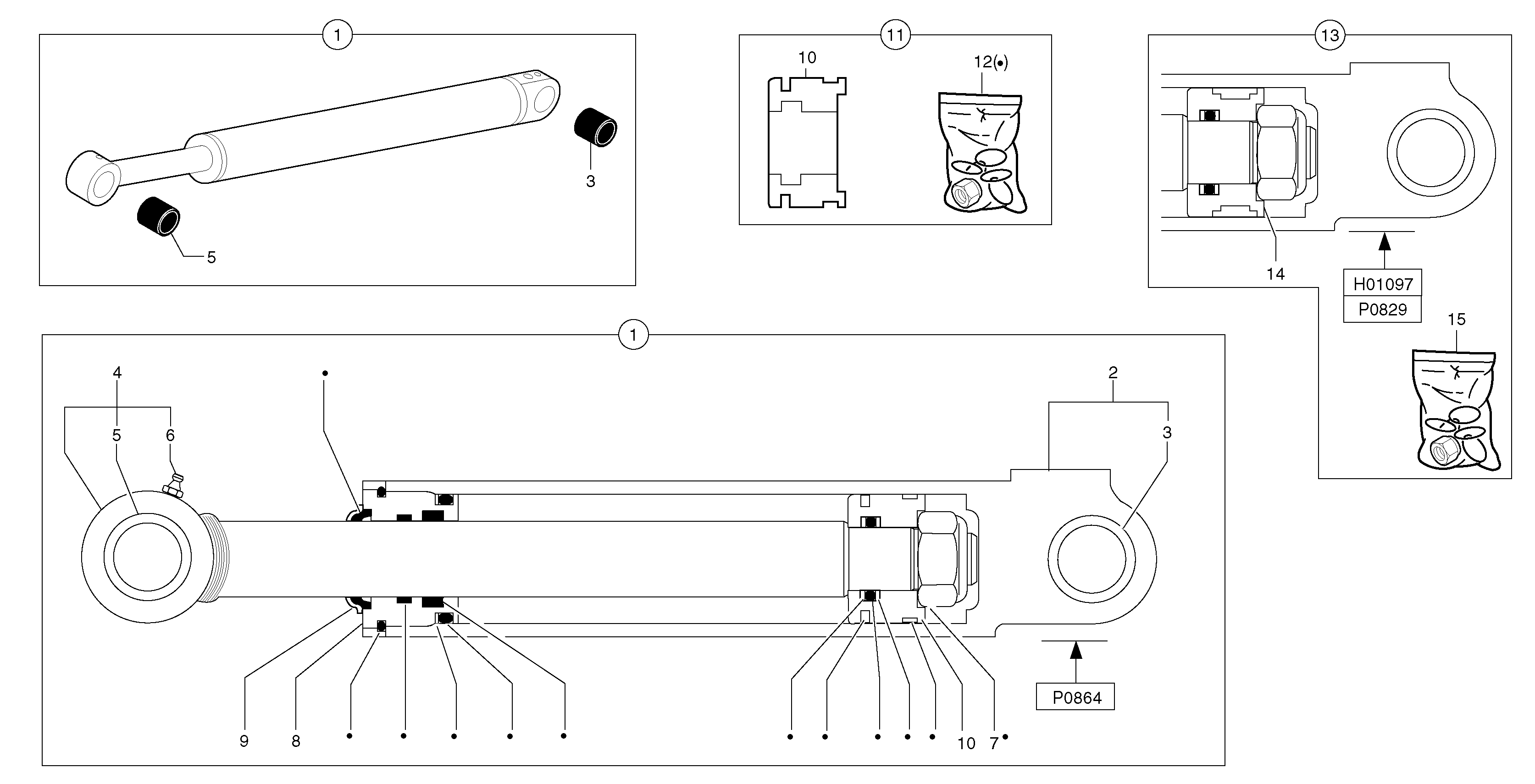
1

PJ 5670864

Гидроцилиндр

1шт.

10

PJ 5950171

Поршень

1шт.

11

PJ 5960106

Ремкомплект

1шт.

12

PJ 5960105

Sealing kit

1шт.

13

PJ 5670829

Гидроцилиндр

ORDER ITEM NO 1

1шт.

14

PJ 5950069

Поршень

ORDER ITEM NO 11

1шт.

15

PJ 5960049

Sealing Kit

ORDER ITEM NO 11

1шт.

2

PJ 5930266

Cylinder housing

1шт.

3

PJ 3870119

Втулка

1шт.

4

PJ 5940343

цилиндр

1шт.

5

PJ 3870119

Втулка

1шт.

6

VOE 983718

Lubricating nipple

M8X1

1шт.

6

VOE 983718

Lubricating nipple

M8X1

1шт.

7

PJ 4450063

Гайка

1шт.

8

PJ 5950068

Сальник

1шт.

9

PJ 4740173

Protection

1шт.

Выбрано товаров: 16