Качественные детали и логистика
Оригинальные и аналоговые запчасти с доставкой по России, Казахстану и Беларуси
©2022 PartSell ООО "Система" ИНН 2463123282 ОГРН 1212400004838
Центральный офис: г. Красноярск, Академика Киренского, д.87, пом.4
Телефон: 8 (800) 777-65-74 Email: zakaz@partsell.ru
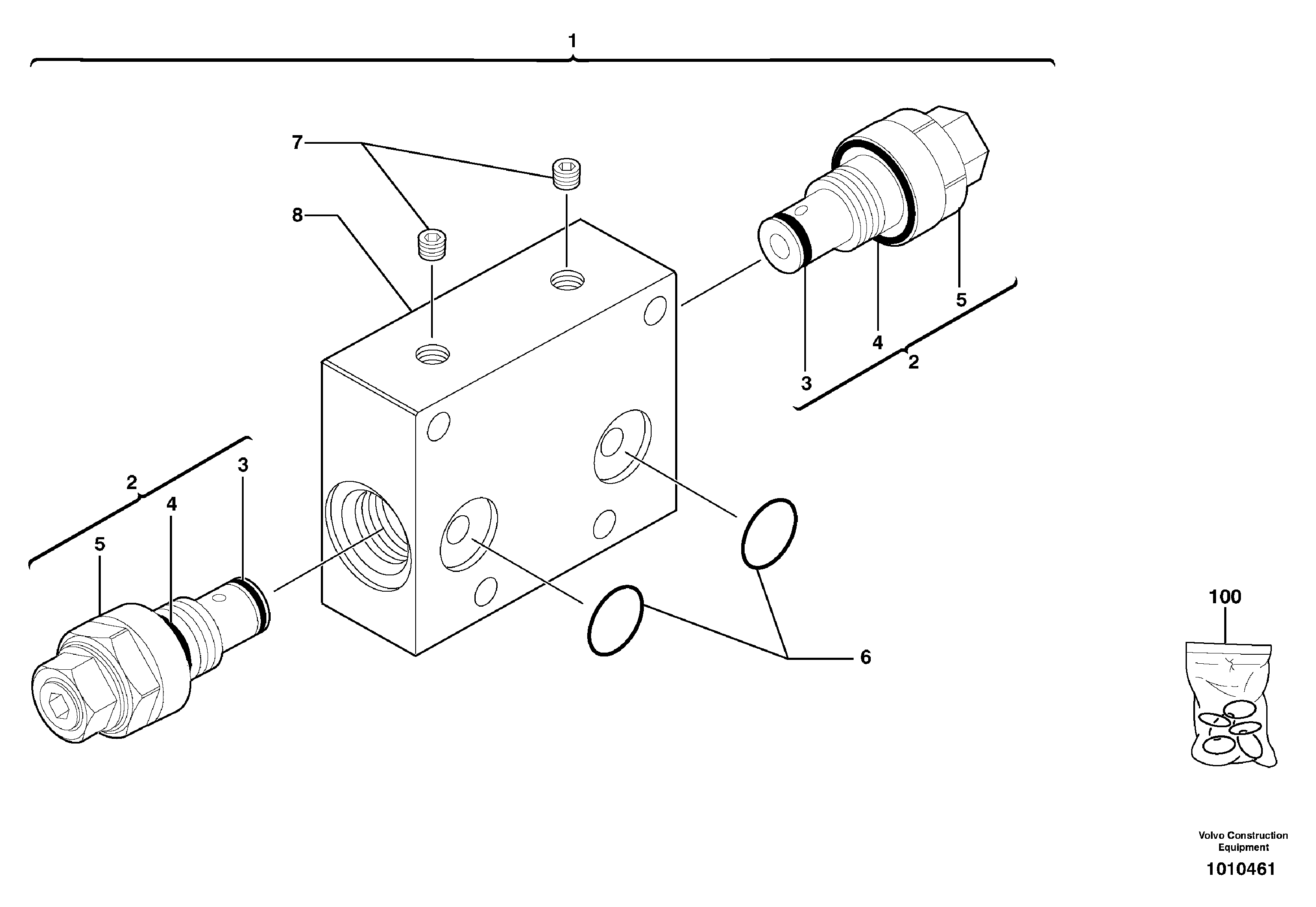
29365 Balancing valve ( travelling )
№
Артикул
Название
Примечание
Количество
1
PJ 7417274
Equlalizing valve
1шт.
100
PJ 7417250
Sealing Kit
KIT
2
PJ 7417273
Клапан предохранительный (разгрузочный, сброса давления)
3
PJ 7417269
Кольцо уплотнительное (О-кольцо)
4
PJ 7417266
6
PJ 7417265
7
PJ 7417272
Пробка (заглушка)
Выбрано товаров: 0