Запчасти Volvo EC27C 21594 Operators station : instrument panel ( right ) EC27C

Схема запчастей Volvo EC27C - 21594 Operators station : instrument panel ( right ) EC27C
FIT
1:1
100%

Артикул

Название

Примечание

Количество

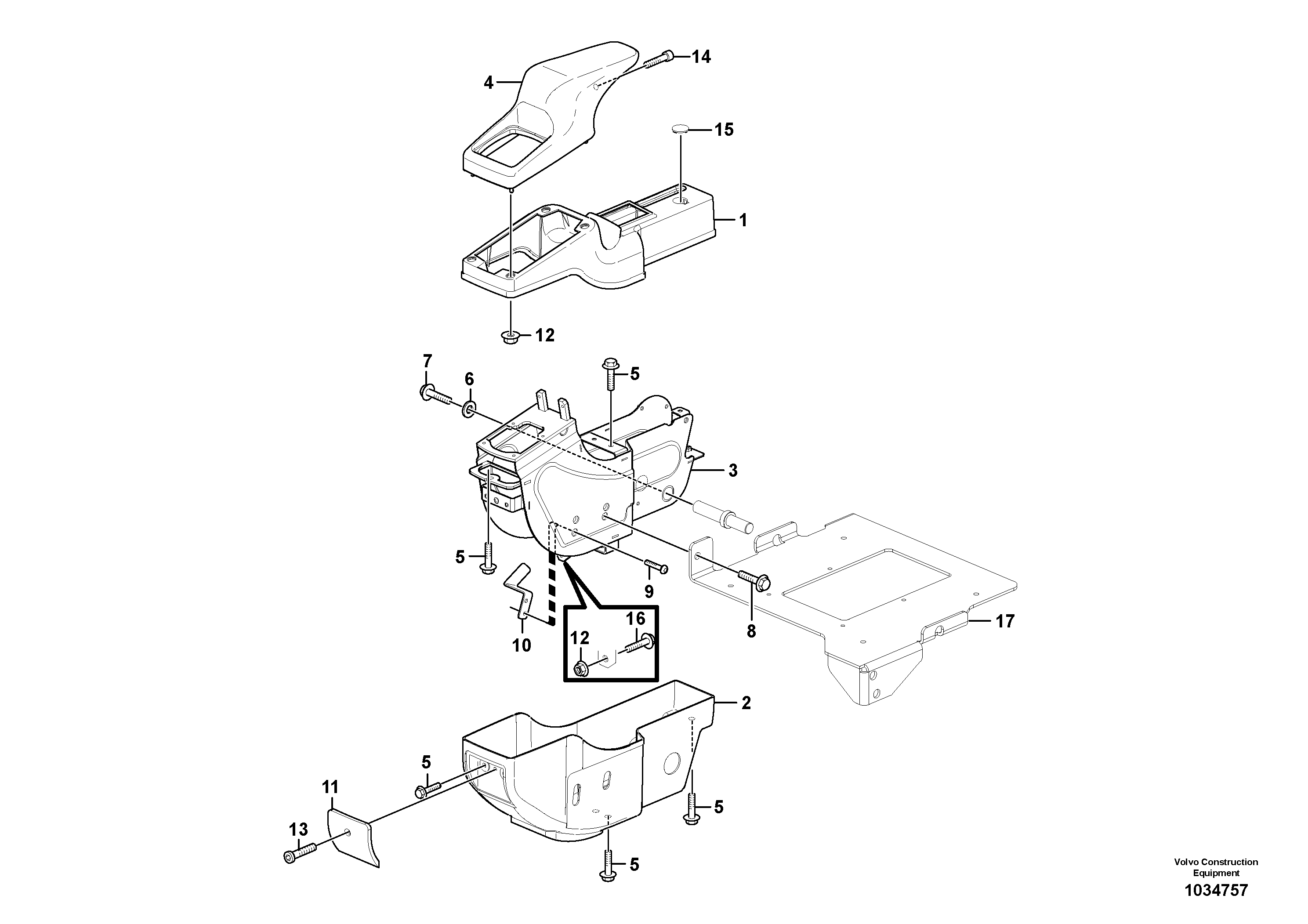
1

VOE 14554094

Control box

1шт.

10

VOE 11803731

Пластина

1шт.

11

VOE 14554098

Скоба (хомут)

1шт.

12

VOE 13945407

Гайка

1шт.

12

VOE 13945407

Гайка

1шт.

13

VOE 969846

Болт

1шт.

14

VOE 967631

Винт шестигранник (торцевой ключ)

1шт.

14

VOE 967631

Hex. socket screw

1шт.

15

VOE 14554095

Скоба (хомут)

1шт.

16

VOE 13947542

Болт

1шт.

16

VOE 13947542

Болт

1шт.

17

VOE 11802010

Кронштейн

1шт.

2

VOE 14554093

Control box

1шт.

3

VOE 14553161

Control box

1шт.

4

VOE 14519596

Крышка

1шт.

5

VOE 13946544

Болт

1шт.

5

VOE 13946544

Screw

1шт.

6

VOE 13960143

Шайба

1шт.

6

VOE 13960143

Шайба

1шт.

7

VOE 946441

Flange screw

1шт.

7

VOE 946441

Flange screw

1шт.

8

VOE 13965191

Screw

1шт.

8

VOE 13965191

Болт

1шт.

9

VOE 13969599

Болт

1шт.

9

VOE 13969599

Винт шестигранник (торцевой ключ)

1шт.

Выбрано товаров: 25