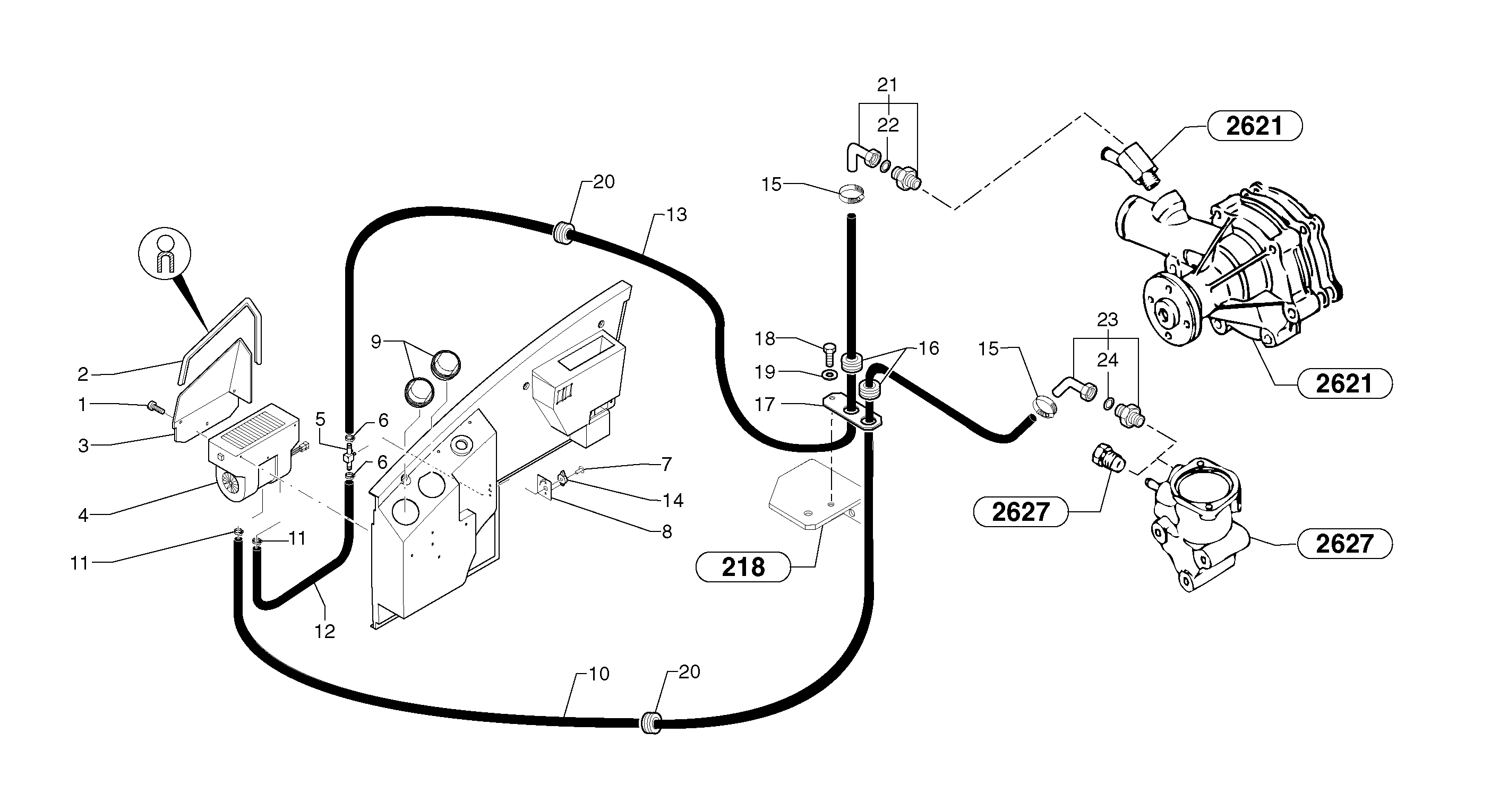
Запчасти Volvo EC30 TYPE 282 1535 Cab heating installation

Схема запчастей Volvo EC30 TYPE 282 - 1535 Cab heating installation
FIT
1:1
100%

Артикул

Название

Примечание

Количество

10

PJ 7418318

Шланг

1шт.

11

PJ 7417769

Зажим

1шт.

12

PJ 7418320

Шланг

1шт.

13

PJ 7418321

Шланг

1шт.

14

VOE 11803352

Клапан

1шт.

15

PJ 4690037

Зажим

1шт.

16

VOE 11806237

Уплотнительная втулка

1шт.

17

VOE 11804944

Опора

1шт.

18

PJ 4380043

Болт

HM8X20

1шт.

19

VOE 11804257

Шайба

M8

1шт.

2

PJ 7418319

Сальник

1шт.

20

VOE 11806220

Уплотнительная втулка

1шт.

21

PJ 6010013

Elbow

90 ?

1шт.

22

VOE 11803401

Шайба

1шт.

23

PJ 6010235

Elbow

45 ?

1шт.

24

VOE 11803401

Шайба

1шт.

3

VOE 11712646

Пластина

1шт.

4

PJ 7418323

Cab Heater

1шт.

5

VOE 11803352

Клапан

1шт.

6

PJ 7417769

Зажим

1шт.

7

PJ 7416802

Болт

1шт.

8

VOE 11803533

Adhesive

1шт.

9

PJ 7418324

Air Outlet

1шт.

Выбрано товаров: 23