Запчасти Volvo EC30 TYPE 282 1859 Balancing valve ( offset cylinder )

Схема запчастей Volvo EC30 TYPE 282 - 1859 Balancing valve ( offset cylinder )
FIT
1:1
100%

Артикул

Название

Примечание

Количество

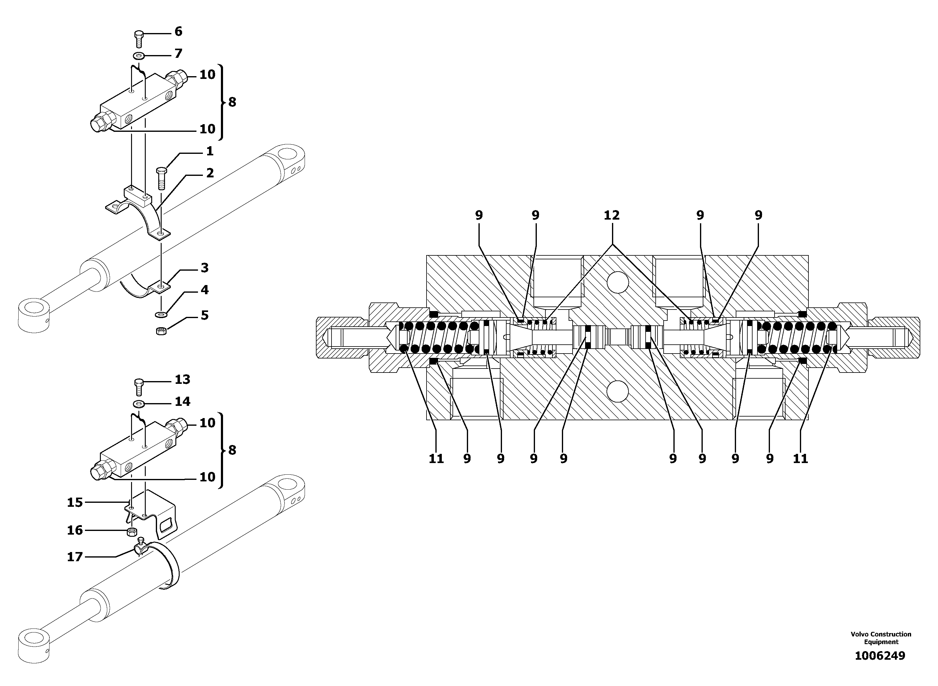
1

PJ 4380043

Болт

HM8X20

1шт.

10

PJ 7417521

Reed Valve

1шт.

11

PJ 7413025

Пружина

1шт.

12

PJ 7417415

Пружина

1шт.

13

PJ 4380048

Болт

1шт.

14

VOE 955894

Шайба

1шт.

14

VOE 955894

Шайба

1шт.

15

VOE 11800980

Valve support

1шт.

16

VOE 945408

Flange nut

1шт.

16

VOE 945408

Flange nut

1шт.

17

VOE 11802914

Зажим

1шт.

2

PJ 4690731

Flange Half

1шт.

3

PJ 4690403

Flange Half

1шт.

4

VOE 11804257

Шайба

M8

1шт.

5

VOE 983303

Гайка

HM8

1шт.

5

VOE 983303

Hexagon nut

HM8

1шт.

6

PJ 4380047

Болт

HM8X40

1шт.

7

VOE 11804257

Шайба

M8

1шт.

8

PJ 5360315

Equlalizing valve

1шт.

9

PJ 7417419

Sealing kit

1шт.

Выбрано товаров: 20