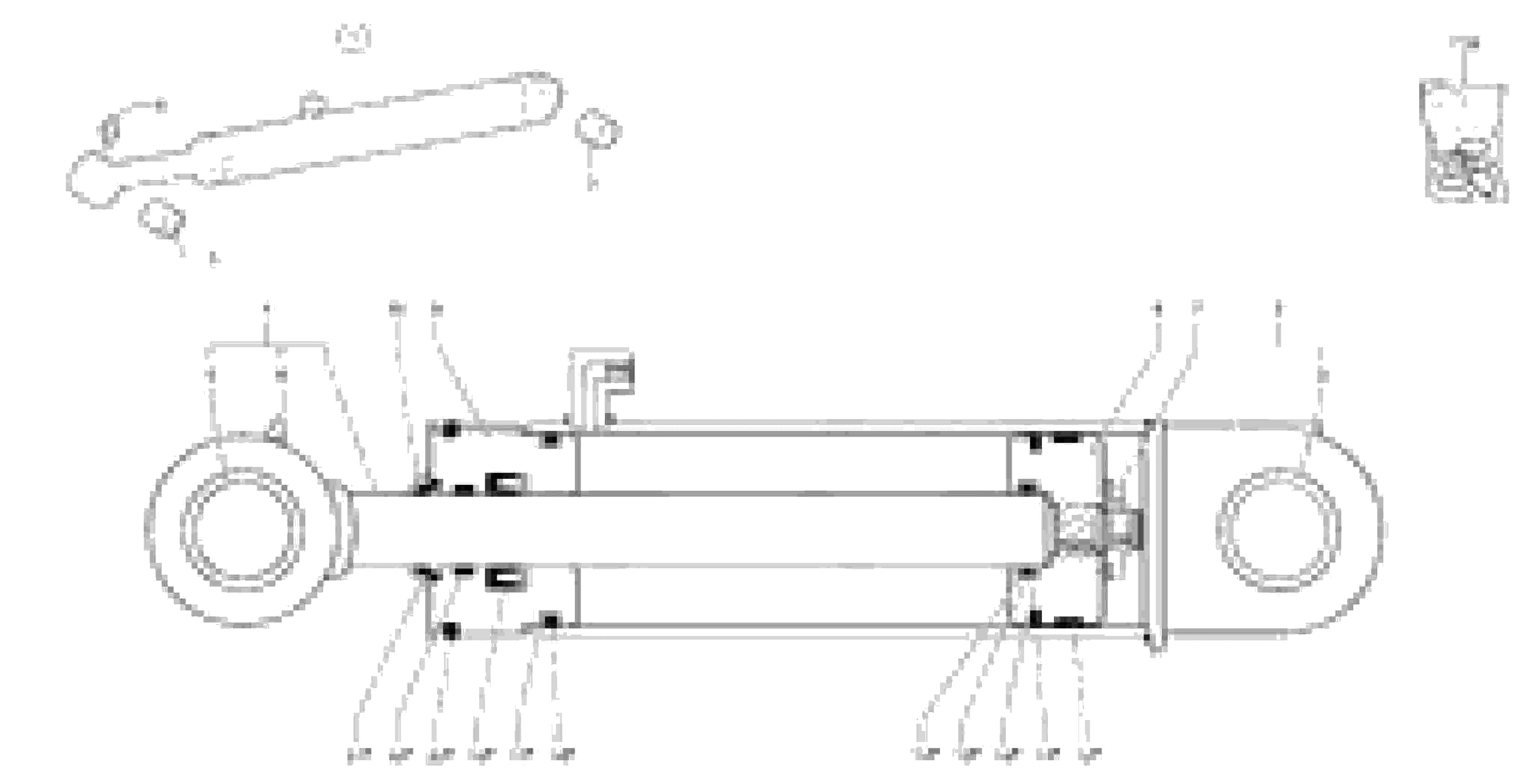
Запчасти Volvo EC30 TYPE 282 5614 Boom offset cylinder

Схема запчастей Volvo EC30 TYPE 282 - 5614 Boom offset cylinder
FIT
1:1
100%

Артикул

Название

Примечание

Количество

1

PJ 5670879

Гидроцилиндр

1шт.

10

PJ 4740175

Protection

1шт.

11

PJ 5960100

Sealing Kit

1шт.

12

PJ 6120090

Sealing

1шт.

13

PJ 6120086

Сальник

1шт.

14

PJ 4040145

Кольцо

1шт.

15

PJ 4040142

Кольцо уплотнительное (О-кольцо)

1шт.

16

PJ 4040258

Кольцо уплотнительное (О-кольцо)

1шт.

17

PJ 4040126

Кольцо

1шт.

18

PJ 6120042

Сальник

1шт.

19

PJ 6120045

Кольцо уплотнительное

1шт.

2

PJ 5930306

Cylinder housing

1шт.

20

PJ 4040123

Кольцо уплотнительное (О-кольцо)

1шт.

21

PJ 6130030

Scraper

1шт.

3

VOE 11802609

Втулка

1шт.

4

PJ 5940104

цилиндр

1шт.

5

PJ 3870029

Втулка

1шт.

6

VOE 983718

Lubricating nipple

M8X1

1шт.

6

VOE 983718

Lubricating nipple

M8X1

1шт.

7

PJ 5640198

Гайка

1шт.

8

PJ 5950179

Поршень

1шт.

9

PJ 5950083

Сальник

1шт.

Выбрано товаров: 22