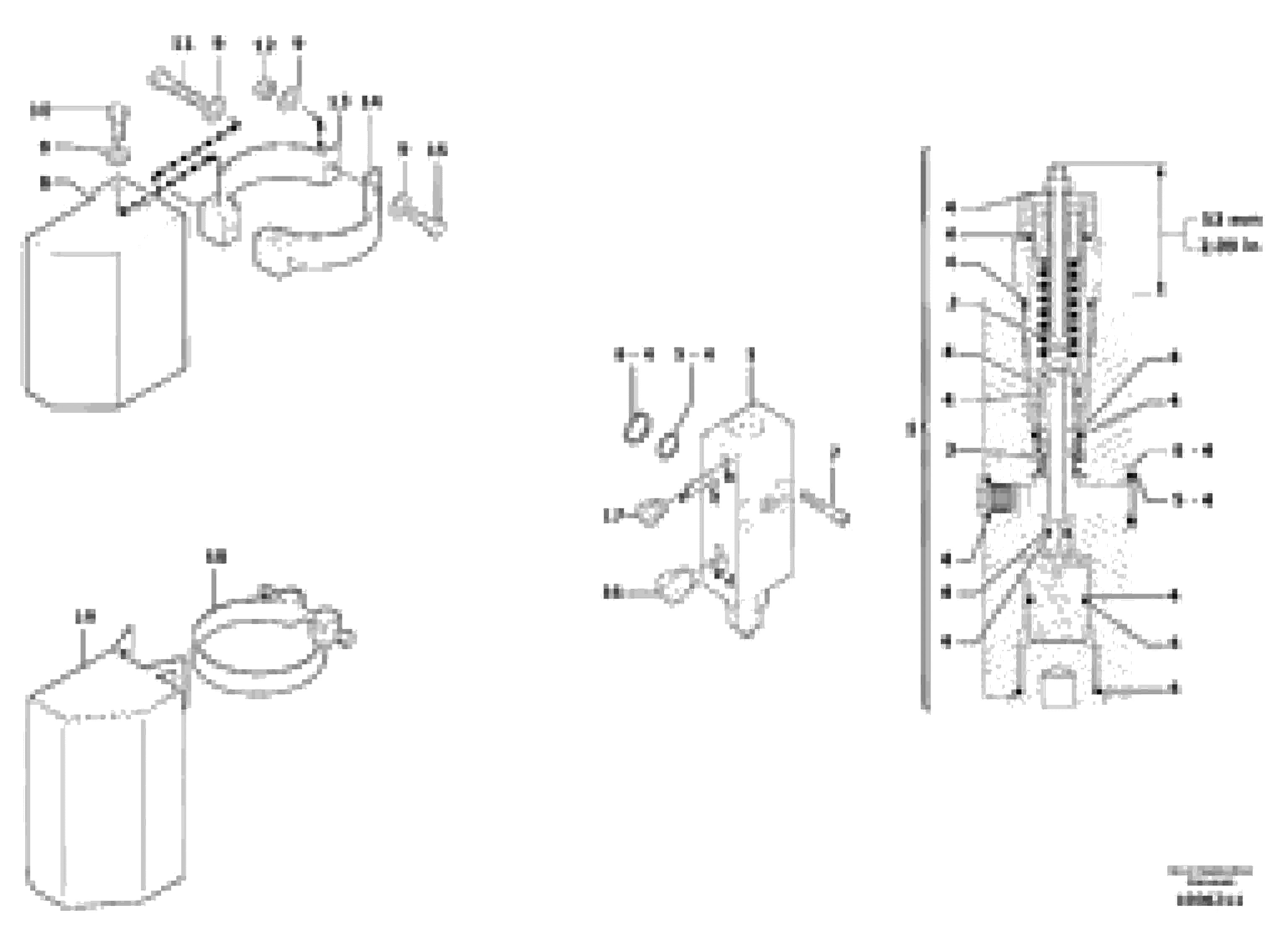
Запчасти Volvo EC35 TYPE 283 1810 Safety valve ( boom cylinder )

Схема запчастей Volvo EC35 TYPE 283 - 1810 Safety valve ( boom cylinder )
FIT
1:1
100%

Артикул

Название

Примечание

Количество

1

PJ 5360303

Клапан

1шт.

10

PJ 4380054

Болт

HM10X20

1шт.

11

PJ 4380059

Болт

HM10X50

1шт.

12

VOE 983304

Hexagon nut

HM10

1шт.

12

VOE 983304

Hexagon nut

HM10

1шт.

13

PJ 4690439

Flange Half

1шт.

14

PJ 4690438

Flange Half

1шт.

15

PJ 4380060

Болт

HM10X35

1шт.

16

VOE 11804321

Пробка (заглушка)

1шт.

17

VOE 11802284

Пробка (заглушка)

1шт.

18

VOE 11806264

Зажим

1шт.

19

VOE 11800981

Valve support

1шт.

2

PJ 7415934

Пружина

1шт.

3

PJ 7416940

Пружина

1шт.

4

PJ 7416942

Sealing Kit

1шт.

5

PJ 7416941

Кольцо уплотнительное (О-кольцо)

1шт.

6

PJ 7416939

Back-up ring

1шт.

7

PJ 4290015

Болт

CHc M8X45

1шт.

8

PJ 5040580

Apron

1шт.

9

VOE 960148

Шайба

MU10

1шт.

9

VOE 960148

Шайба

MU10

1шт.

Выбрано товаров: 21