Запчасти Volvo EC35 TYPE 283 105118 Цилиндр ковша

Схема запчастей Volvo EC35 TYPE 283 - 105118 Цилиндр ковша
FIT
1:1
100%

Артикул

Название

Примечание

Количество

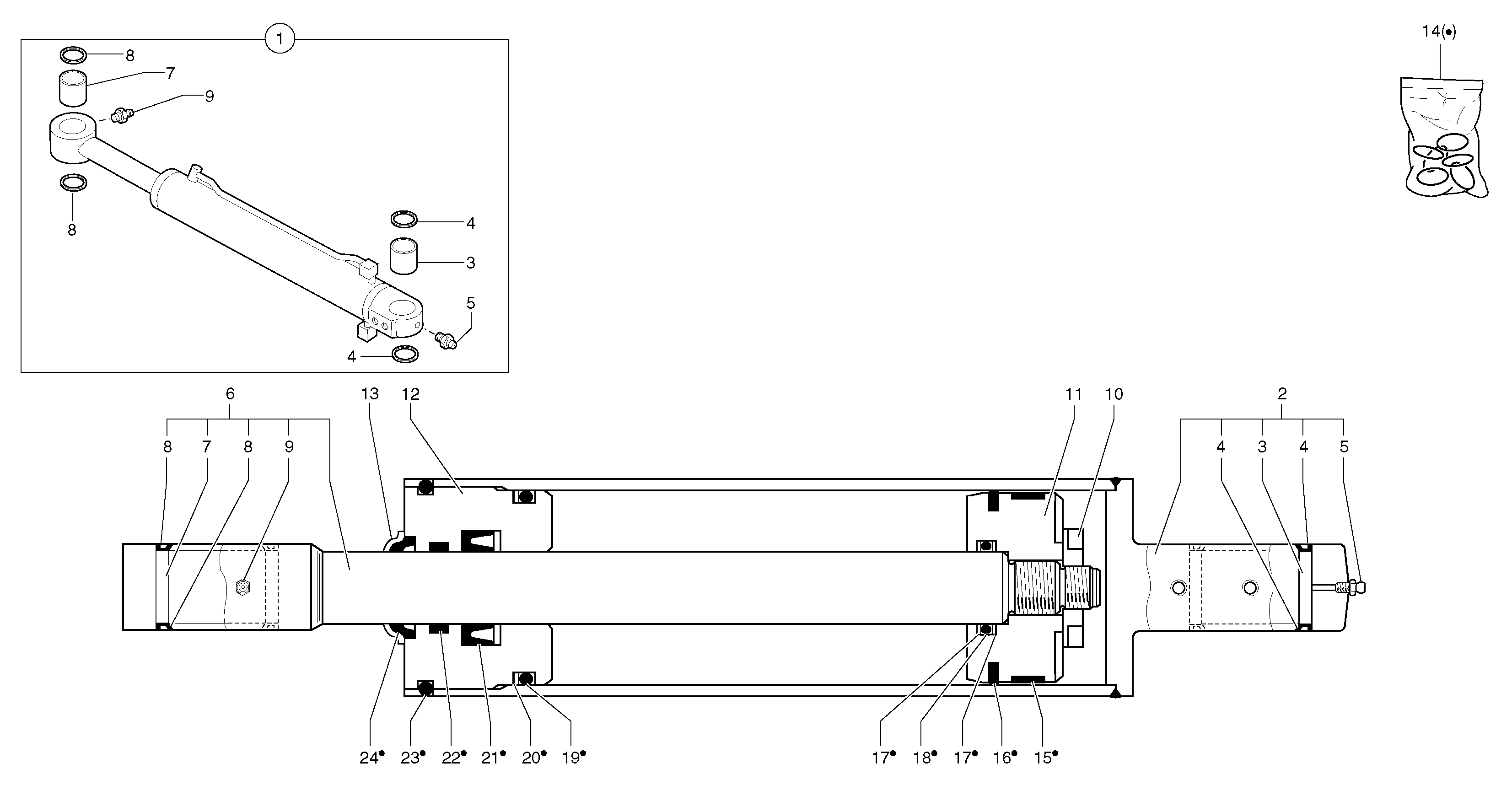
1

PJ 5670848

Цилиндр ковша

1шт.

10

PJ 5640198

Гайка

1шт.

11

PJ 5950179

Поршень

1шт.

12

PJ 5950083

Сальник

1шт.

13

PJ 4740175

Protection

1шт.

14

PJ 5960100

Sealing Kit

1шт.

15

PJ 6120090

Sealing

1шт.

16

PJ 6120086

Сальник

1шт.

17

PJ 4040145

Кольцо

1шт.

18

PJ 4040142

Кольцо уплотнительное (О-кольцо)

1шт.

19

PJ 4040258

Кольцо уплотнительное (О-кольцо)

1шт.

2

PJ 5930283

Cylinder housing

1шт.

20

PJ 4040126

Кольцо

1шт.

21

PJ 6120042

Сальник

1шт.

22

PJ 6120045

Кольцо уплотнительное

1шт.

23

PJ 4040123

Кольцо уплотнительное (О-кольцо)

1шт.

24

PJ 6130030

Scraper

1шт.

3

VOE 11802614

Кольцо

1шт.

4

VOE 11802250

Sealing

1шт.

5

VOE 983718

Lubricating nipple

M8X1

1шт.

5

VOE 983718

Lubricating nipple

M8X1

1шт.

6

PJ 5940383

Шток поршня

1шт.

7

VOE 11802614

Кольцо

1шт.

8

VOE 11802250

Sealing

1шт.

9

VOE 983718

Lubricating nipple

M8X1

1шт.

9

VOE 983718

Lubricating nipple

M8X1

1шт.

Выбрано товаров: 26