Запчасти Volvo EC50 12186 Safety valve EC50 TYPE 247

Схема запчастей Volvo EC50 - 12186 Safety valve EC50 TYPE 247
FIT
1:1
100%

Артикул

Название

Примечание

Количество

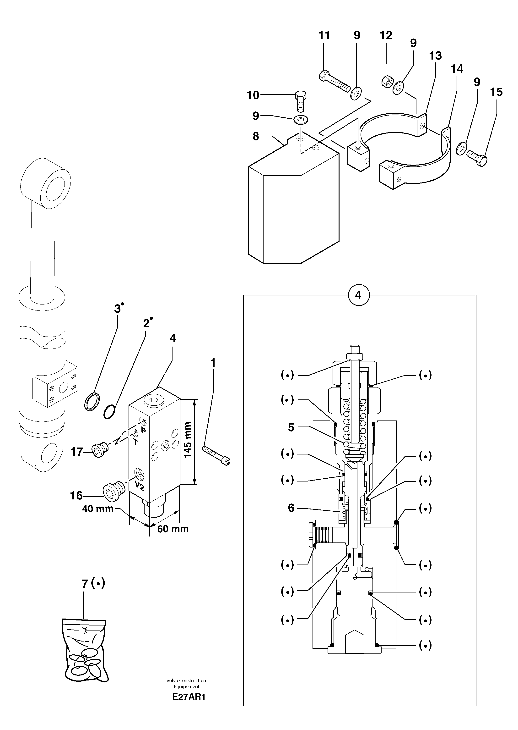
1

PJ 4290015

Болт

CHc M8X45

1шт.

10

PJ 4380054

Болт

HM10X20

1шт.

11

PJ 4380059

Болт

HM10X50

1шт.

12

VOE 983304

Hexagon nut

HM10

1шт.

12

VOE 983304

Hexagon nut

HM10

1шт.

13

PJ 4690441

Flange Half

1шт.

14

PJ 4690440

Flange Half

1шт.

15

PJ 4380060

Болт

HM10X35

1шт.

2

PJ 7416941

Кольцо уплотнительное (О-кольцо)

INCL IN 7

1шт.

3

PJ 7416939

Back-up ring

INCL IN 7

1шт.

4

PJ 5360303

Клапан

1шт.

5

PJ 7415934

Пружина

1шт.

6

PJ 7416940

Пружина

1шт.

7

PJ 7416942

Sealing Kit

1шт.

8

PJ 5040583

Apron

1шт.

9

VOE 960148

Шайба

MU10

1шт.

9

VOE 960148

Шайба

MU10

1шт.

Выбрано товаров: 17