Запчасти Volvo EC50 12194 Slewing-offset selector switch ( for valve ) EC50 TYPE 247

Схема запчастей Volvo EC50 - 12194 Slewing-offset selector switch ( for valve ) EC50 TYPE 247
FIT
1:1
100%

Артикул

Название

Примечание

Количество

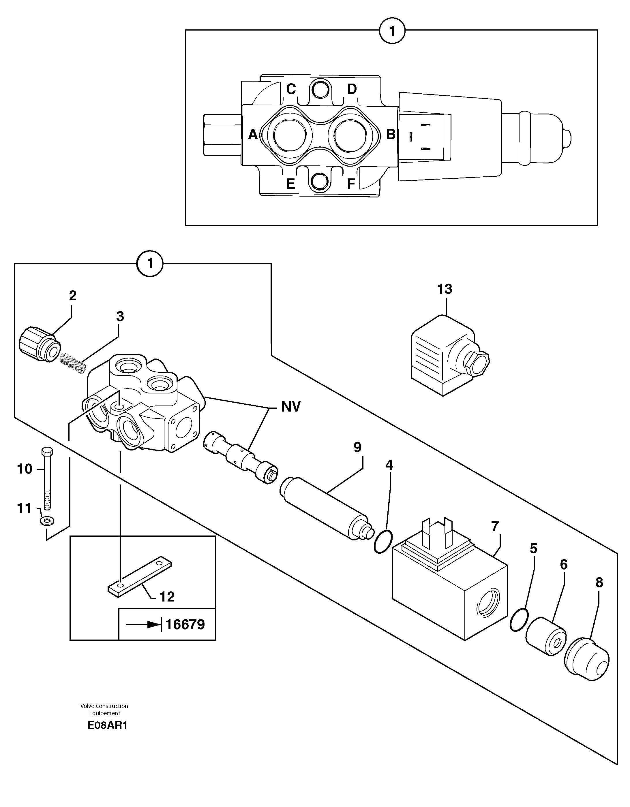
1

PJ 5360316

Selector

1шт.

10

PJ 4380040

Болт

S/N - 247.16679

1шт.

10

VOE 983245

Винт шестигранник

S/N 247.16680 -

1шт.

10

VOE 983245

Винт шестигранник

S/N 247.16680 -

1шт.

11

VOE 13955894

Шайба

MU8

1шт.

11

VOE 13955894

Шайба

MU8

1шт.

12

PJ 3310198

Прокладка

S/N - 247.16679

1шт.

13

PJ 5130051

Plug connector

1шт.

2

PJ 7417222

Переходник масляного фильтра

1шт.

3

PJ 7413225

Пружина

1шт.

4

PJ 7415993

Кольцо уплотнительное (О-кольцо)

1шт.

5

PJ 7415992

Кольцо уплотнительное (О-кольцо)

1шт.

6

PJ 7415994

Retaining

1шт.

7

PJ 7413230

Соленоид (электромагнитная катушка)

1шт.

8

PJ 7413227

Bellow

1шт.

9

PJ 7415989

Трубка

1шт.

Выбрано товаров: 0