Запчасти Volvo EC50 105131 Dipper arm cylinder EC50 TYPE 247

Схема запчастей Volvo EC50 - 105131 Dipper arm cylinder EC50 TYPE 247
FIT
1:1
100%

Артикул

Название

Примечание

Количество

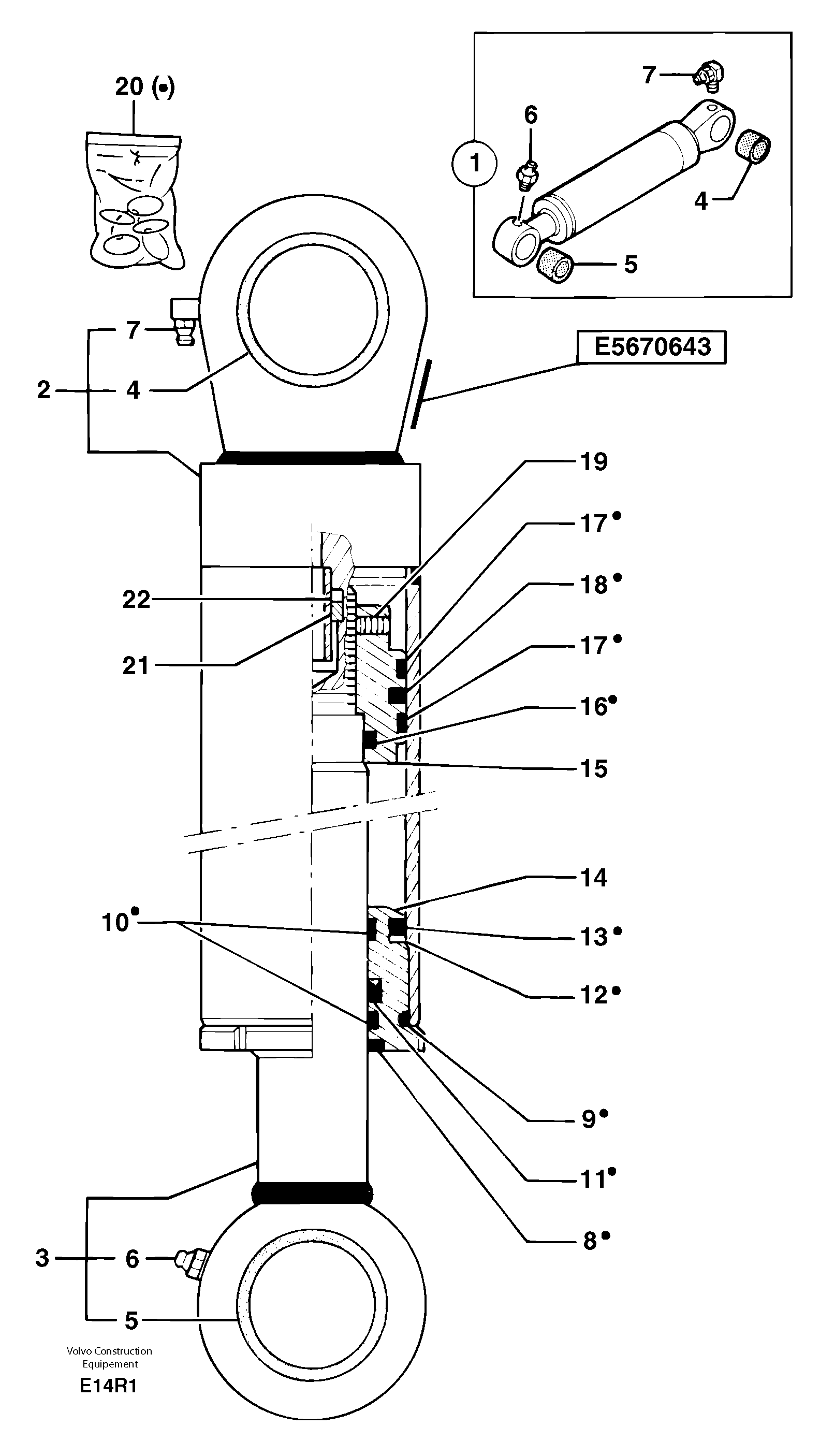
1

PJ 5670643

Dipper arm cyl

1шт.

14

PJ 7412485

Сальник

INCL IN 1

1шт.

15

PJ 7414568

Поршень

INCL IN 1

1шт.

19

PJ 7414197

Screw with pin

INCL IN 1

1шт.

20

PJ 7414566

Sealing Kit

1шт.

21

PJ 7414198

Втулка

INCL IN 1

1шт.

22

PJ 7414194

Кольцо стопорное

INCL IN 1

1шт.

3

PJ 7414621

Шток поршня

INCL IN 1

1шт.

4

PJ 3870204

Втулка

INCL IN 2

1шт.

5

PJ 3870204

Втулка

INCL IN 3

1шт.

6

VOE 983718

Lubricating nipple

INCL IN 3

1шт.

6

VOE 983718

Lubricating nipple

INCL IN 3

1шт.

7

VOE 983719

Lubricating nipple

INCL IN 2

1шт.

Выбрано товаров: 13