Запчасти Volvo EC50 7472 Гидроцилиндр отвала EC50VV TYPE 247

Схема запчастей Volvo EC50 - 7472 Гидроцилиндр отвала EC50VV TYPE 247
FIT
1:1
100%

Артикул

Название

Примечание

Количество

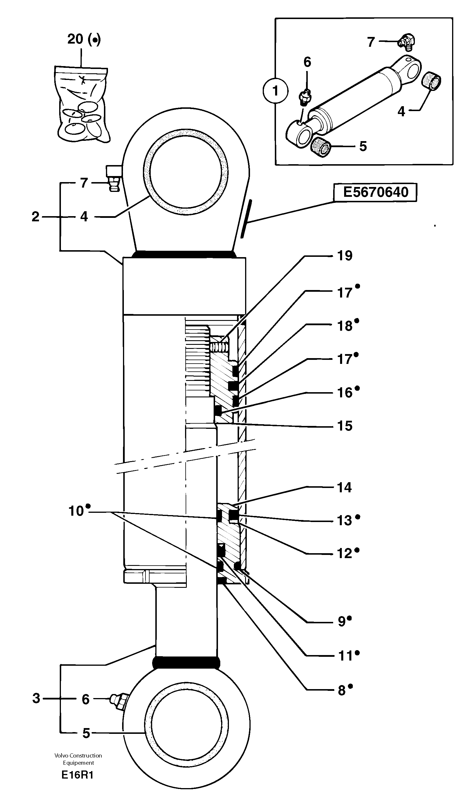
1

PJ 5670640

Гидроцилиндр отвала

1шт.

14

PJ 7414563

Сальник

INCL IN 1

1шт.

15

PJ 7412489

Поршень

INCL IN 1

1шт.

19

PJ 7414196

Screw with pin

INCL IN 1

1шт.

20

PJ 7414565

Sealing kit

1шт.

3

PJ 7414620

Шток поршня

1шт.

4

PJ 3870083

Втулка

INCL IN 2

1шт.

5

PJ 3870083

Втулка

INCL IN 3

1шт.

6

VOE 983718

Lubricating nipple

INCL IN 3

1шт.

6

VOE 983718

Lubricating nipple

INCL IN 3

1шт.

7

VOE 983718

Lubricating nipple

INCL IN 2

1шт.

7

VOE 983718

Lubricating nipple

INCL IN 2

1шт.

Выбрано товаров: 12